GM Service Manual Online
For 1990-2009 cars only

Sunroof Sunshade Cable Assembly Replacement Front

Removal Procedure

  1. Open the sunshade to the full open position.
  2. Remove the front sunroof window. Refer to Sunroof Window Replacement .
  3. Remove the center window panel. Refer to Sunroof Window Replacement .

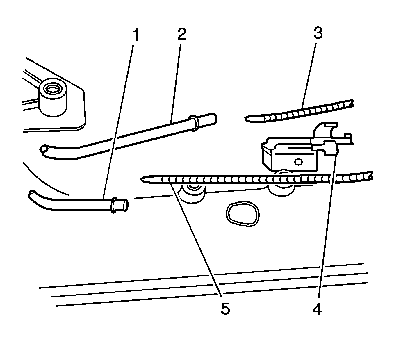
  4. Object Number: 903519  Size: SH
  5. Remove the front sunshade motor/actuator (2). Refer to Sunroof Sunshade Motor/Actuator Replacement .

  6. Object Number: 1326525  Size: SH
  7. Remove the screws on the sunshade link (2) to disengage the link from the sunshade cable barrel (4).

  8. Object Number: 1326526  Size: SH
  9. Remove the sunshade link (1) from the sunshade channel (2).
  10. Important: The sunshade has tension at all times. Use caution when removing the sunshade links at the same time.

  11. Use a flat-bladed tool on the top side of the barrel to push the cable assembly forward until the barrel end leaves the front track assembly.
  12. Pull outward on the cable to remove the sunshade cable from the sunroof window front track assembly.

Installation Procedure


    Object Number: 903767  Size: SH
  1. Install the bullet end of the sunshade cable to the end of the U-channel (3). The U-channel is located on the front of the track assembly (2).
  2. Push the cable into the U-channel until the barrel end of the cable reaches 25 mm (1 in) from the end of the U-channel.

  3. Object Number: 903352  Size: SH
  4. Use a flat-bladed tool (3) to push the cable (2) through the channel.

  5. Object Number: 903351  Size: SH
  6. Push the cable until the cable barrel is approximately 32 mm (1.25 in) from the end of the sunroof track from the rear.

  7. Object Number: 1326526  Size: SH
  8. Ensure that the sunshade is folded one-half turn over the sunshade channel.
  9. Install the sunshade link (1) into the channel.
  10. Notice: Refer to Fastener Notice in the Preface section.


    Object Number: 1326525  Size: SH
  11. Install the sunshade screw (1) to the sunshade link (2).
  12. Tighten
    Tighten the screw to 2 N·m (18 lb in).


    Object Number: 903519  Size: SH
  13. Install the front sunshade motor/actuator (2). Refer to Sunroof Sunshade Motor/Actuator Replacement .
  14. Install the center window panel. Refer to Sunroof Window Replacement .
  15. Install the front window panel. Refer to Sunroof Window Replacement .
  16. Perform the front sunshade initialization procedure. Refer to Sunroof Front Window/Sunshade Initialization Process .

Sunroof Sunshade Cable Assembly Replacement Rear

Removal Procedure

  1. Open the rear sunshade.
  2. Remove the headliner. Refer to Headlining Trim Panel Replacement in Interior Trim.
  3. Remove the center and rear vent window. Refer to Sunroof Window Replacement .

  4. Object Number: 903519  Size: SH
  5. Remove the rear sunshade motor/actuator (6).
  6. Remove the rear sunshade. Refer to Sunroof Sunshade Assembly Replacement .
  7. Mark the position of the rear track to frame for installation.
  8. Remove the screws to the rear track assembly.

  9. Object Number: 903344  Size: SH
  10. Lower the rear track (4). Disconnect the rear track extension (2) from the track.
  11. Remove the rear extension.
  12. Disengage the sunshade drive tube from the track.
  13. From the barrel end of the cable, carefully push the sunshade cable from the track.
  14. Hold onto the barrel end of the cable. Pull the cable from the return and drive tube of the motor/actuator compartment.
  15. Remove the sunshade cable from the vehicle.

Installation Procedure


    Object Number: 903341  Size: SH
  1. Position the sunshade cable (3) to the drive tube (2).
  2. Push the sunshade cable through the tube into the motor/actuator compartment.
  3. With the barrel end of the sunroof/sunshade cable, guide the cable into the rear track channel.
  4. Inspect the position of the barrel on the opposite track to ensure the cables are in the same position.

  5. Object Number: 903345  Size: SH
  6. Secure the rear track extension (2) and drive tubes (4) to the rear track (3).
  7. Position the rear track to the sunroof frame.
  8. Ensure that the track aligns with the marks made during the Removal Procedure.
  9. Notice: Refer to Fastener Notice in the Preface section.

  10. Install the rear track screws.
  11. Tighten
    Tighten the screws to 5 N·m (44 lb in).

  12. Inspect the cross-vehicle measurements on the rear tracks.
  13. Install the rear sunshade assembly.

  14. Object Number: 903519  Size: SH
  15. Install the rear sunroof/sunshade motor/actuator (6)
  16. Install the rear vent window and center window panel. Refer to Sunroof Window Replacement .
  17. Install the headliner. Refer to Headlining Trim Panel Replacement in Interior Trim.
  18. Perform the rear vent window sunshade initialization process. Refer to Sunroof Rear Window Initialization Process .