GM Service Manual Online
For 1990-2009 cars only

Sunroof Sunshade Assembly Replacement Rear

Removal Procedure

  1. Open the rear sunshade (5) to the full open/forward position.
  2. Remove the headliner. Refer to Headlining Trim Panel Replacement in Interior Trim.
  3. Remove the rear sunroof vent window. Refer to Sunroof Window Replacement .
  4. Important: Prior to releasing the sunshade track retainers from the sunshade cable barrels, ensure that the sunshade is at the full open position.


    Object Number: 903347  Size: SH
  5. Using a medium flat-bladed tool, release the sunroof/sunshade screws (2) from the cable assembly (4).

  6. Object Number: 903343  Size: SH
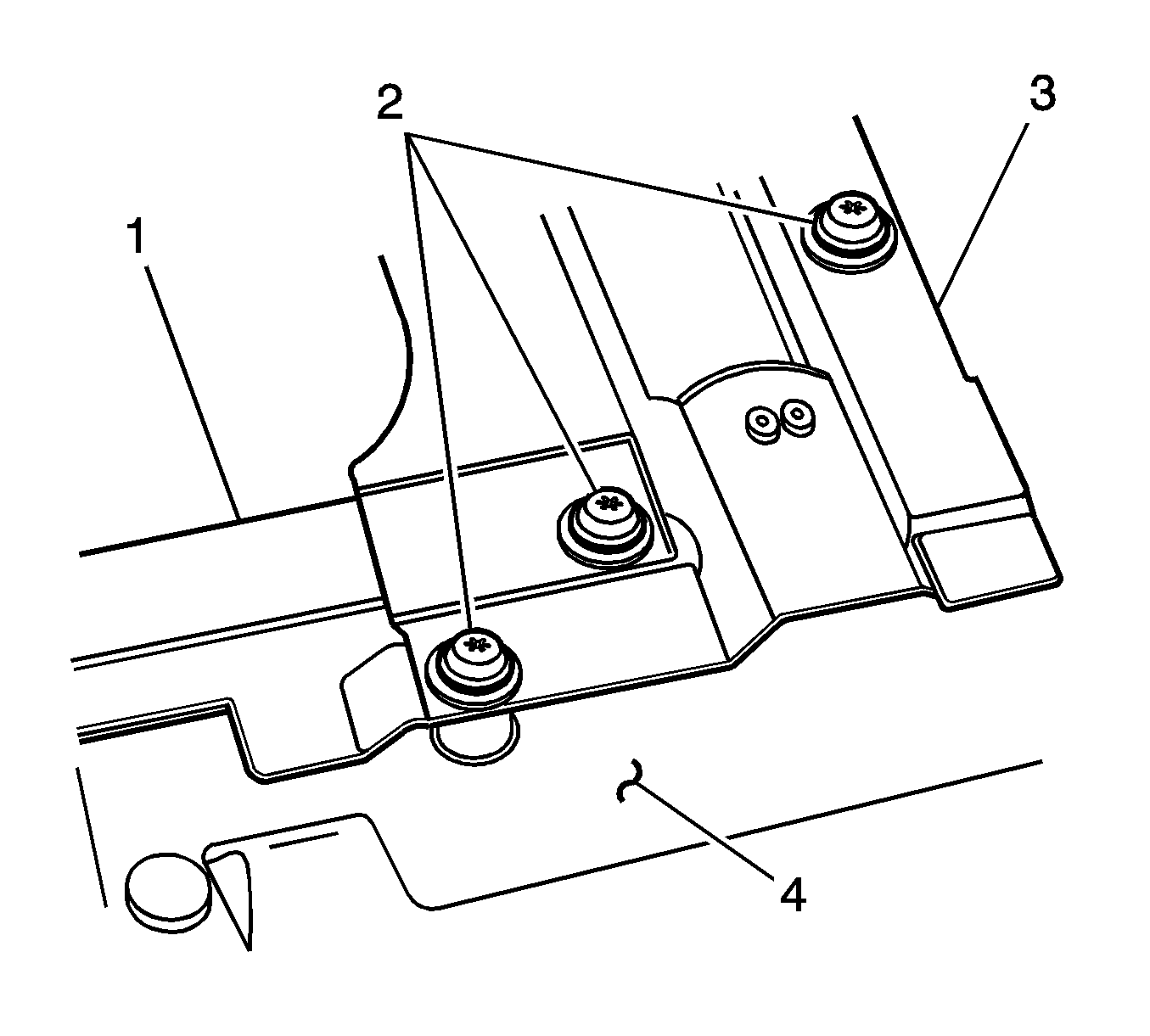
  7. Remove the screws (2) securing the sunshade assembly (3) to the lower sunroof frame assembly.
  8. With the sunshade assembly screws removed, gently move forward one corner of the assembly in order to release the sunshade from the rear track assembly.
  9. Remove the sunshade assembly from the vehicle.

Installation Procedure

  1. Position the sunroof/sunshade assembly to the rear sunroof track assembly.
  2. Important: Install one side of the sunroof/sunshade first, then move the other side rearward in order to locate the sunshade retainer into the front track channel.


    Object Number: 903763  Size: SH
  3. Prior to installing the sunshade assembly to the bottom of the sunroof frame, pull the sunshade material (1) approximately 75 mm (3 in) outward from the assembly (2). Pull the material outward.
  4. Position the sunroof/sunshade assembly to the sunroof frame.
  5. Notice: Refer to Fastener Notice in the Preface section.


    Object Number: 903343  Size: SH
  6. Install the sunroof/sunshade assembly screws (2).
  7. Tighten
    Tighten the 6 screws to 5 N·m (44 lb in).


    Object Number: 903349  Size: SH
  8. Pull the sunshade material outward. Install the sunshade screws (1) into the sunshade channel (2).

  9. Object Number: 903347  Size: SH
  10. Use downward thumb (1) pressure to press on the retainer (2) until the retainer locks over the sunshade cable barrel (4).
  11. Install the headliner. Refer to Headlining Trim Panel Replacement in Interior Trim.
  12. Install the rear sunroof vent window. Refer to Sunroof Window Replacement .
  13. Perform the rear vent window sunshade initialization process. Refer to Sunroof Rear Window Initialization Process .

Sunroof Sunshade Assembly Replacement Front

Removal Procedure


    Object Number: 1326525  Size: SH
  1. Open the front sunshade to the full open/rearward position.
  2. Remove the headliner. Refer to Headlining Trim Panel Replacement in Interior Trim
  3. Remove the front sunroof window. Refer to Sunroof Window Replacement .
  4. Important: Prior to releasing the sunshade track retainers from the sunshade cable barrels, ensure that the sunshade is at the full open position.

  5. Remove the sunshade screw (1) from the sunshade link (2) from the cable assembly.

  6. Object Number: 903343  Size: SH
  7. Remove the screws (2) securing the sunshade assembly (3) to the lower sunroof frame assembly.

  8. Object Number: 903752  Size: SH
  9. With the sunshade assembly screws removed, gently move forward one corner of the assembly (3) in order to release the sunshade from the front track assembly.
  10. Remove the sunshade assembly from the vehicle.

Installation Procedure


    Object Number: 903752  Size: SH
  1. Position the sunroof/sunshade assembly to the front sunroof track assembly.
  2. Important: Install one side of the sunroof/sunshade (3) first, then move the other side rearward in order to locate the sunshade retainer (2, 4) into the front track (1) channel.


    Object Number: 903763  Size: SH
  3. Prior to installing the sunshade assembly to the bottom of the sunroof frame, pull the sunshade material (1) approximately 75 mm (3 in) outward from the assembly (2). Pull the material outward.
  4. Position the sunroof/sunshade assembly to the sunroof frame.
  5. Notice: Refer to Fastener Notice in the Preface section.


    Object Number: 903343  Size: SH
  6. Install the sunroof/sunshade assembly screws (2).
  7. Tighten
    Tighten the 6 screws to 5 N·m (44 lb in).


    Object Number: 1326526  Size: SH
  8. Pull the sunshade material outward. Install the sunshade link (1) into the sunshade channel (2).

  9. Object Number: 903347  Size: SH
  10. Position the sunshade link (2) until the link is aligned over the sunshade cable barrel (4).
  11. Use downward thumb pressure (1) to press on the retainer (2) until the retainer locks over the sunshade cable barrel (4).
  12. Install the headliner. Refer to Headlining Trim Panel Replacement in Interior Trim.
  13. Install the front sunroof vent window. Refer to Sunroof Window Replacement .
  14. Perform the front window/sunshade initialization process. Refer to Sunroof Front Window/Sunshade Initialization Process .