GM Service Manual Online
For 1990-2009 cars only

Removal Procedure

  1. Open the sunroof completely.
  2. Remove the headliner. Refer to Headlining Trim Panel Replacement in Interior Trim.
  3. Remove the center window panel. Refer to Sunroof Window Replacement .

  4. Object Number: 903519  Size: SH
  5. Remove the front window motor (4) from the motor/actuator compartment. Refer to Sunroof Motor/Actuator Replacement .
  6. Remove the front sunshade motor/actuator (2). Refer to Sunroof Motor/Actuator Replacement .

  7. Object Number: 903752  Size: SH
  8. Remove the front sunshade assembly. Refer to Sunroof Sunshade Assembly Replacement .
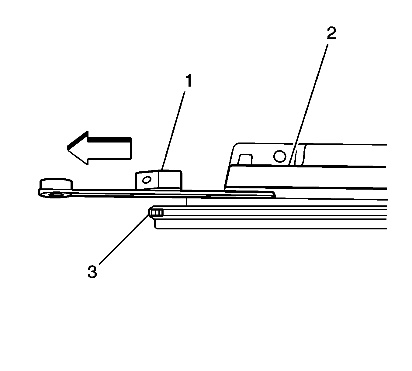
  9. Remove the 2 screws from the front track extensions.
  10. Remove the underside track to frame screws.

  11. Object Number: 903345  Size: SH
  12. Disengage the front track from the sunroof motor/actuator compartment drive tube blocks (2).
  13. Lower the track assembly into the vehicle.
  14. Pull the drive cable from the drive tube front window cam assembly at the green end.
  15. Remove the track from the vehicle.

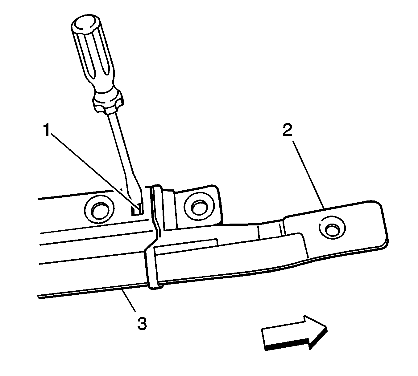
  16. Object Number: 903758  Size: SH
  17. Remove the front cam (2) from the track (3).

  18. Object Number: 903770  Size: SH
  19. Pull the cam/cable assembly (1) from the inner front track (2).

Installation Procedure


    Object Number: 903769  Size: SH
  1. Position the trolley cable assembly (3) to the front track assembly (2).

  2. Object Number: 903341  Size: SH
  3. Install the window guide cables (5) with the green ends and the sunshade cable (3) to the drive cable tubes (1) at the front inner edge of the sunroof motor/actuator compartment.
  4. Push the cables evenly to the full rearward position within the track.
  5. Guide the cables into the sunroof motor/actuator assembly drive tube.

  6. Object Number: 901556  Size: SH
  7. Install the front track cam (4) to the front track (1). Lock the front cam (2) to the front track assembly.

  8. Object Number: 903344  Size: SH
  9. Install the retainer assembly (2) to the driver tubes (1, 5).
  10. Secure the bottom half of the retainer to the track (3).
  11. Position the front track assembly to the underside of the sunroof frame.
  12. Ensure that the tracks are parallel.
  13. Loosely install the track screws.

  14. Object Number: 903343  Size: SH
  15. Do not install the 2 rear sunshade assembly screws (2). The screws will be installed when the sunshade assembly is installed.
  16. Notice: Refer to Fastener Notice in the Preface section.

  17. Ensure that the tracks are parallel.
  18. Tighten

        • Tighten the center 5 screws to 9 N·m (44 lb in).
        • Tighten the front 5 screws to 9 N·m (44 lb in).

    Object Number: 1361155  Size: SH
  19. Ensure that the sunshade barrels are slid rearward to the sunshade open position.

  20. Object Number: 903763  Size: SH
  21. Install the front sunshade assembly. Refer to Sunroof Sunshade Assembly Replacement .
  22. Install the front and center windows. Refer to Sunroof Window Replacement .
  23. Install the headliner. Refer to Headlining Trim Panel Replacement .
  24. Reposition the front and rear trim lace to the headliners.
  25. Perform the Front Window/Sunshade Initialization Process. Refer to Sunroof Front Window/Sunshade Initialization Process .