Removal Procedure
- Remove the adjustable brake pedal from the vehicle. Refer to
Brake Pedal Assembly Replacement
.
- In order to release the adjustable brake pedal cable from the adjustable brake pedal motor, carefully squeeze
the collar of the cable and pull outward from the motor.
Important: Only remove the staked material or the head of the insert.
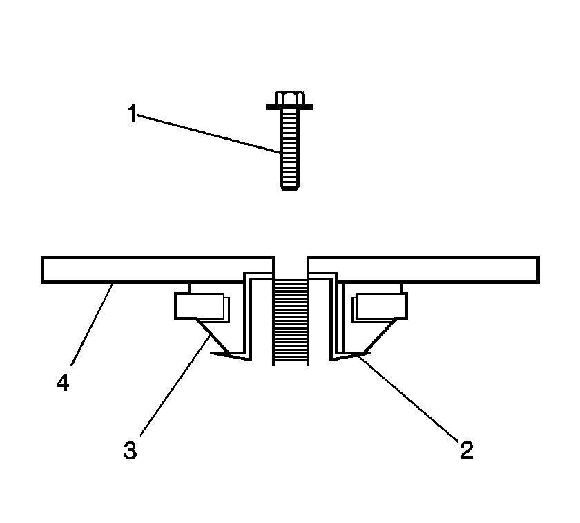
- To remove the head of the factory motor inserts use a 3/16 inch drill bit. Carefully drill the head of the factory motor insert (2)
from the bottom side of the adjustable brake pedal motor bracket (4).
- Remove the adjustable brake pedal motor.
Installation Procedure
Important: Ensure that the adjustable accelerator pedal and adjustable brake pedal are synchronized in the full forward front of vehicle position.
- Position the adjustable brake pedal motor to the adjustable brake pedal motor bracket.
| | Important: Remove the new motor inserts, reuse original inserts.
|
| 1.1. | Install the motor insert (2) into the motor grommet (3) of the new motor. |
Notice: Refer to Fastener Notice in the Preface section.
| 1.2. | Install the motor to motor bracket bolts (1) to secure the motor to the motor plate (4). |
Tighten
Tighten the bolts to 4 N·m (36 lb in).
Important: Ensure that the adjustable accelerator pedal and adjustable brake pedal are synchronized in the full forward front of vehicle position.
Important: Do not exceed 0.5 N·m (4.43 lb in) of torque.
- Synchronize the accelerator pedal to the full forward, front of vehicle position. Using an adjustable wrench on the cable end and rotate the cable to move the pedal to the full forward front of vehicle position.
- Remove the adjustable wrench from the cable.
- Connect the adjustable brake pedal cable to the motor.
- Insert a square drive tool into the adjustable brake pedal motor.
Important: Do not exceed 0.5 N·m (4.43 lb in) of torque.
- Synchronize the adjustable brake pedal to the full forward, front of vehicle position. Carefully rotate the adjustable brake pedal motor until the brake pedal is in the full forward front of vehicle position.
- Remove the square drive tool.
- Install the adjustable brake pedal to the vehicle. Refer to
Brake Pedal Assembly Replacement
.