GM Service Manual Online
For 1990-2009 cars only
Makes
🢒
Cadillac
🢒
2005
🢒
SRX
🢒
Transmission/Transaxle
🢒
Automatic Transmission - 5L40-E/5L50-E
🢒 Power Roof Systems Component Views
Figure
1:
Sunroof (CF5)
(1)
Sunroof Control Module
(2)
Front Sunshade Control Module
(3)
C311
(4)
C315
(5)
Front Sunshade Switch
(6)
Sunroof Switch
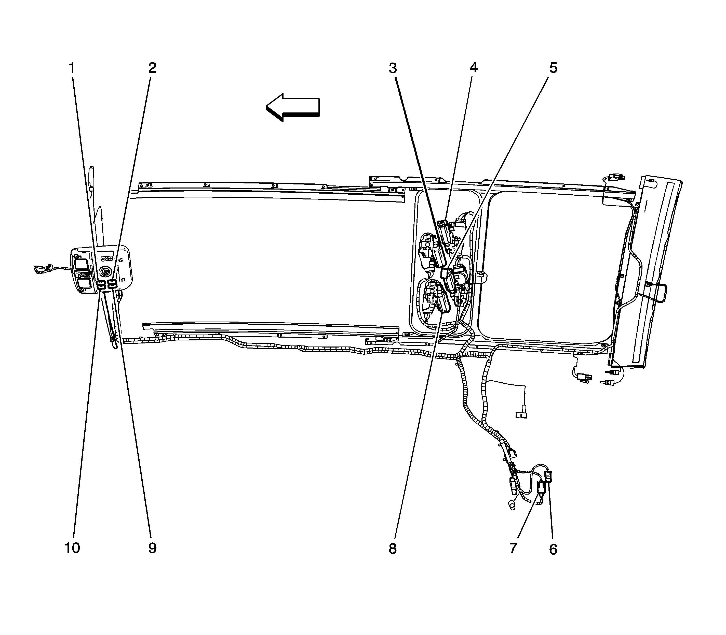
Figure
2:
Sunroof (C3B)
(1)
Sunroof Switch
(2)
Not Used
(3)
Sunroof Control Module
(4)
Rear Sunshade Control Module
(5)
Not Used
(6)
C311
(7)
C315
(8)
Front Sunshade Control Module
(9)
Rear Sunshade Switch
(10)
Front Sunshade Switch