GM Service Manual Online
For 1990-2009 cars only

Tools Required

J 28410 Gasket Remover

Cleaning Procedure

  1. Remove any old thread sealant, gasket material or sealant using J 28410 .
  2. Clean the oil pan and oil pan components in solvent.
  3. Clean out debris from the bolt holes.
  4. Caution: Refer to Safety Glasses Caution in the Preface section.

  5. Dry the oil pan and oil pan components with compressed air.

Inspection Procedure


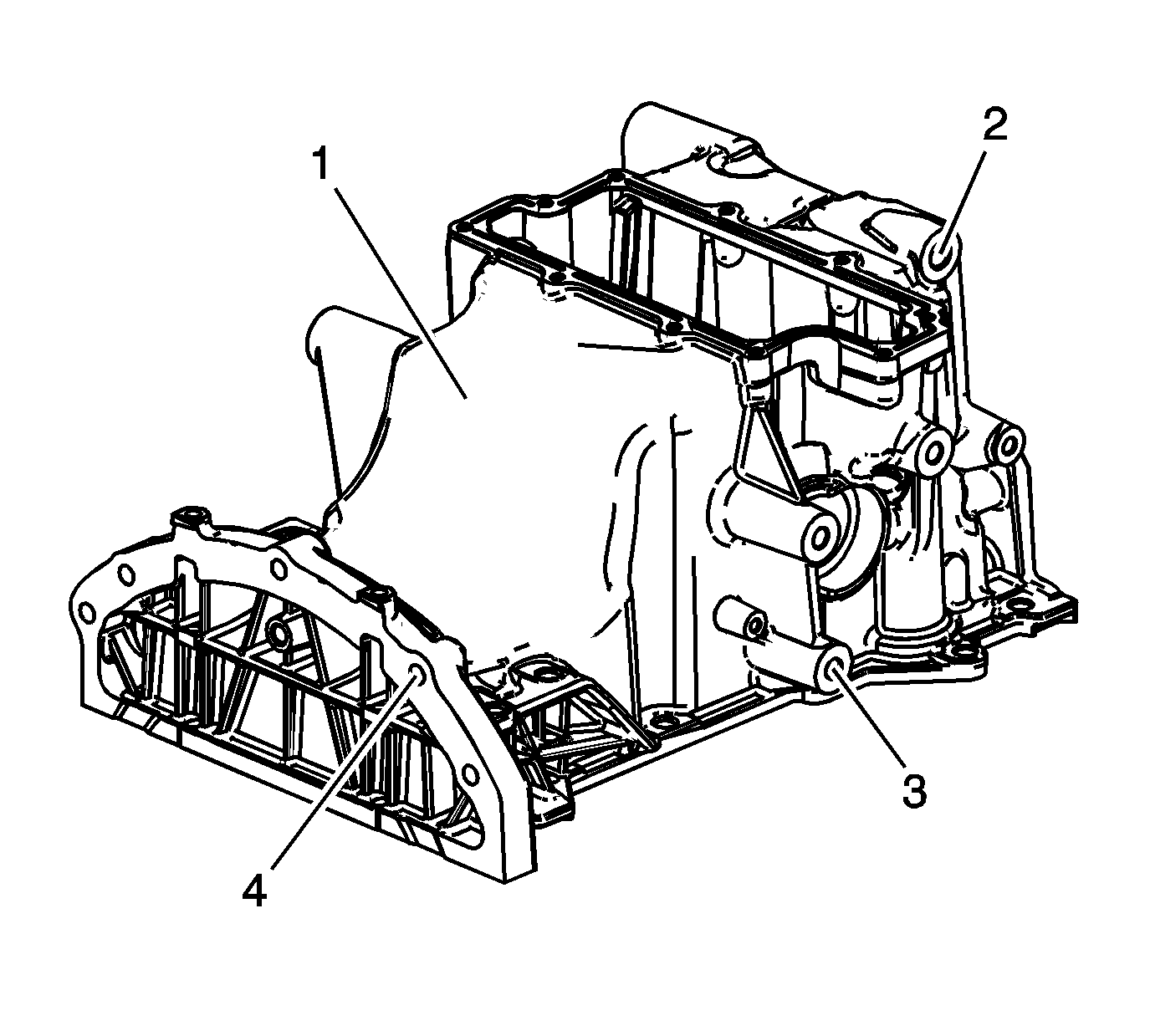
    Object Number: 1625859  Size: SH
  1. Inspect the exterior of the oil pan for the following conditions:
  2. • Dents or damage to the exterior (1)
    • Damage to the drain plug or drain plug hole (2)
    • Damage to the transaxle brace mounting bosses (3)
    • Damage to the transaxle mounting bosses (4)

    Object Number: 1625860  Size: SH
  3. Inspect the interior of the oil pan for the following conditions:
  4. • Gouges or damage to the oil pan sealing surfaces (1)
    • Damage to the oil pan scraper mounting holes (2)
    • Damage to the bolt holes (3)
  5. Repair or replace the oil pan and/or oil pan components as necessary.