GM Service Manual Online
For 1990-2009 cars only

Object Number: 1453025  Size: MF
Master Electrical Component List
Automatic Transmission Controls Schematics
OBD II Symbol Description Notice
Control Module References

Circuit Description

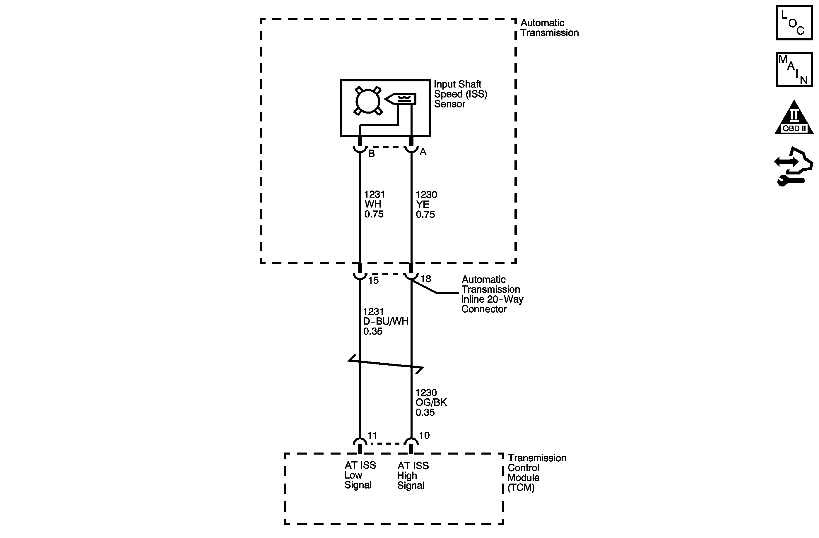
The input speed sensor (ISS) is a permanent magnet generator. The ISS mounts in the transmission case in front of the valve body assembly. The sensor faces the reverse clutch housing machined teeth surface. As the reverse clutch housing rotates, an AC voltage is induced and transmitted to the transmission control module (TCM). The AC voltage level and the number of pulses increase as the speed of the reverse clutch housing increases. The TCM converts the AC voltage into a digital signal. The TCM uses the input shaft speed signal to help determine line pressure, transmission shift patterns, torque converter clutch (TCC) slip speed and gear ratio.

If the TCM detects no input shaft speed when there is vehicle speed in a drive gear range, then DTC P0717 sets. DTC P0717 is a type B DTC.

DTC Descriptor

This diagnostic procedure supports the following DTC:

DTC P0717 Input Speed Sensor Circuit Low Voltage

Conditions for Running the DTC

    • No OSS DTCs P0722 or P0723.
    • No IMS DTCs P1815, P1820, P1822, P1823, P1825 or P1826.
    • No engine torque DTC P2637.
    • The engine run time is greater than 5 seconds.
    • The vehicle speed is greater than 16 km/h (10 mph).

Conditions for Setting the DTC

The transmission input shaft speed is less than 100 RPM for 5 seconds.

Action Taken When the DTC Sets

    • The TCM illuminates the malfunction indicator lamp (MIL) during the second consecutive trip in which the Conditions for Setting the DTC are met.
    • The TCM commands maximum line pressure.
    • The TCM freezes transmission adaptive functions.
    • The TCM calculates input shaft speed from the output shaft speed sensor and commanded gear.
    • At the time of the first failure, the TCM records the operating conditions when the Conditions for Setting the DTC are met. The TCM stores this information as a Failure Record.
    • At the time of the second failure, the ECM records the operating conditions when the Conditions for Setting the DTC are met. The ECM stores this information as a Freeze Frame.
    • The TCM stores DTC P0717 in TCM history.

Conditions for Clearing the MIL/DTC

    • The ECM turns OFF the MIL after the sixth consecutive drive trip in which the TCM does not send a MIL illumination request.
    • A scan tool can clear the MIL/DTC.
    • The TCM clears the DTC from TCM history if the vehicle completes 40 warm-up cycles without an emission related diagnostic fault occurring.
    • The TCM cancels the default actions when the ignition is OFF long enough in order to power down the TCM.

Diagnostic Aids

Ensure the ISS is properly torqued to the transmission housing.

Test Description

The numbers below refer to the step numbers on the diagnostic table.

  1. The resistance measurement will not change if either the ISS high signal circuit or the ISS low signal circuit, but not both, is shorted to ground. The vehicle speed detector in the TCM and the ISS are matched in such a way that an open or a short to ground in the ISS low signal circuit will not usually cause a loss of speed signal or a DTC P0717 to set.

  2. This step isolates the short between the ISS and the wiring.

  3. Refer to the latest procedures for TCM reprogramming.

Step

Action

Value(s)

Yes

No

1

Did you perform the Diagnostic System Check - Vehicle?

--

Go to Step 2

Go to Diagnostic System Check - Vehicle

2

  1. Install a scan tool.
  2. Turn ON the ignition with the engine OFF.
  3. Important: 

       • Before clearing the DTC, use the scan tool in order to record the ECM Freeze Frame and the TCM Failure Records. Using the Clear Info function erases the Freeze Frame and Failure Records from the ECM and the TCM.
       • Using the Clear Info function erases stored DTCs in both the ECM and TCM.

  4. Record the DTC Freeze Frame and Failure Records.
  5. Clear the DTC.
  6. Start the engine.
  7. Select Transmission ISS on the scan tool.

Does the scan tool display input shaft speed above the specified value?

500 RPM

Go to Testing for Intermittent Conditions and Poor Connections

Go to Step 3

3

  1. Turn OFF the ignition.
  2. Disconnect the TCM.
  3. Using the DMM and the J 35616 GM terminal test kit, measure the resistance between the ISS high signal circuit and the ISS low signal circuit at the TCM connector.

Is the resistance within the specified range?

325-575 ohms

Go to Step 5

Go to Step 4

4

Test the ISS high signal circuit and ISS low signal circuit for the following conditions:

    • An open circuit or high resistance condition
    • ISS high signal and ISS low signal circuits for a short to voltage or shorted together

Refer to Testing for Continuity and Wiring Repairs .

Did you find and correct a condition?

--

Go to Step 12

Go to Step 9

5

Measure the resistance between ISS high signal circuit at the TCM connector and ground.

Is the resistance greater than the specified value?

50K ohms

Go to Step 8

Go to Step 6

6

  1. Leave the DMM connected between ISS high signal circuit and ground.
  2. Disconnect the ISS.
  3. Measure the resistance between ISS high signal circuit and ground.

Is the resistance greater than the specified value?

50K ohms

Go to Step 9

Go to Step 7

7

Repair the short to ground in the ISS high signal circuit. Refer to Wiring Repairs .

Did you complete the repair?

--

Go to Step 12

--

8

  1. Connect the DMM between the ISS high signal circuit and the ISS low signal circuit.
  2. Place the transmission in PARK.
  3. Start the engine.

Is the AC voltage equal to or greater than the specified value?

0.5 V

Go to Step 11

Go to Step 9

9

  1. Remove the ISS. Refer to Input Speed Sensor Replacement .
  2. Inspect the ISS and the ISS rotor for the following conditions:
  3. • ISS damage
    • ISS rotor damage
    • Excessive air gap between the reverse clutch input housing assembly (401) rotor and the ISS
    • Incorrect alignment between the ISS and the reverse clutch input housing assembly (401) rotor
  4. Repair or replace any of the above items as necessary.

Did you find and correct a condition?

--

Go to Step 12

Go to Step 10

10

Replace the ISS. Refer to Input Speed Sensor Replacement .

Did you complete the replacement?

--

Go to Step 12

--

11

Replace the TCM.

Refer to Control Module References for replacement, setup and programming.

Is the action complete?

--

Go to Step 12

--

12

Perform the following procedure in order to verify the repair:

  1. Select DTC.
  2. Select Clear Info.
  3. Start and idle the engine.
  4. Observe Transmission ISS on the scan tool. Input speed must be greater than 500 RPM for 2 seconds.
  5. Select Specific DTC.
  6. Enter DTC P0716.

Has the test run and passed?

--

Go to Step 13

Go to Step 2

13

With the scan tool, observe the stored information, capture info and DTC info.

Does the scan tool display any DTCs that you have not diagnosed?

--

Go to Diagnostic Trouble Code (DTC) List - Vehicle

System OK