GM Service Manual Online
For 1990-2009 cars only

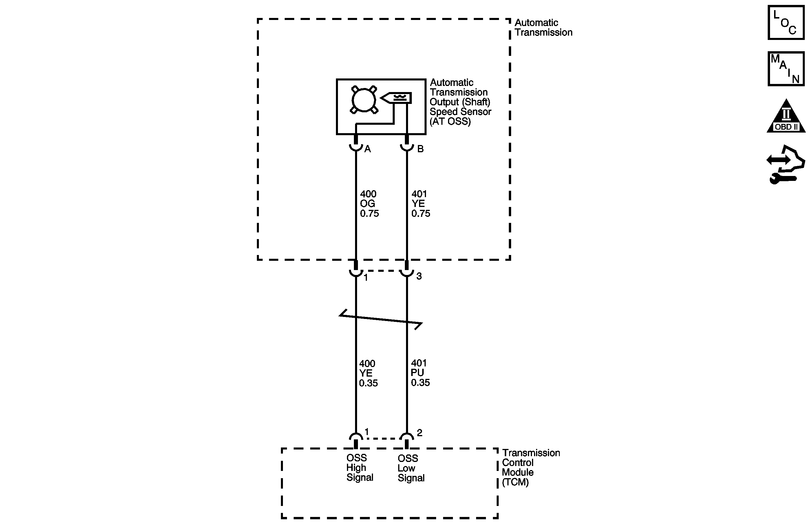
Object Number: 1453027  Size: MF
Master Electrical Component List
Automatic Transmission Controls Schematics
OBD II Symbol Description Notice
Control Module References

Circuit Description

The output speed sensor (OSS) assembly provides vehicle speed information to the transmission control module (TCM). The OSS assembly is a permanent magnet generator. The sensor is mounted in the transmission case facing the rear internal gear which is splined to the output shaft assembly. As the output shaft and internal gear rotate, the toothed rotor of the internal gear produces AC voltage as the rotor teeth pass through the magnetic field of the sensor. The AC voltage level and the number of pulses increase as the speed of the vehicle increases. The TCM converts the voltage to vehicle speed. The TCM uses the output shaft speed signal to determine shift timing and torque converter clutch (TCC) scheduling.

If the TCM detects an unrealistic drop in output shaft speed, DTC P0723 sets. DTC P0723 is a type B DTC.

DTC Descriptor

This diagnostic procedure supports the following DTC:

DTC P0723 Output Speed Sensor Circuit Intermittent

Conditions for Running the DTC

    • No 1-2 Shift Solenoid Electrical DTC P0974.
    • No ISS DTCs P0716 or P0717.
    • No IMS DTCs P1815, P1820, P1822, P1823, P1825 or P1826.
    • The engine run time is greater than 5 seconds.
    • The transmission is not in PARK or NEUTRAL.
    • The transmission output speed is greater than 1,400 RPM for 2 seconds or greater.
    • One of the following conditions exist:
       - The transmission input shaft speed has not decreased for at least 2 seconds.
       - The transmission output shaft speed has not increased greater than 500 RPM for at least 2 seconds.

Conditions for Setting the DTC

The transmission output shaft speed drops greater than 1,300 RPM for at least 3 seconds.

Action Taken When the DTC Sets

    • The TCM illuminates the malfunction indicator lamp (MIL) during the second consecutive trip in which the Conditions for Setting the DTC are met.
    • The TCM commands maximum line pressure.
    • The TCM freezes transmission adaptive functions.
    • The TCM calculates vehicle speed from the automatic transmission input shaft speed sensor and commanded gear.
    • The TCM inhibits Autograde braking.
    • At the time of the first failure, the TCM records the operating conditions when the Conditions for Setting the DTC are met. The TCM stores this information as a Failure Record.
    • At the time of the second failure, the ECM records the operating conditions when the Conditions for Setting the DTC are met. The ECM stores this information as a Freeze Frame.
    • The TCM stores DTC P0723 in TCM history.

Conditions for Clearing the MIL/DTC

    • The ECM turns OFF the MIL after the sixth consecutive drive trip in which the TCM does not send a MIL illumination request.
    • A scan tool can clear the MIL/DTC.
    • The TCM clears the DTC from TCM history if the vehicle completes 40 warm-up cycles without an emission related diagnostic fault occurring.
    • The TCM cancels the default actions when the ignition is OFF long enough in order to power down the TCM.

Diagnostic Aids

Ensure the OSS sensor is properly torqued to the transmission housing.

Test Description

The numbers below refer to the step numbers on the diagnostic table.

  1. The resistance measurement will not change if either the OSS high signal circuit or the OSS low signal circuit, but not both, is shorted to ground. The vehicle speed detector in the TCM and the OSS are matched in such a way that an open or a short to ground in the OSS low signal circuit will not usually cause a loss of speed signal or a DTC P0723 to set.

  2. This step isolates the short between the OSS and the wiring.

  3. The DMM will detect AC voltage if the OSS high signal circuit is shorted to ground.

  4. Refer to the latest procedures for TCM reprogramming.

Step

Action

Value(s)

Yes

No

1

Did you perform the Diagnostic System Check - Vehicle?

--

Go to Step 2

Go to Diagnostic System Check - Vehicle

2

Notice: In order to avoid damage to the drive axles, support the lower control arms in the normal horizontal position. Do not run the vehicle in gear with the wheels hanging down at full travel.

  1. Install a scan tool.
  2. Turn ON the ignition, with the engine OFF.
  3. Important: 

       • Before clearing the DTC, use the scan tool in order to record the ECM Freeze Frame and the TCM Failure Records. Using the Clear Info function erases the Freeze Frame and Failure Records from the ECM and the TCM.
       • Using the Clear Info function erases stored DTCs in both the ECM and TCM.

  4. Record the DTC Freeze Frame and Failure Records.
  5. Clear the DTC.
  6. Raise the drive wheels.
  7. Support the lower control arms so that the drive axles are in a horizontal, straight, position.
  8. Start the engine.
  9. Shift the transmission into D.
  10. Select Transmission OSS on the scan tool.

Does the scan tool display transmission output speed above the specified value?

100 RPM

Go to Testing for Intermittent Conditions and Poor Connections

Go to Step 3

3

  1. Turn OFF the ignition.
  2. Disconnect the TCM.
  3. Measure the resistance between the OSS high signal circuit and the OSS low signal circuit at the TCM connector.

Is the resistance within the specified range?

325-575 ohms

Go to Step 5

Go to Step 4

4

Test the OSS high signal circuit and the OSS low signal circuit for the following conditions:

    • An open circuit or high resistance condition
    • OSS high signal and OSS low signal circuits shorted together

Refer to Testing for Continuity and Wiring Repairs .

Did you find and correct a condition?

--

Go to Step 12

Go to Step 9

5

Measure the resistance between the OSS high signal circuit at the TCM connector and ground.

Is the resistance greater than the specified value?

50K ohms

Go to Step 8

Go to Step 6

6

  1. Leave the DMM connected between the OSS high signal circuit at the TCM connector and ground.
  2. Disconnect the OSS.
  3. Measure the resistance.

Is the resistance greater than the specified value?

50K ohms

Go to Step 9

Go to Step 7

7

Repair the short to ground in the OSS high signal circuit. Refer to Wiring Repairs .

Did you complete the repair?

--

Go to Step 12

--

8

  1. Connect the DMM between the OSS high signal circuit and the OSS low signal circuit.
  2. Measure the AC voltage with the DMM while rotating the drive wheels by hand.

Is the AC voltage equal to or greater than the specified value?

0.5 V

Go to Step 11

Go to Step 9

9

  1. Remove the OSS. Refer to Output Speed Sensor Replacement .
  2. Inspect the OSS and the OSS rotor for the following conditions:
  3. • OSS damage
    • OSS rotor damage
    • Excessive air gap between the OSS rotor and the OSS
    • Incorrect alignment between the OSS and the OSS rotor
    • Damaged or missing OSS sensor spacer
  4. Repair or replace any of the above items as necessary.

Did you find and correct a condition?

--

Go to Step 12

Go to Step 10

10

Replace the OSS. Refer to Output Speed Sensor Replacement .

Did you complete the repair?

--

Go to Step 12

--

11

Replace the TCM.

Refer to Control Module References for replacement, setup and programming.

Is the action complete?

--

Go to Step 12

--

12

Perform the following procedure in order to verify the repair:

  1. Select DTC.
  2. Select Clear Info.
  3. Drive the vehicle in D5 and observe Transmission OSS on the scan tool.
  4. Ensure the Transmission OSS is greater than 750 RPM and does not drop more than 650 RPM for at least 2 seconds.
  5. Select Specific DTC.
  6. Enter DTC P0723.

Has the test run and passed?

--

Go to Step 13

Go to Step 2

13

With the scan tool, observe the stored information, capture info and DTC info.

Does the scan tool display any DTCs that you have not diagnosed?

--

Go to Diagnostic Trouble Code (DTC) List - Vehicle

System OK