GM Service Manual Online
For 1990-2009 cars only
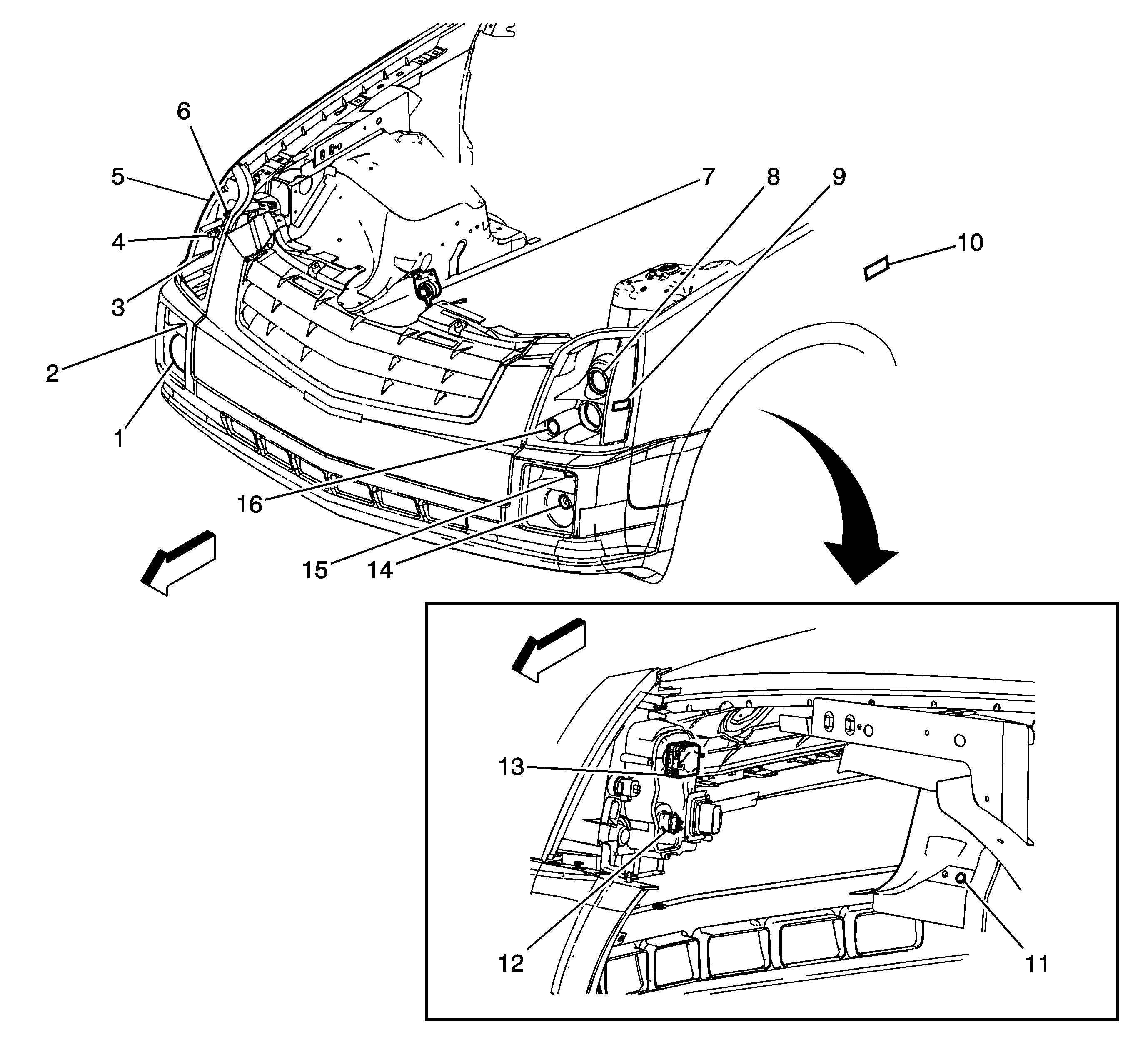
Figure 1:

Front Fascia Lighting Components (without HID)


Object Number: 1959593  Size: LF
(1)Marker Lamp - Right Front
(2)Headlamp - Right Low Beam (without HID)
(3)Headlamp - Right High Beam (without HID)
(4)Park Lamp - Right Front
(5)Turn Signal Lamp - Right Front
(6)Fog Lamp - Right Front
(7)Marker Lamp - Left Front
(8)Headlamp - Left Low Beam (without HID)
(9)Headlamp - Left High Beam (without HID)
(10)Fog Lamp - Left Front
(11)Turn Signal Lamp - Left Front
(12)Park Lamp - Left Front
Figure 2:

Front Fascia Lighting Components (HID)


Object Number: 1959613  Size: LF
(1)Fog Lamp - Right Front
(2)Turn Signal Lamp - Right Front
(3)Park Lamp - Right Front
(4)Headlamp - Right High Beam
(5)Marker Lamp - Right Front
(6)Headlamp - Right Low Beam
(7)Headlamp Leveling Actuator - Right (TR7)
(8)Headlamp - Left Low Beam
(9)Marker Lamp - Left Front
(10)Repeater Lamp - Left (T90)
(11)Headlamp Leveling Actuator- Left (TR7)
(12)Headlamp Starter/Arc Tube
(13)Headlamp Ballast - Left, Right Side Similar
(14)Fog Lamp - Left Front
(15)Turn Signal Lamp - Left Front
(16)Park Lamp - Left Front
Figure 3:

Front Engine Compartment Components - LHD (1 of 2)


Object Number: 1959958  Size: LF
(1)Heated Washer Nozzle - Right (XA7)
(2)Heated Washer Nozzle - Left (XA7)
(3)Coolant Surge Tank
(4)Automatic Transmission Cooler
(5)A/C Refrigerant Pressure Sensor (LY7/LH2)
(6)Engine Cooling Fan - Left (LY7)
(7)Engine Cooling Fan - Right (LY7)
(8)Engine Cooling Fan - Left (LH2)
(9)Engine Cooling Fan - Right (LH2)
(10)Rear Window Washer Fluid Pump
(11)Windshield Washer Fluid Pump
(12)Windshield Washer Fluid Level Switch
(13)Headlamp Washer Fluid Pump (CE4)
(14)Washer Solvent Container
Figure 4:

Front Engine Compartment Components - LHD (2 of 2)


Object Number: 1960001  Size: LF
(1)Brake Fluid Pressure Sensor
(2)Electronic Brake Control Module (EBCM)
(3)Brake Pressure Modulator Valve (BPMV)
(4)Inflatable Restraint Front End Sensor - Right
(5)Transmission Control Module (TCM) (5L40-E)
(6)Fuse Block - Underhood
(7)Engine Control Module (ECM) (LY7)
(8)Battery
(9)Battery Current Sensor
(10)Windshield Wiper Motor
(11)Brake Fluid Level Switch
(12)Hood Ajar Switch (UA6/UTA/UTC)
(13)Inflatable Restraint Front End Sensor - Left
(14)Horn Assembly (without U03)
(15)Engine Control Module (ECM) (LH2)
(16)Horn - Right (U03)
(17)Air Quality Sensor (K14)
(18)Ambient Air Temperature Sensor
(19)Hood Latch Assembly
Figure 5:

Front Engine Compartment Components - RHD (1 of 2)


Object Number: 1959631  Size: LF
(1)Rear Window Washer Fluid Pump
(2)Windshield Washer Fluid Pump
(3)Washer Fluid Level Switch
(4)Headlamp Washer Fluid Pump (CE4)
(5)Washer Solvent Container
(6)Engine Cooling Fan - Right (LY7)
(7)Engine Cooling Fan - Left (LY7)
(8)Engine Cooling Fan - Left (LH2)
(9)Engine Cooling Fan - Right (LH2)
(10)Coolant Surge Tank (RHD)
(11)A/C Refrigerant Pressure Sensor (LY7/LH2)
Figure 6:

Front Engine Compartment Components - RHD (2 of 2)


Object Number: 1959979  Size: LF
(1)Brake Fluid Pressure Sensor
(2)Electronic Brake Control Module (EBCM)
(3)Brake Pressure Modulator Valve (BPMV)
(4)Inflatable Restraint Front End Sensor - Right
(5)Fuse Block - Underhood
(6)Transmission Control Module (TCM) (5L40-E)
(7)Engine Control Module (ECM) (LY7)
(8)Battery
(9)Battery Current Sensor
(10)Windshield Wiper Motor
(11)Brake Fluid Level Switch
(12)Hood Ajar Switch (UA6/UTA/UTC)
(13)Inflatable Restraint Front End Sensor - Left
(14)Horn Assembly (without U03)
(15)Engine Control Module (ECM) (LH2)
(16)Horn - Right (U03)
(17)Air Quality Sensor (K14)
(18)Ambient Air Temperature Sensor
(19)Hood Latch Assembly
Figure 7:

Fans, Tank and Sensor


Object Number: 1843344  Size: LF
(1)Engine Cooling Fan - Right
(2)Coolant Surge Tank
(3)A/C Compressor Clutch
(4)A/C Refrigerant Pressure Sensor
(5)Engine Cooling Fan - Left
Figure 8:

Left Front Wheel Well Components


Object Number: 1855252  Size: LF
(1)Headlamp Assembly
(2)Headlamp Leveling Sensor - Front (TR7)
Figure 9:

Mass Air Flow (MAF) Sensor and Air Cleaner


Object Number: 1276517  Size: LF
(1)Air Cleaner
(2)Mass Air Flow (MAF) Sensor
Figure 10:

EBCM, Brake Pressure Modulator Valve and Brake Fluid Pressure Sensor


Object Number: 1276483  Size: LF
(1)Electronic Brake Control Module (EBCM) Connector Lock
(2)Electronic Brake Control Module (EBCM)
(3)Electronic Brake Control Module (EBCM) Connector Position Assurance Retainer
(4)Electronic Brake Control Module (EBCM) Connector
(5)Brake Pressure Modulator Valve (BPMV)
(6)Brake Fluid Pressure Sensor
(7)Brake Fluid Pressure Sensor Connector
Figure 11:

Engine Electrical Components - LH2


Object Number: 1855758  Size: LF
(1)Starter Motor
(2)X107
(3)Battery
(4)G105
(5)Battery Current Sensor
(6)G102
(7)X103
(8)Generator
(9)Fuse Block - Underhood Positive Voltage Studs
Figure 12:

Engine Electrical Components - LY7


Object Number: 1855968  Size: LF
(1)G102
(2)Battery
(3)X103
(4)G105
(5)Starter Motor
(6)Positive Battery Cable
(7)Generator
(8)Fuse Block - Underhood Positive Voltage Studs
Figure 13:

Variable Effort Steering Actuator (LHD)


Object Number: 1348883  Size: LF
(1)Power Steering Rack
(2)Variable Effort Steering Actuator
(3)Engine Harness