GM Service Manual Online
For 1990-2009 cars only
Figure 1:

Passenger Compartment SIR Components (LHD)


Object Number: 1847751  Size: LF
(1)Inflatable Restraint Side Impact Module - Left
(2)Inflatable Restraint Steering Wheel Module
(3)Inflatable Restraint I/P Module Indicator
(4)Inflatable Restraint I/P Module
(5)Inflatable Restraint Front Passenger Presence System (PPS) Sensor
(6)Seat Belt Pretensioner - Passenger
(7)Inflatable Restraint Side Impact Module - Right
(8)Inflatable Restraint Side Impact Sensor (SIS) - Right
(9)Inflatable Restraint Roof Rail Module - Right Rear (AY0)
(10)Seat Belt Switch - Passenger
(11)Inflatable Restraint Sensing and Diagnostic Module (SDM)
(12)Inflatable Restraint Vehicle Rollover Sensor
(13)Seat Belt Switch - Driver
(14)Inflatable Restraint Roof Rail Module - Left Rear (AY0)
(15)Inflatable Restraint Side Impact Sensor (SIS) - Left
(16)Seat Belt Pretensioner - Driver
Figure 2:

Passenger Compartment SIR Components (RHD)


Object Number: 1855186  Size: LF
(1)Inflatable Restraint I/P Module
(2)Inflatable Restraint I/P Module Indicator
(3)Inflatable Restraint Steering Wheel Module
(4)Seat Belt Switch - Driver
(5)Seat Belt Pretensioner - Driver
(6)Inflatable Restraint Side Impact Module - Right
(7)Inflatable Restraint Side Impact Sensor (SIS) - Right
(8)Inflatable Restraint Roof Rail Module - Right Rear (AY0)
(9)Inflatable Restraint Sensing and Diagnostic Module (SDM)
(10)Inflatable Restraint Vehicle Rollover Sensor
(11)Seat Belt Switch - Passenger
(12)Inflatable Restraint Roof Rail Module - Left Rear (AY0)
(13)Inflatable Restraint Side Impact Sensor (SIS) - Left
(14)Inflatable Restraint Front Passenger Presence System (PPS) Sensor
(15)Inflatable Restraint Side Impact Module - Left
(16)Seat Belt Pretensioner - Passenger
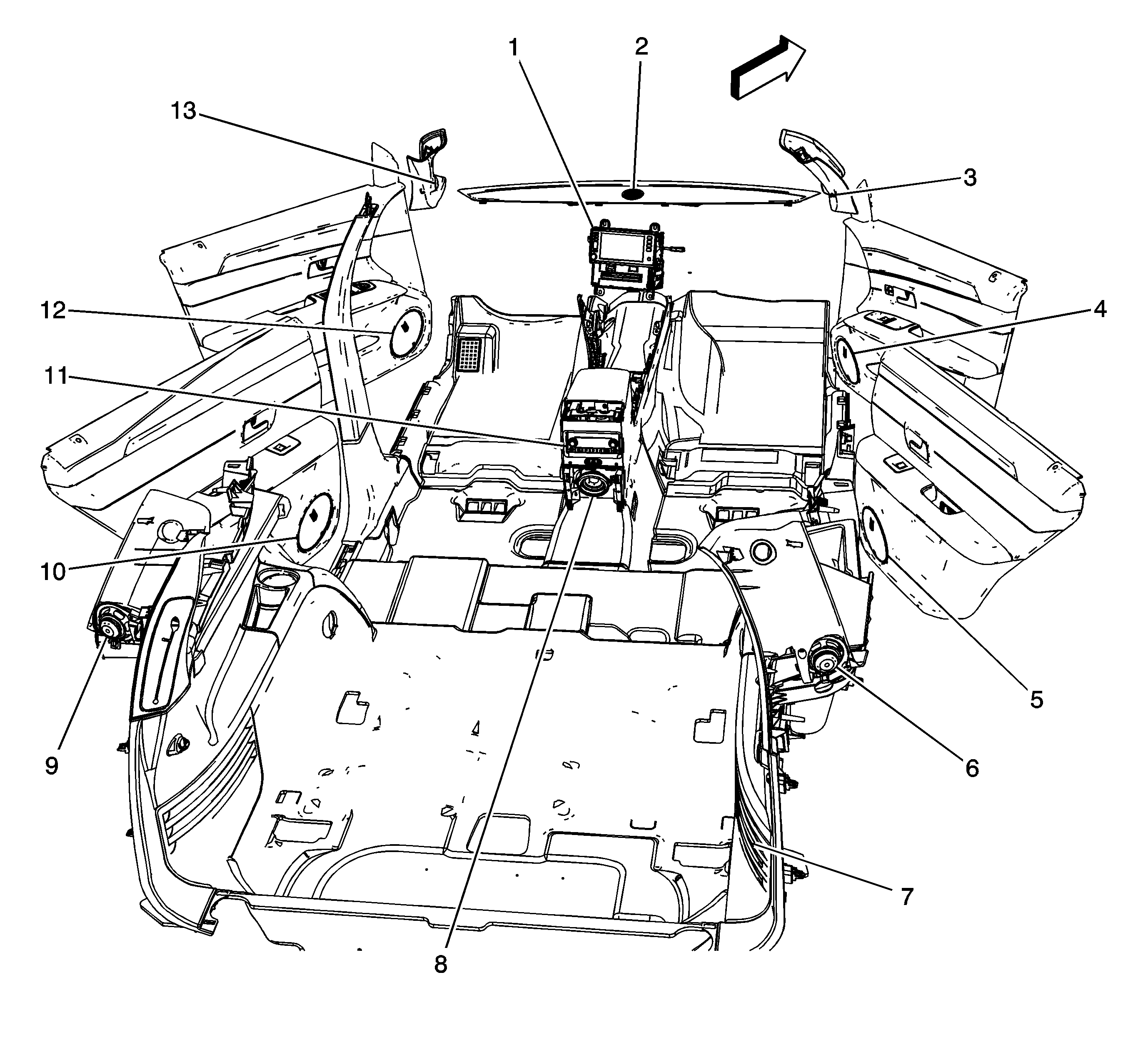
Figure 3:

Entertainment System Components


Object Number: 1843271  Size: LF
(1)Radio
(2)Speaker - Center I/P
(3)Speaker - Right Front Tweeter
(4)Speaker - Right Front
(5)Speaker - Right Rear
(6)Speaker - Right D-Pillar (UQS)
(7)Speaker - Subwoofer
(8)Speaker - Center Console (UQS)
(9)Speaker - Left D-Pillar (UQS)
(10)Speaker - Left Rear
(11)Video Display (U42)
(12)Speaker - Left Front
(13)Speaker - Left Front Tweeter
Figure 4:

Right Front Floor Pan Components (RHD)


Object Number: 1855283  Size: LF
(1)Inflatable Restraint Vehicle Rollover Sensor
(2)Yaw and Lateral/Accelerometer Sensor
Figure 5:

Below Front Passenger Seat


Object Number: 1959318  Size: LF
(1)C-Pillar
(2)Yaw and Lateral Accelerometer Sensor
Figure 6:

Overhead Console Components


Object Number: 1847657  Size: LF
(1)Window Wiper/Washer Switch - Rear
(2)Blower Motor Switch - Auxiliary Front (C57)
(3)Rear Window Sunshade Switch (C3B)
(4)Sunroof Switch (CF5/C3B)
(5)Front Sunshade Switch (CF5/C3B)
(6)Overhead Console Courtesy/Reading Lamps
(7)Overhead Console Courtesy/Reading Lamps
Figure 7:

Headliner and Overhead Console Components


Object Number: 1272685  Size: LF
(1)Inside Rearview Mirror (ISRVM) Connector
(2)Overhead Console Courtesy/Reading Lamps
(3)Overhead Console Courtesy/Reading Lamps Switch
(4)Sunshade - Left
(5)Garage Door Opener (GDO) (UG1)
(6)Vanity Mirror Lamp Switch - Left
(7)Sunshade Connector - Left
(8)Vanity Mirror Lamp - Left
(9)Window Wiper/Washer Switch - Rear
(10)Blower Motor Switch - Auxiliary Front (C57)
(11)Noise Compensation Microphone (UQS)
(12)Vanity Mirror Lamp - Right
(13)Sunshade Connector - Right
(14)Sunshade - Right
(15)Vanity Mirror Lamp Switch - Right
(16)Overhead Console Courtesy/Reading Lamps Switch
(17)Overhead Console Courtesy/Reading Lamps
(18)Overhead Console Assembly - Center
(19)Blower Motor Switch - Auxiliary Rear (C57)
(20)Courtesy/Reading Lamps - 2nd Row
(21)Courtesy/Reading Lamp Switch - 2nd Row
(22)Blower Motor Switch Connector - Auxiliary Rear (C57)
(23)Courtesy/Reading Lamps - 2nd Row Connector
(24)Courtesy/Reading Lamps Switch - 2nd Row
(25)Courtesy/Reading Lamps - 2nd Row
(26)Repeater Lamp - Left, Right Similar (T90)
Figure 8:

Inside Rear View Mirror and Rear Window Defogger Grid Components


Object Number: 1276970  Size: LF
(1)Light Sensor
(2)Emergency Button (UE1)
(3)OnStar® Call Center Button (UE1)
(4)Answer/End Call Button (UE1)
(5)Cellular Microphone (UE1)
(6)Inside Rearview Mirror (ISRVM) On/Off Button
(7)Inside Rearview Mirror (ISRVM)
(8)Rear Window Defogger Grid
(9)Rear Window Wiper Motor
Figure 9:

Headliner Components 1 of 2


Object Number: 1828173  Size: LF
(1)Rear Parking Assist (RPA) Display
(2)Courtesy/Reading Lamp - 3rd Row
(3)Courtesy/Reading Lamp - 2nd Row
(4)Blower Motor Switch - Auxiliary Rear (C57)
(5)Vanity Mirror Lamp - Right
(6)Rear Window Sunshade Switch (C3B)
(7)Sunroof Switch (CF5/C3B)
(8)Front Sunshade Switch (CF5/C3B)
(9)Overhead Console Courtesy Reading Lamps
(10)Overhead Console Courtesy Reading Lamps
(11)Noise Compensation Microphone (UQS)
(12)Window Wiper/Washer Switch - Rear
(13)Blower Motor Switch - Auxiliary Rear (C57)
(14)Vanity Mirror Lamp - Left
Figure 10:

Headliner Components 2 of 2


Object Number: 1374461  Size: LF
(1)Blower Motor Switch - Auxiliary Front (C57)
(2)Blower Motor Switch - Auxiliary Rear (C57)
(3)Courtesy/Reading Lamp - 3rd Row
(4)Rear Parking Assist (RPA) Display
(5)Courtesy/Reading Lamp - 2nd Row
(6)Overhead Console Courtesy/Reading Lamps
Figure 11:

Sunroof Components - Mega (C3B)


Object Number: 1847670  Size: LF
(1)Sunroof Sunshade Module - Rear (C3B)
(2)Sunroof Sunshade Module - Front (C3B)
(3)Sunroof Control Module
Figure 12:

Sunroof Components - Mini (CF5)


Object Number: 1847677  Size: LF
(1)Sunroof Control Module
(2)Sunroof Sunshade Module - Front
Figure 13:

Driver Seat Components 1 of 2


Object Number: 1843249  Size: LF
(1)Seat Recline Motor - Driver
(2)Seat Recline Position Sensor - Driver (A45)
(3)Seat Front Vertical Motor Position Sensor - Driver (A45)
(4)Seat Rear Vertical Motor - Driver
(5)Seat Horizontal Motor - Driver
(6)Seat Horizontal Motor Position Sensor - Driver (A45)
(7)Seat Front Vertical Motor - Driver
(8)Seat Rear Vertical Motor Position Sensor - Driver (A45)
(9)Seat Belt Switch - Driver
(10)Inflatable Restraint Side Impact Module - Left
(11)Seat Lumbar Switch - Driver (AL2)
(12)Seat Adjuster Switch - Driver
(13)X300
(14)X301
Figure 14:

Driver Seat Components 2 of 2


Object Number: 1852969  Size: LF
(1)Seat Belt Switch - Driver
(2)Seat Adjuster Switch - Driver
(3)Seat Rear Vertical Motor - Driver
(4)Seat Horizontal Motor - Driver
(5)Seat Front Vertical Motor - Driver
Figure 15:

Passenger Seat Components


Object Number: 1843260  Size: LF
(1)Inflatable Restraint Side Impact Module - Right
(2)Seat Belt Switch - Passenger
(3)Inflatable Restraint Front Passenger Presence System (PPS) Sensor Pad
(4)Inflatable Restraint Front Passenger Presence System (PPS) Sensor
(5)X306
(6)X307
(7)Seat Adjuster Switch - Passenger
(8)Seat Lumbar Switch - Passenger (AL2)
(9)Seat Rear Vertical Motor - Passenger
(10)Seat Horizontal Motor - Passenger
(11)Seat Front Vertical Motor - Passenger
(12)Inflatable Restraint Seat Position Sensor - Passenger
(13)Seat Recline Motor - Passenger
Figure 16:

Driver and Passenger Seat Lumbar Components (AL2)


Object Number: 1847708  Size: LF
(1)Driver Seat
(2)Passenger Seat
(3)Seat Lumbar Motor - Passenger (AL2)
(4)Seat Lumbar Horizontal Motor Position Sensor - Driver (AL2 with A45)
(5)Seat Lumbar Motor - Driver (AL2)
Figure 17:

Front Heated Seat Components


Object Number: 1847713  Size: LF
(1)Heated Seat Element - Driver Cushion (KA1), Passenger Side Similar
(2)Heated Seat Element - Driver Back (KA1), Passenger Side Similar
(3)Memory Seat Module (MSM) (A45)
Figure 18:

Third Row Folding Seats Components (AM0)


Object Number: 1380958  Size: LF
(1)Third Row Seats
(2)Folding Seat Rotation Motor
(3)Folding Seat Back Panel Position Switch
(4)Folding Seat Recline Motor
(5)Folding Seat Horizontal Motor
(6)Rear Seat Control Module
(7)X411
(8)Folding Seat Back Position Switch