GM Service Manual Online
For 1990-2009 cars only

Object Number: 1913407  Size: A2

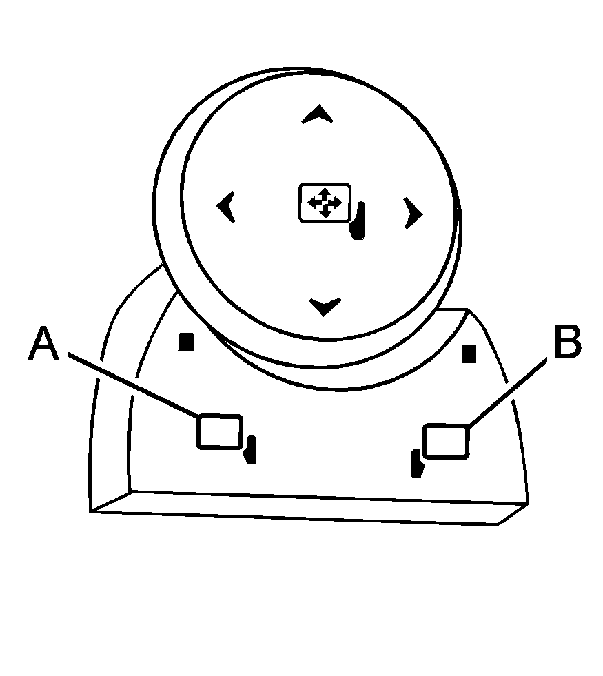
Controls for the outside power mirrors are located on the driver door armrest.

  1. Press (A) or (B) to select the driver's or passenger side mirror. The LED indicator turns on to show that this mirror is selected.
  2. Press one of the four arrows located on the control pad to move the mirror to the desired direction.
  3. Press (A) or (B) again to deselect the mirror. The LED indicator will turn off.

The preferred position can be stored in memory if the vehicle has the memory option. See Memory Seat and Mirrors for more information.

Manually fold the mirrors inward to prevent damage when going through an automatic car wash. To fold, push the mirror toward the vehicle. Push the mirror outward, to return to its original position.