| Table 1: | Engine Control Module (ECM) C1 |
| Table 2: | Engine Control Module (ECM) C2 |
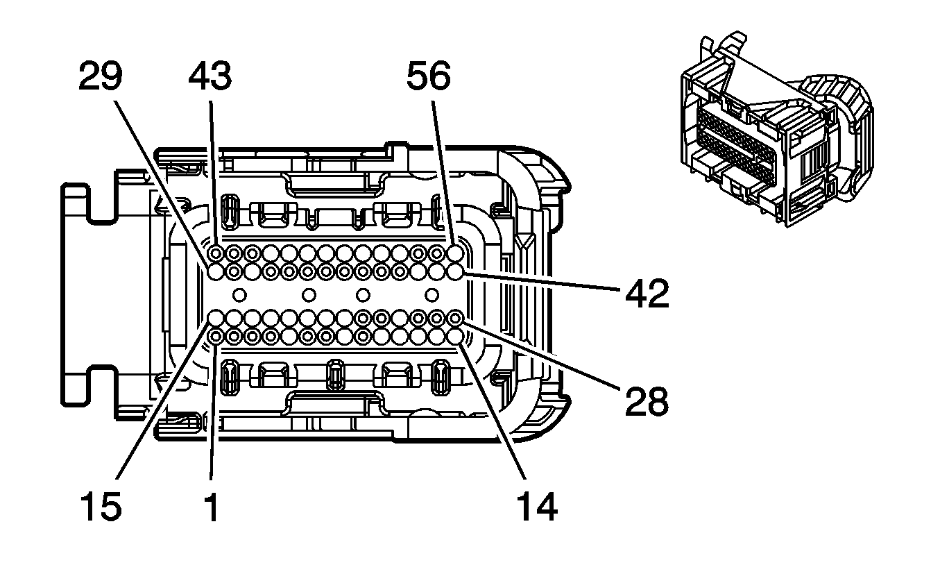
| Table 3: | Engine Control Module (ECM) C3 |
| |||||||
|---|---|---|---|---|---|---|---|
Connector Part Information |
| ||||||
Pin | Wire Color | Circuit No. | Function | ||||
1 | TN/BK | 2500 | High Speed GMLAN Serial Data Bus (+) | ||||
2 | TN | 2501 | High Speed GMLAN Serial Data Bus (-) | ||||
3-4 | -- | -- | Not Used | ||||
5 | TN | 1274 | 5-Volt Reference | ||||
6 | -- | -- | Not Used | ||||
7 | WH/BK | 1164 | 5-Volt Reference | ||||
8-9 | -- | -- | Not Used | ||||
10 | WH | 1310 | EVAP Canister Vent Solenoid Control | ||||
11 | OG/BK | 380 | A/C Refrigerant Pressure Sensor Signal | ||||
12 | -- | -- | Not Used | ||||
13 | WH | 17 | Stop Lamp Switch Signal | ||||
14 | YE | 447 | Starter Relay Coil Control | ||||
15-16 | -- | -- | Not Used | ||||
17 | PK/BK | 5290 | Ignition 1 Voltage | ||||
18 | PK | 239 | Ignition 1 Voltage | ||||
19 | PK | 239 | Ignition 1 Voltage | ||||
20 | RD/WH | 1440 | Battery Positive Voltage | ||||
21 | L-BU | 1162 | APP Sensor 2 Signal | ||||
22 | -- | -- | Not Used | ||||
23 | D-GN/WH | 465 | Fuel Pump Relay Control - Primary | ||||
24 | BN/WH | 419 | MIL Control | ||||
25 | D-GN/WH | 459 | A/C Compressor Clutch Relay Control | ||||
26 | -- | -- | Not Used | ||||
27 | D-BU | 1161 | APP Sensor 1 Signal | ||||
28 | BN | 818 | Vehicle Speed Signal | ||||
29 | YE | 492 | MAF Sensor Signal | ||||
30 | -- | -- | Not Used | ||||
31 | TN | 2760 | Intake Air Temperature Sensor Low Reference | ||||
32 | BK/WH | 2751 | Signal Ground | ||||
33 | OG/WH | 812 | 12-Volt Reference | ||||
34 | -- | -- | Not Used | ||||
35 | GY | 2700 | 5-Volt Reference | ||||
36 | BN | 1271 | Low Reference | ||||
37 | PU | 1272 | Low Reference | ||||
38-41 | -- | -- | Not Used | ||||
42 | D-BU | 473 | High Speed Cooling Fan Relay Control | ||||
43 | BN | 5069 | Main Relay Control | ||||
44-45 | -- | -- | Not Used | ||||
46 | YE/BK | 5728 | ECM/TCM Serial Data Wake Up | ||||
47-50 | -- | -- | Not Used | ||||
51 | TN | 472 | IAT Sensor Signal | ||||
52-54 | -- | -- | Not Used | ||||
55 | D-GN | 335 | Low Speed Cooling Fan Relay Control | ||||
56 | -- | -- | Not Used | ||||
| |||||||
|---|---|---|---|---|---|---|---|
Connector Part Information |
| ||||||
Pin | Wire Color | Circuit No. | Function | ||||
1-2 | -- | -- | Not Used | ||||
3 | D-GN | 485 | TP Sensor 1 Signal | ||||
4 | PU | 486 | TP Sensor 2 Signal | ||||
5-7 | -- | -- | Not Used | ||||
8 | L-GN | 432 | MAP Sensor Signal | ||||
9 | -- | -- | Not Used | ||||
10 | YE | 573 | Crankshaft Position Sensor Signal (1) | ||||
11 | L-BU | 1876 | Knock Sensor Signal (2) | ||||
12 | GY | 23 | Generator Field Duty Cycle Signal | ||||
13 | GY | 1716 | Knock Sensor Low Reference (1) | ||||
14 | L-GN | 5282 | Camshaft Phaser Exhaust Solenoid (1) | ||||
15-16 | -- | -- | Not Used | ||||
17 | TN | 1744 | Fuel Injector 1 Control | ||||
18 | L-GN/BK | 1745 | Fuel Injector 2 Control | ||||
19 | D-BU | 496 | Knock Sensor 1 Signal | ||||
20 | PK/BK | 1746 | Fuel Injector 3 Control | ||||
21 | OG/BK | 877 | Fuel Injector 7 Control | ||||
22 | TN/WH | 845 | Fuel Injector 5 Control | ||||
23 | YE/BK | 846 | Fuel Injector 6 Control | ||||
24 | D-BU/WH | 878 | Fuel Injector 8 Control | ||||
25 | D-GN | 5273 | Camshaft Position Exhaust Sensor (1) | ||||
26 | -- | -- | Not Used | ||||
27 | BN/WH | 5303 | Camshaft Position Intake Sensor Low Reference (2) | ||||
28 | GY | 2303 | Knock Sensor Low Reference (2) | ||||
29 | PU | 5284 | Camshaft Phaser Intake Solenoid (1) | ||||
30 | L-BU/BK | 844 | Fuel Injector Control (4) | ||||
31 | OG/BK | 5272 | Camshaft Phaser Intake Solenoid (2) | ||||
32 | OG | 5275 | Camshaft Position Intake Sensor (1) | ||||
33 | D-BU | 5300 | Camshaft Position Intake Sensor Supply Voltage (1) | ||||
34 | WH/BK | 5283 | Camshaft Phaser Exhaust Solenoid (2) | ||||
35 | TN | 5301 | Camshaft Position Intake Sensor Low Reference (1) | ||||
36 | OG/BK | 469 | Low Reference | ||||
37 | TN | 2752 | Low Reference | ||||
38 | TN | 2761 | Low Reference | ||||
39 | BN/WH | 2130 | Low Reference | ||||
40 | L-BU | 5302 | Camshaft Position Intake Sensor Supply Voltage (2) | ||||
41 | PU | 574 | Low Reference | ||||
42 | BN | 2129 | Low Reference | ||||
43 | PU | 5274 | Camshaft Position Exhaust Sensor (2) | ||||
44 | BN | 582 | TAC Motor Control - 2 | ||||
45 | GY | 5296 | Camshaft Position Exhaust Sensor Low Reference (1) | ||||
46 | L-GN | 5298 | Camshaft Position Exhaust Sensor Supply Voltage (2) | ||||
47 | BN | 5299 | Camshaft Position Exhaust Sensor Low Reference (2) | ||||
48 | YE | 581 | TAC Motor Control - 1 | ||||
49 | YE | 5276 | Camshaft Position Intake Sensor (2) | ||||
50 | L-GN | 1867 | 12-Volt Reference | ||||
51 | GY | 2701 | 5-Volt Reference | ||||
52-53 | -- | -- | Not Used | ||||
54 | YE | 410 | ECT Sensor Signal | ||||
55 | D-GN/WH | 428 | EVAP Canister Purge Solenoid Control | ||||
56-57 | -- | -- | Not Used | ||||
58 | PU | 2121 | IC 1 Control | ||||
59 | OG/WH | 2122 | IC 2 Control | ||||
60 | OG | 2127 | IC 7 Control | ||||
61 | L-BU | 2123 | IC 3 Control | ||||
62 | D-GN/WH | 2124 | IC 4 Control | ||||
63 | PU/WH | 2128 | IC 8 Control | ||||
64 | D-GN | 2125 | IC 5 Control | ||||
65 | GY | 2704 | 5-Volt Reference | ||||
66-67 | -- | -- | Not used | ||||
68 | OG | 225 | Generator Turn On Signal | ||||
69 | L-BU/WH | 2126 | IC 6 Control | ||||
70 | -- | -- | Not Used | ||||
71 | YE/BK | 5297 | Camshaft Position Exhaust Sensor Supply Voltage (1) | ||||
72 | -- | -- | Not Used | ||||
73 | BK/WH | 1551 | Ground | ||||
| |||||||
|---|---|---|---|---|---|---|---|
Connector Part Information |
| ||||||
Pin | Wire Color | Circuit No. | Function | ||||
1 | PU/WH | 3110 | Heated Oxygen Sensor High Signal Bank 1 Sensor (1) | ||||
2 | TN/WH | 3111 | Heated Oxygen Sensor Low Signal Bank 1 Sensor (1) | ||||
3 | PU/WH | 5281 | Heated Oxygen Sensor Pump Current Bank 2 Sensor (1) | ||||
4-11 | -- | -- | Not Used | ||||
12 | D-BU | 1936 | Primary Fuel Level Sensor Signal | ||||
13 | GY/WH | 3122 | Heated Oxygen Sensor Heater Low Control Bank 1 Sensor (2) | ||||
14-15 | -- | -- | Not Used | ||||
16 | OG/WH | 3223 | Heated Oxygen Sensor Heater Low Control Bank 2 Sensor (2) | ||||
17 | -- | -- | Not Used | ||||
18 | OG/BK | 1786 | Transmission Park/Neutral Signal (1) | ||||
19 | TN/WH | 3121 | Heated Oxygen Sensor Low Signal Bank 1 Sensor (2) | ||||
20 | PU | 3220 | Heated Oxygen Sensor High Signal Bank 2 Sensor (2) | ||||
21 | TN | 3221 | Heated Oxygen Sensor Low Signal Bank 2 Sensor (2) | ||||
22 | OG | 5280 | Heated Oxygen Sensor Input Pump Current Bank 2 Sensor (1) | ||||
23 | BN | 1174 | Oil Level Switch Signal | ||||
24 | L-BU | 1937 | Secondary Fuel Level Sensor Signal | ||||
25 | TN/WH | 331 | Oil Pressure Sensor Signal | ||||
26-36 | -- | -- | Not Used | ||||
37 | TN | 2759 | Fuel Tank Pressure Sensor Low Reference | ||||
38 | BK | 2755 | Oil Pressure Sensor Low Reference | ||||
39 | -- | -- | Not Used | ||||
40 | GY/WH | 3113 | Heated Oxygen Sensor Heater Low Control Bank 1 Sensor (1) | ||||
41 | L-GN | 3212 | Heated Oxygen Sensor Heater Low Control Bank 2 Sensor (1) | ||||
42 | GY | 2709 | 5-Volt Reference (LH1/LH2) | ||||
43 | PU | 3120 | Heated Oxygen Sensor High Signal Bank 1 Sensor (2) | ||||
44 | D-GN | 890 | Fuel Tank Pressure Sensor Signal | ||||
45 | PU/WH | 3210 | Heated Oxygen Sensor High Signal Bank 2 Sensor (1) | ||||
46 | TN/WH | 3211 | Heated Oxygen Sensor Low Signal Bank 2 Sensor (1) | ||||
47 | -- | -- | Not Used | ||||
48 | WH | 5279 | Heated Oxygen Sensor Pump Current Bank 1 Sensor (1) | ||||
49 | L-GN | 5278 | Heated Oxygen Sensor Input Pump Current Bank 1 Sensor (1) | ||||
50 | -- | -- | Not Used | ||||
51 | GY | 2705 | Oil Pressure Sensor 5-Volt Reference | ||||
52-56 | -- | -- | Not Used | ||||