GM Service Manual Online
For 1990-2009 cars only

Caution: Storing a jack, a tire, or other equipment in the passenger compartment of the vehicle could cause injury. In a sudden stop or collision, loose equipment could strike someone. Store all these in the proper place.

After you have put the compact spare tire on your vehicle, you will need to do the following to store the flat tire in your trunk.

  1. Store the jack and wheel wrench in their compartment in the trunk.
  2. When storing the jack, in the container, it must be raised until the screw end is flush with the edge of the jack.

  3. Store the flat tire as far forward in the trunk as possible.

The compact spare is for temporary use only. Replace the compact spare tire with a full-size tire as soon as you can.

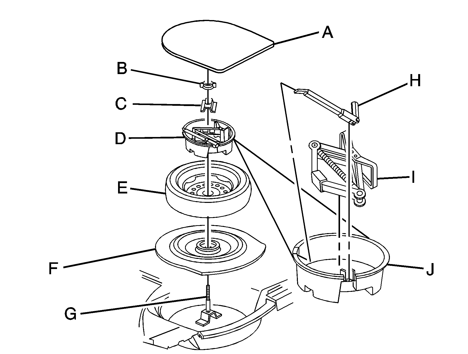
Use the following diagram as a guide for storing the compact spare tire in the trunk:


Object Number: 1450590  Size: B4
  1. Compact Spare Tire Cover

  2. Plastic Wing Nut

  3. Retainer

  4. Jack Container with Wheel Wrench and Jack

  5. Compact Spare Tire

  6. Foam Insert

  7. Bolt

  8. Wheel Wrench

  9. Jack

  10. Jack Container