GM Service Manual Online
For 1990-2009 cars only

Caution: Storing a jack, a tire, or other equipment in the passenger compartment of the vehicle could cause injury. In a sudden stop or collision, loose equipment could strike someone. Store all these in the proper place.

Full-Size Tire and Tools

After you have put the compact spare tire on your vehicle, you will need to do the following to store the flat tire in your trunk.

  1. Open the trunk. See Trunk .
  2. Store the jack and wheel wrench in the jack container in the trunk.
  3. When storing the jack, in the container, it must be raised until the screw end is flush with the edge of the jack.

  4. Store the flat tire as far forward in the trunk as possible.

The compact spare is for temporary use only. Replace the compact spare tire with a full-size tire as soon as you can.

Compact Spare Tire and Tools

Use the following diagram as a guide for storing the compact spare tire and tools in the trunk:


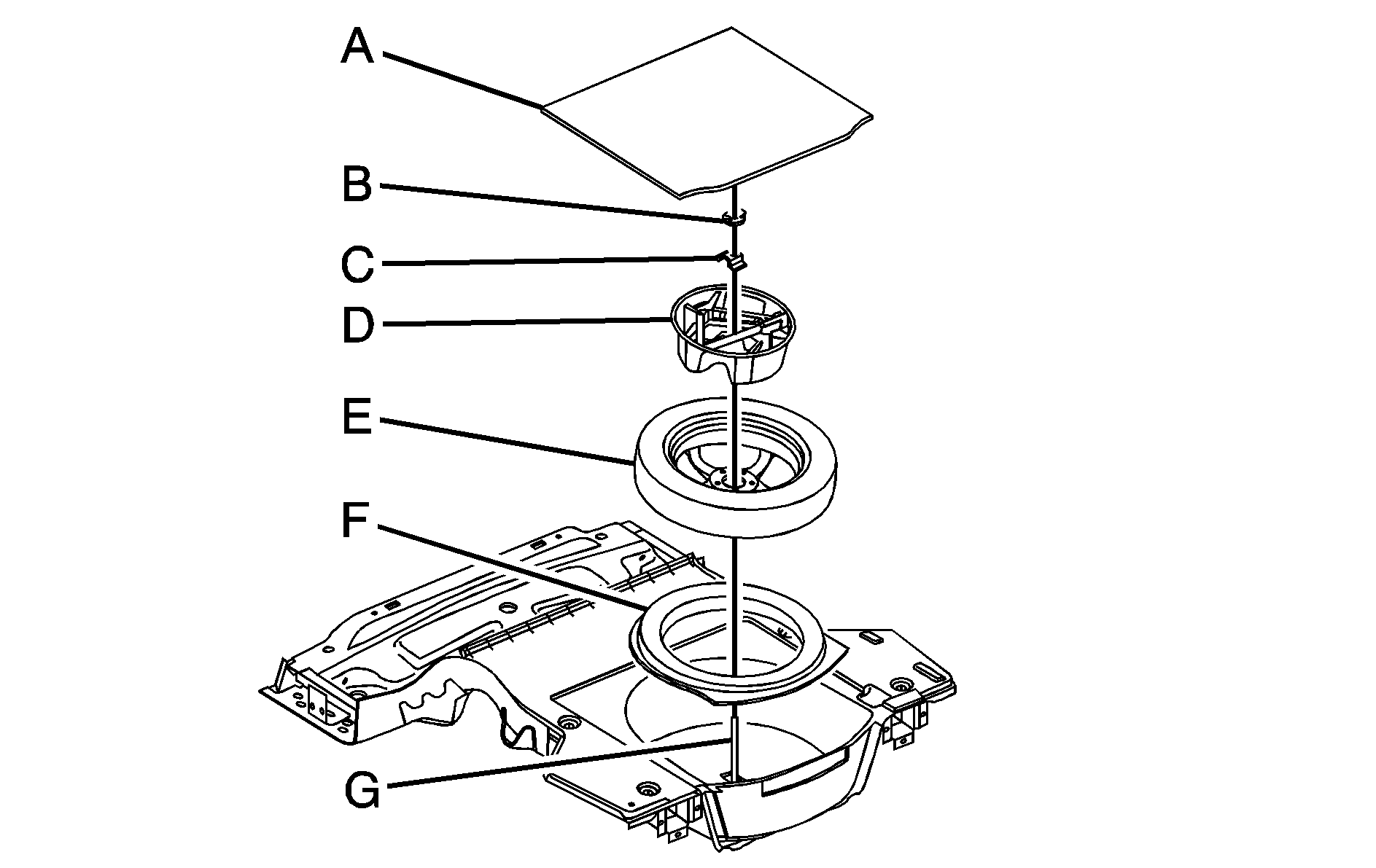
Object Number: 1711161  Size: B3
  1. Compact Spare Tire Cover

  2. Plastic Wing Nut

  3. Retainer

  4. Jack Container Package (With Wheel Wrench and Jack)

  5. Compact Spare Tire

  6. Foam Support

  7. Bolt

  1. Open the trunk. See Trunk .
  2. Make sure the foam support (F) is in place in the trunk area.
  3. Reinstall the compact spare tire (E) making sure to line up the wheel center hole with the bolt (G) and place on the compartment floor.
  4. Insert the jack container (D) with wheel wrench and jack into the center of the compact spare tire making sure to line up the wheel nut hole with the bolt (G) on the compartment floor.
  5. Secure the tire and wheel with the retainer (C) and wing nut (B).
  6. Reinstall the compact spare tire cover (A).