GM Service Manual Online
For 1990-2009 cars only

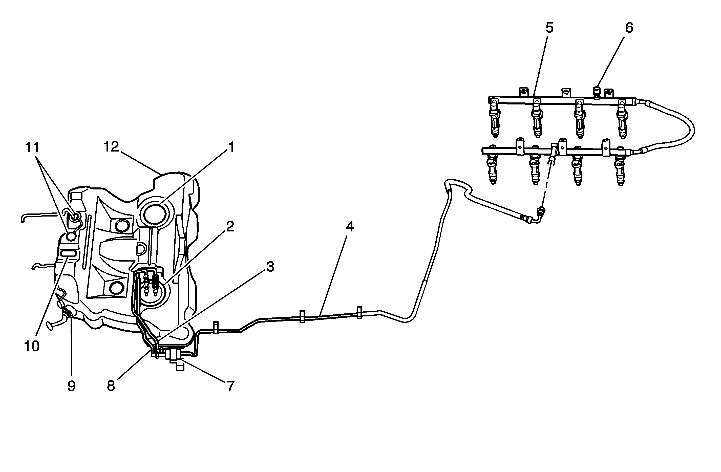
Object Number: 1677433  Size: MF
(1)Jet Pump and Fuel Sender Assembly
(2)Fuel Pump and Fuel Sender Assembly
(3)Fuel Feed Hose
(4)Fuel Feed Pipe
(5)Fuel Rail and Injectors
(6)Fuel Pressure Test Connection
(7)Fuel Filter
(8)Fuel Return Hose
(9)Fuel Filler Tube
(10)Fuel Tank Pressure (FTP) Sensor
(11)Fuel Level Vent Valve (FLVV)
(12)Fuel Tank