GM Service Manual Online
For 1990-2009 cars only

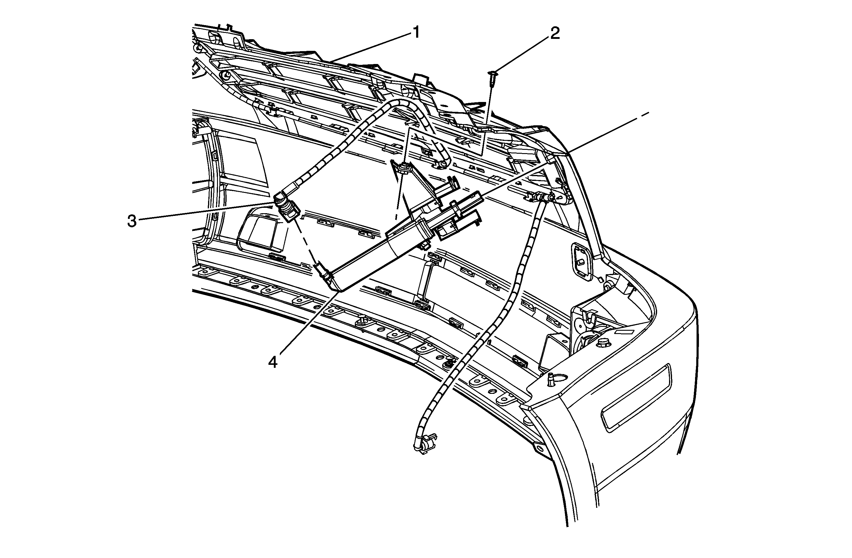
Headlamp Washer Nozzle Replacement STS


Object Number: 1469378  Size: MF

Callout

Component Name

Preliminary Procedure

Remove the front bumper fascia. Refer to Front Bumper Fascia Replacement

1

Front Bumper Fascia

2

Screw, Headlamp Washer Nozzle

Notice: Refer to Fastener Notice in the Preface section.

Tighten
2 N·m (18 lb in)

3

Headlamp Washer Hose Assembly

4

Headlamp Washer Nozzle

Tip

  1. Squeeze the locking tabs on the headlamp washer nozzle assembly together to remove and replace from the fascia.
  2. Pull the nozzle shaft out and lock in place with the washer nozzle locking tabs.
  3. Use a small flat-bladed tool to release the trim cover from the nozzle.