GM Service Manual Online
For 1990-2009 cars only
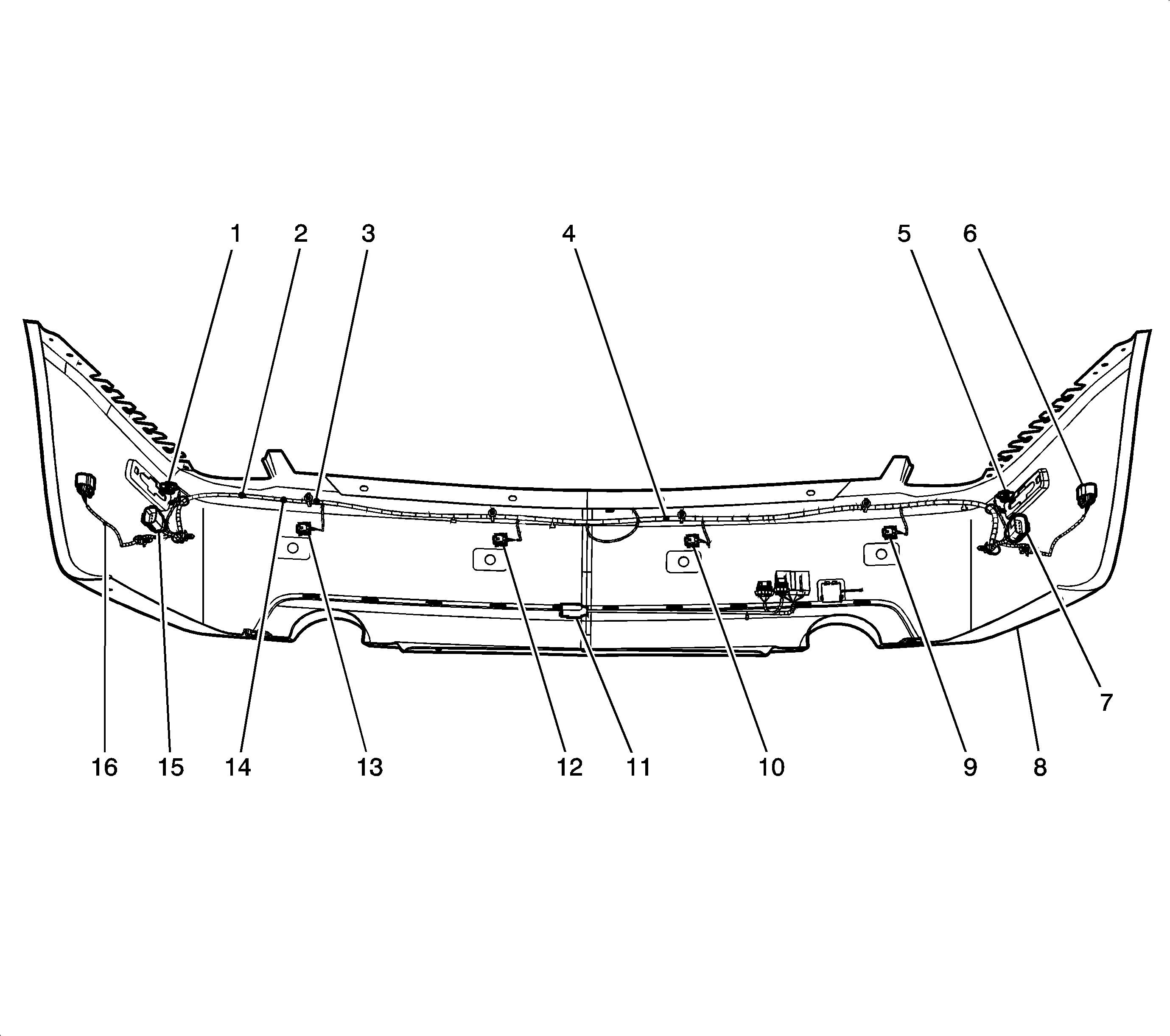
Figure 1:

Forward Lamp Harness


Object Number: 1415907  Size: MF
(1)Headlamp Leveling Actuator - Left Connector
(2)SP100
(3)Hood Ajar Switch Connector
(4)Cruise Control Module Connector
(5)Ambient Air Temperature Sensor Connector
(6)Air Quality Sensor Connector
(7)Headlamp Level Controller
(8)Fuse Block - Underhood C1
(9)C112
(10)C108
(11)C111 (w/ K59, TT6)
(12)S116
(13)C113 (LH2)
(14)G110
(15)G104
(16)Cooling Fan - Right Connector
(17)S110
(18)S111
(19)Cooling Fan - Left Connector
(20)Horn Assembly Connector
(21)C107
(22)Headlamp Assembly - Left Connector
Figure 2:

Forward Lamp Harness Routing (w/o T72/T84)


Object Number: 1819363  Size: LF
(1)C122
(2)C120
(3)Headlamp Assembly-LH
(4)Front Fascia
(5)Headlamp Assembly-RH
(6)C123
(7)C121
Figure 3:

Valley Jumper Harness (LH2)


Object Number: 1415924  Size: LF
(1)C104
(2)Starter
(3)Knock Sensor (KS) Bank 1 Connector
(4)Camshaft Position (CMP) Actuator Solenoid Intake Bank 1 Connector
(5)Camshaft Position (CMP) Actuator Solenoid Exhaust Bank 1 Connector
(6)Camshaft Position (CMP) Actuator Solenoid Exhaust Bank 2 Connector
(7)Camshaft Position (CMP) Actuator Solenoid Intake Bank 2 Connector
(8)Knock Sensor (KS) Bank 2 Connector
Figure 4:

Left Side of Engine (LY7)


Object Number: 1517698  Size: LF
(1)C115
(2)S120
(3)S137
(4)S128
(5)A129
(6)G112
(7)Coolant Temperature Sensor
(8)Oil Level Switch
(9)Front Cover
(10)Engine Control Module (ECM) C1
Figure 5:

Right Side of the Engine (LY7)


Object Number: 1517699  Size: LF
(1)C115
(2)C106
(3)G113
(4)S124
(5)S148
(6)S150
(7)S121
(8)G103
(9)S138
(10)S126
(11)S125
(12)G109
(13)S101
Figure 6:

Left Side of the Engine (LH2)


Object Number: 1419815  Size: LF
(1)Fuse Block - Underhood C5 Connector
(2)C140
(3)C102
(4)S115
(5)C139
(6)C105
(7)C175
(8)S104
(9)Engine Oil Pressure (EOP) Sensor Connector
(10)Wheel Speed Sensor - LF Connector
(11)Engine Control Module (ECM) - C1 Connector
(12)Engine Control Module (ECM) - C2 Connector
(13)Engine Control Module (ECM) - C3 Connector
(14)S105
(15)A/C Compressor Clutch Connector
(16)Mass Air Flow (MAF) Sensor Connector
(17)Transmission Control Module (TCM) Connector
Figure 7:

Right Side of the Engine (LH2)


Object Number: 1419816  Size: LF
(1)C102
(2)S103
(3)C139
(4)Evaporative Emissions (EVAP) Canister Purge Solenoid Connector
(5)C140
(6)S100
(7)Transmission Control Module (TCM) Connector
(8)Fuse Block - Underhood C5
(9)Brake Fluid Pressure Sensor Connector
(10)S118
(11)S117
(12)Electronic Brake Control Module (EBCM) Conector
(13)C113
(14)C100
(15)C101
(16)G107
(17)G100
(18)C104
(19)S113
(20)S147
Figure 8:

C126 and C127


Object Number: 1819365  Size: SF
(1)Headlamp Assembly - Right
(2)C127
(3)C126
(4)Headlamp Assembly - Left
Figure 9:

I/P Harness - Front


Object Number: 1419819  Size: LF
(1)Current Sensor Connector
(2)Washer Nozzle - Right (Export) Connector
(3)S219
(4)C102 (LH2)
(5)Washer Nozzle - Left (Export) Connector
(6)Low Coolant Switch Connector
(7)G101
(8)Headlamp Washer Relay Connector
(9)C112
(10)Fuse Block - Underhood C4
Figure 10:

C219


Object Number: 1819447  Size: LF
(1)Windshield
(2)Windshield Wiper/Washer Module
(3)Heated Washer Nozzle - Left (XA7/LC3)
(4)Heated Washer Nozzle - Right (XA7/LC3)
(5)C219 (XA7/LC3)
Figure 11:

Left/Right Side of I/P


Object Number: 1819453  Size: LF
(1)I/P Trim - RH Side
(2)C217
(3)C200
(4)C205
(5)C218
(6)I/P Trim - LH Side
Figure 12:

I/P Harness - Left


Object Number: 1419820  Size: LF
(1)SP201
(2)Instrument Panel Cluster (IPC) Connector
(3)S210
(4)S211
(5)C204
(6)S230
(7)S204
(8)C202
(9)C205
(10)Data Link Connector (DLC) Connector
(11)Fuse Block - Steering Column Fuse Box or Holder
Figure 13:

I/P Harness - Right


Object Number: 1419821  Size: LF
(1)C214
(2)C209
(3)S212
(4)S214
(5)C200
(6)S215
(7)C201
(8)C204
(9)C304
Figure 14:

Steering Column


Object Number: 1422299  Size: LF
(1)Telescoping Drive Motor
(2)Steering Column Lock Control Module
(3)Headlamp Switch
(4)Tilt/Telescope Switch
(5)C202
(6)Tilt Actuator
(7)C276
Figure 15:

C277


Object Number: 1819456  Size: LF
(1)C277
(2)Inflatable Restraint Steering Wheel Coil
Figure 16:

Body Harness - Front


Object Number: 1419817  Size: LF
(1)Fuse Block - RR
(2)G306
(3)Fuse Block - LR
(4)C302 (KA6)
(5)C700
(6)C300
(7)C301
(8)G307
(9)C205
(10)C205
(11)S207
(12)C500
(13)G200
(14)S205
(15)C204
(16)C206
(17)C201
(18)Fuse Block - Underhood C3
(19)Fuse Block - Underhood C2
(20)C213
(21)C212
(22)C101
(23)S208
(24)G201
(25)S209
(26)C600
(27)C200
(28)SP303
(29)S303
(30)S302
(31)S306
(32)C800
(33)S317
Figure 17:

Body Harness - Rear


Object Number: 1419818  Size: LF
(1)Backup Lamp - Right Connector
(2)S401
(3)Backup Lamp - Left Connector
(4)G402
(5)C308 (CF5)
(6)G401
(7)C305 (CF5)
(8)C401 (UD7)
(9)G403
(10)C310 (CF5)
Figure 18:

Front Body Harness - Left Side


Object Number: 1819433  Size: LF
(1)C300
(2)C317
(3)G306
(4)Fuse Block - LR
(5)C302
(6)Splice Pack SP300
(7)C323
(8)G307
(9)C301
(10)G200
(11)C321
(12)C205
Figure 19:

Front Body Harness - Right Side


Object Number: 1819436  Size: LF
(1)C318
(2)C204
(3)C212
(4)C206
(5)C201
(6)C100
(7)C101
(8)C200
(9)C217
(10)C322
(11)G201
(12)C307
(13)Splice Pack SP303
(14)C324
(15)Fuse Block - RR
Figure 20:

Driver Seat


Object Number: 1419822  Size: LF
(1)Seat Lumbar Horizontal Motor
(2)Seat Lumbar Vertical Motor
(3)S363
(4)S358
(5)Seat Lumbar Switch Connector
(6)Seat Adjuster Switch Connector
(7)S353
(8)S354
(9)C301
(10)S349
(11)C300
(12)S362
(13)S356
(14)S359
(15)S352
(16)S360
Figure 21:

Driver Seat Back


Object Number: 1819444  Size: LF
(1)C312
(2)C18
(3)C319
Figure 22:

Passenger Seat


Object Number: 1419823  Size: LF
(1)Seat Lumbar Vertical Motor
(2)Seat Lumbar Horizontal Motor
(3)S360
(4)S359
(5)S356
(6)S358
(7)C306
(8)C307
(9)S350
(10)S354
(11)S353
(12)Seat Adjuster Switch Connector
(13)Seat Lumbar Switch Connector
(14)S362
(15)S363
Figure 23:

Console Harness


Object Number: 1413482  Size: LF
(1)C212
(2)C213
(3)S313
(4)Traction Control Switch Connector
(5)Auxiliary Outlet Connector
(6)Active Console Antenna
(7)Rear Seat Audio Control Module Connector
(8)Console Antenna Connector
(9)Rear Mode Connector
(10)Hazard Switch Connector
(11)S311
(12)S312
(13)C304
Figure 24:

C215 and C216


Object Number: 1819448  Size: LF
(1)C216
(2)C304
(3)Rear Console
(4)C216
(5)Speaker - Rear Console (UY5)
Figure 25:

Front Body Harness Splices


Object Number: 1819459  Size: LF
(1)S209
(2)S208
(3)S411
(4)S413
(5)S317
(6)S306
(7)S353
(8)S205
(9)S207
Figure 26:

Behind the Rear Seats


Object Number: 1488569  Size: LF
(1)Rear Heated Seat Module
(2)Seat Back Frame
(3)Seat Cushion Frame
(4)C302 (KA6)
(5)C315 (KA6)
Figure 27:

Headliner Harness (w/o CF5)


Object Number: 1415922  Size: LF
(1)C305
(2)C308
(3)S309
(4)S308
(5)Vanity Mirror Lamp - Left Connector
(6)S310
(7)Inside Rearview Mirror Connector
(8)Rain Sensor Connector
(9)Vanity Mirror Lamp - Right Connector
Figure 28:

Headliner Harness (CF5)


Object Number: 1415923  Size: LF
(1)C309
(2)C305
(3)S308
(4)C308 (CF5)
(5)S309
(6)S310
(7)Sunroof Assembly
(8)Vanity Mirror Lamp - Left Connector
(9)Sunroof Control Switch Connector
(10)Inside Rearview Mirror Connector
(11)Rain Sensor Connector
(12)Vanity Mirror Lamp - Right Connector
Figure 29:

Left Front Door Frame and Trim Harnesses


Object Number: 1413495  Size: LF
(1)Driver Door Status Indicator
(2)C501
(3)Driver Door Lock Switch Connector
(4)Door Frame
(5)C500
(6)Speaker - LF Door Connector
(7)S502
(8)S501
(9)Door Courtesy Lamp - LF Connector
(10)Trunk Release Switch Connector
(11)S504
Figure 30:

Right Front Door Frame and Trim Harnesses


Object Number: 1413496  Size: LF
(1)Door Frame
(2)Passenger Door Lock Switch Connector
(3)Passenger Window Switch Connector
(4)C601
(5)Passenger Door Status Indicator Connector
(6)S601
(7)Trunk Release Switch Connector
(8)Door Courtesy Lamp - RF Connector
(9)S603
(10)S600
(11)Speaker - RF Door Connector
(12)C600
Figure 31:

Left Rear Door Frame and Trim Harnesses


Object Number: 1413493  Size: LF
(1)Window Switch - LR Connector
(2)Door Frame
(3)C700
(4)S700
(5)Speaker - LR Door Connector
(6)Door Courtesy Lamp - LR Connector
(7)C701
Figure 32:

Right Rear Door Frame and Trim Harnesses


Object Number: 1413488  Size: LF
(1)Door Frame
(2)C801
(3)Door Courtesy Lamp - RR Connector
(4)Window Switch - RR Connector
(5)Speaker - RR Door Connector
(6)S800
(7)C800
Figure 33:

C420


Object Number: 1819428  Size: LF
(1)Body Harness
(2)Fuel Tank
(3)C420
(4)Spare Tire Well
Figure 34:

Rear Fascia and Trailer Harnesses


Object Number: 1413485  Size: LF
(1)LR Side Marker Lamp Connector
(2)S400
(3)S404
(4)S402
(5)RR Side Marker Lamp Connector
(6)C401 (UD7)
(7)Tire Pressure Sensor - RR Connector
(8)Rear Fascia
(9)Object Sensor - RR Corner Connector
(10)Object Sensor - RR Middle Connector
(11)Trailer Harness
(12)Object Sensor - LR Middle Connector
(13)Object Sensor - LR Corner Connector
(14)S405
(15)Tire Pressure Sensor - LR Connector
(16)S140
Figure 35:

Rear Bumper Fascia - Export


Object Number: 1819437  Size: SF
(1)Object Sensor - RR Corner (UD7)
(2)Object Sensor - RR Middle (UD7)
(3)Object Sensor - RR Middle (UD7)
(4)Object Sensor - LR Corner (UD7)
(5)Marker Lamp - LR
(6)C402
(7)Tire Pressure Receiver - LR (UH3)
(8)Fog Lamp - LR (TT7/TT8)
(9)Fog Lamp - RR (TT7/TT8)
(10)C400
(11)Tire Pressure Receiver-RR (UH3)
(12)C401 (UD7)
(13)Marker Lamp - RR
Figure 36:

Engine Harness Routing 1 of 2 (LC3)


Object Number: 1704998  Size: LF
(1)C142 Engine Harness to Ignition Module Odd Harness Jumper
(2)S100
(3)S151
(4)S152
(5)S118
(6)S117
(7)C113 Engine Harness to Forward Lamp Harness
(8)C117 Engine Harness to Transmission Harness
(9)C101 Engine Harness to Body Harness
(10)C118 Engine Harness to Body Harness
(11)S101
Figure 37:

Engine Harness Routing 2 of 2 (LC3)


Object Number: 1705001  Size: LF
(1)S147
(2)C103 Engine Harness to I/P Harness
(3)C105 Engine Harness to Starter Jumper Harness
(4)S104
(5)S131
(6)C119 Engine Harness to Knock Sensor/Crankshaft Sensor Jumper Harness
(7)S102
(8)G100
(9)G107
(10)S113
(11)C141 Engine Harness to Ignition Module Even Jumper Harness
(12)C101 Engine Harness to Body Harness