GM Service Manual Online
For 1990-2009 cars only

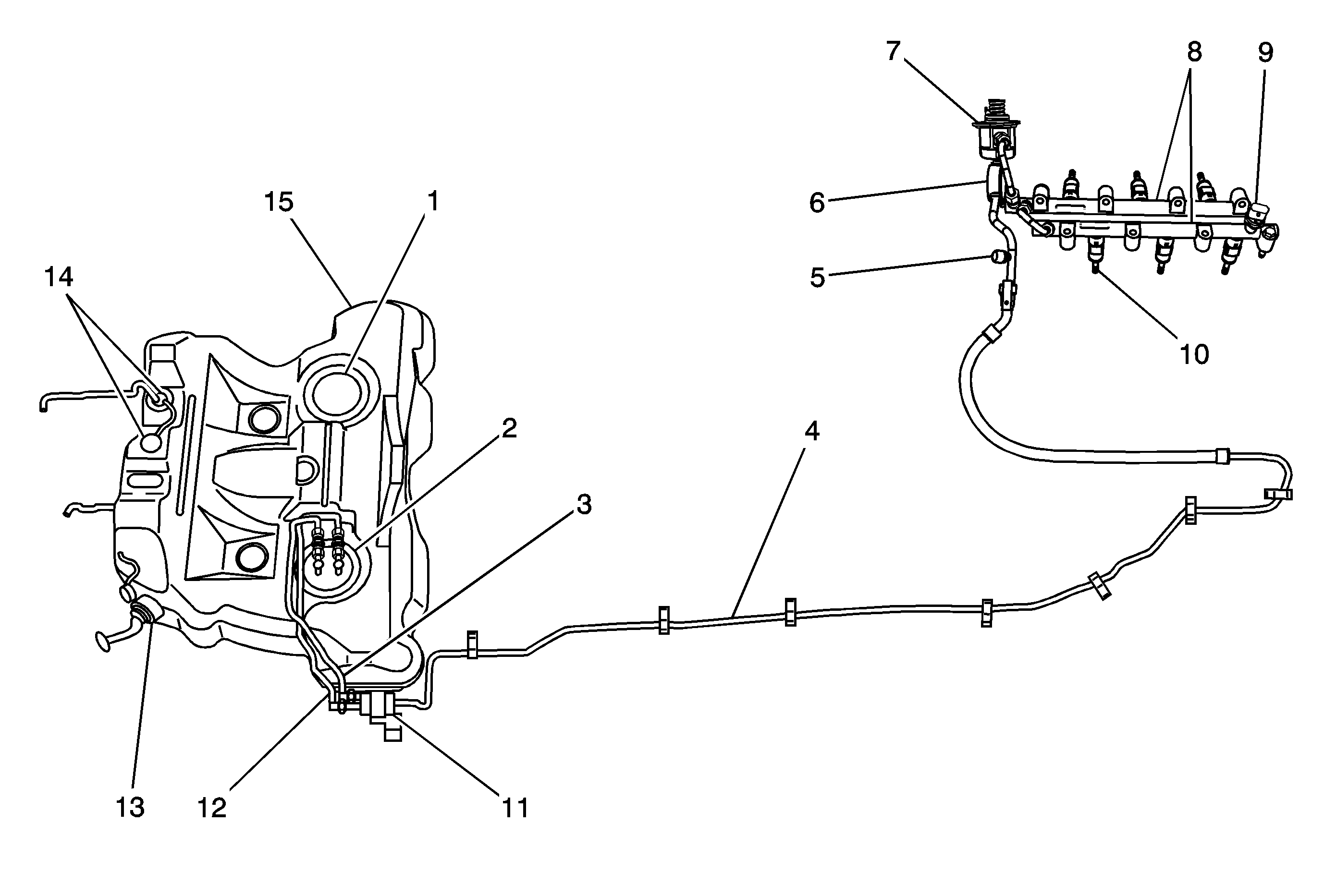
Fuel Hose/Pipes Routing Diagram with LLT


Object Number: 1885031  Size: MF
(1)Secondary Fuel Sender Assembly - Left
(2)Primary Fuel Sender Assembly - Right
(3)Fuel Feed Hose
(4)Fuel Feed Pipe
(5)Fuel Pressure Test Connection
(6)Fuel Pulse Dampener
(7)High Pressure Fuel Pump
(8)Fuel Rail
(9)Fuel Rail Pressure Sensor
(10)Fuel Injector
(11)Fuel Filter - if equipped
(12)Fuel Return Hose - if equipped
(13)Fuel Filler Tube
(14)Fill Limit Vent Valve (FLVV)
(15)Fuel Tank