GM Service Manual Online
For 1990-2009 cars only
Figure 1:

Driver and Passenger Side Outside Mirrors


Object Number: 1902428  Size: FS
Master Electrical Component List
Outside Mirror Description and Operation Power Mirrors
Control Module References
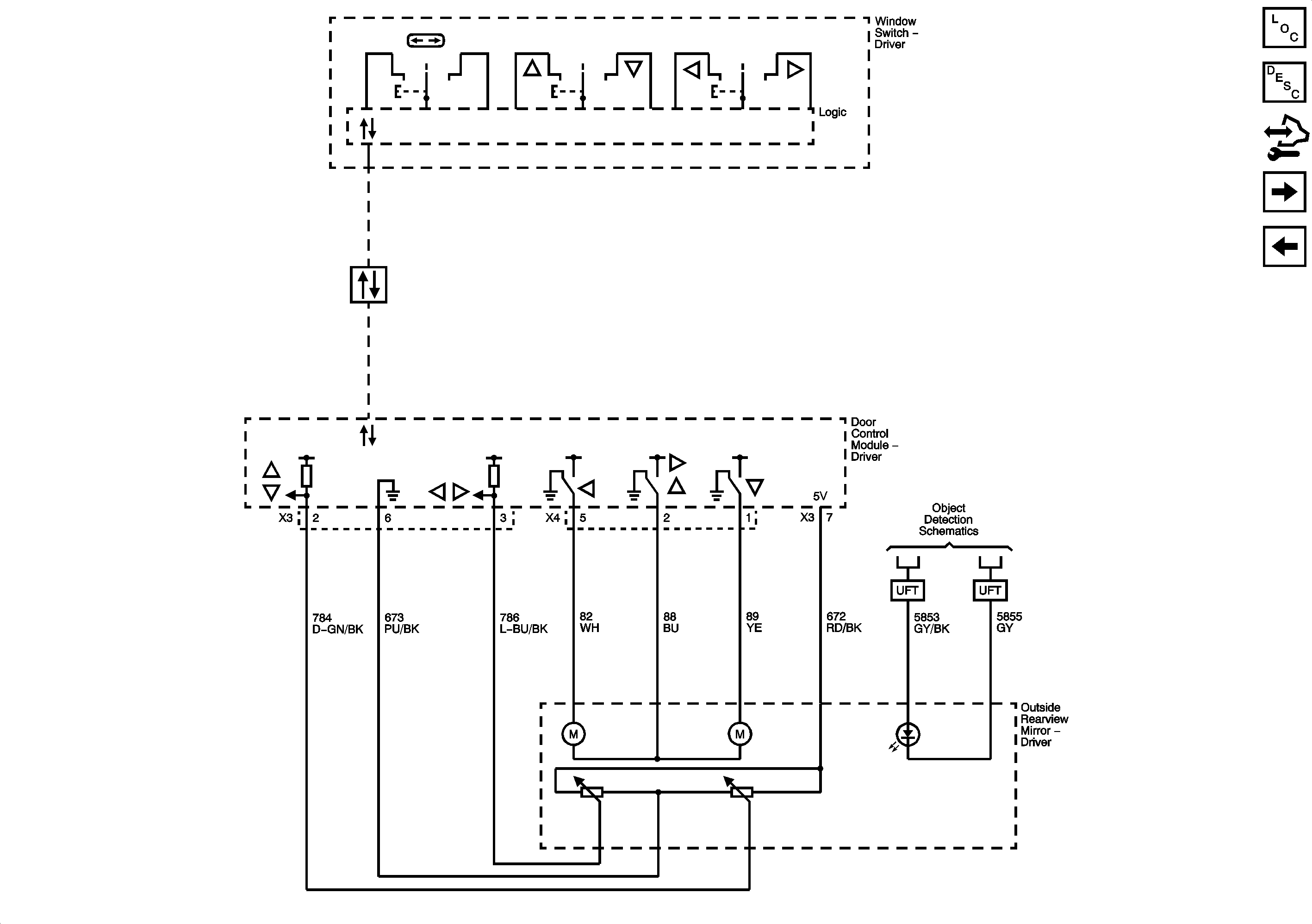
Driver Side Outside MIrror (A45)
Figure 2:

Driver Side Outside Mirror (A45)


Object Number: 1902430  Size: FS
Master Electrical Component List
Outside Mirror Description and Operation Power Mirrors
Control Module References
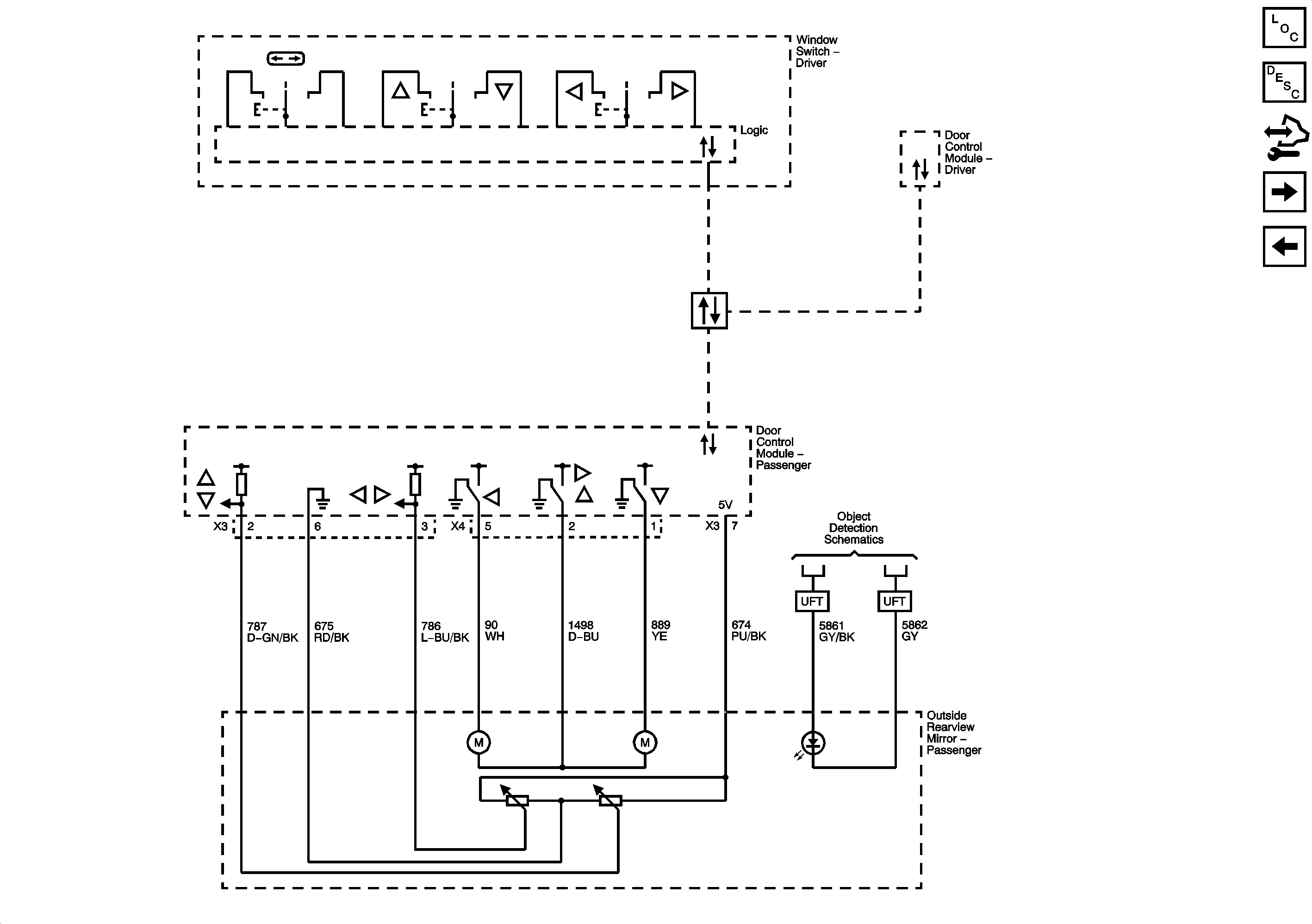
Passenger Side Outside MIrror (A45)
Driver and Passenger Side Outside Mirrors
Figure 3:

Passenger Side Outside Mirror (A45)


Object Number: 1902434  Size: FS
Master Electrical Component List
Outside Mirror Description and Operation Power Mirrors
Control Module References
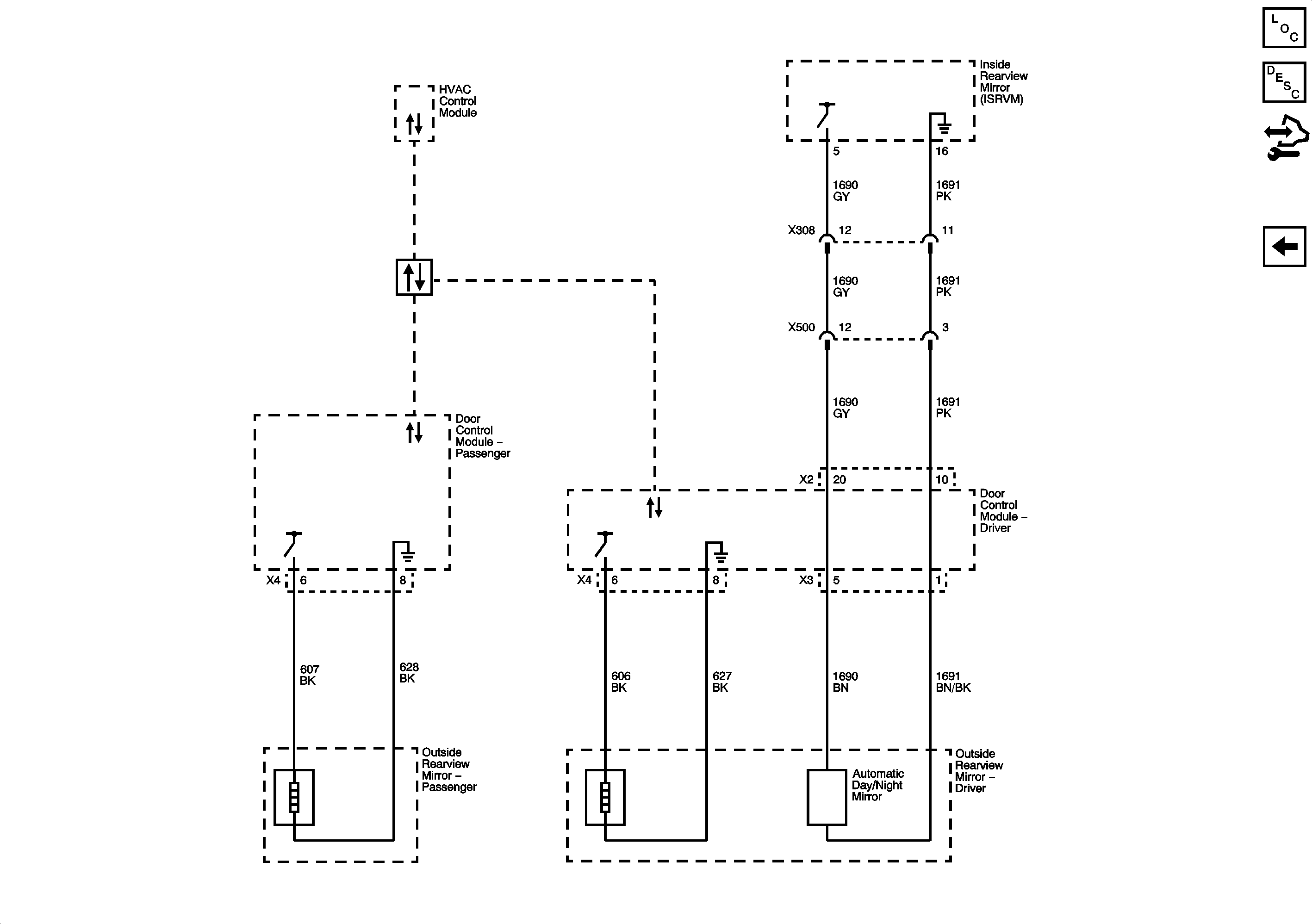
Heated Mirrors and Automatic Day/Night Mirror
Driver Side Outside MIrror (A45)
Figure 4:

Heated Mirrors and Automatic Day/Night Mirror


Object Number: 1902438  Size: FS
Master Electrical Component List
Outside Mirror Description and Operation Heated Mirrors
Control Module References
Passenger Side Outside MIrror (A45)