GM Service Manual Online
For 1990-2009 cars only
Makes
🢒
Cadillac
🢒
2009
🢒
STS
🢒
Power and Signal Distribution
🢒
Data Communications
🢒 Instrument Cluster Schematics
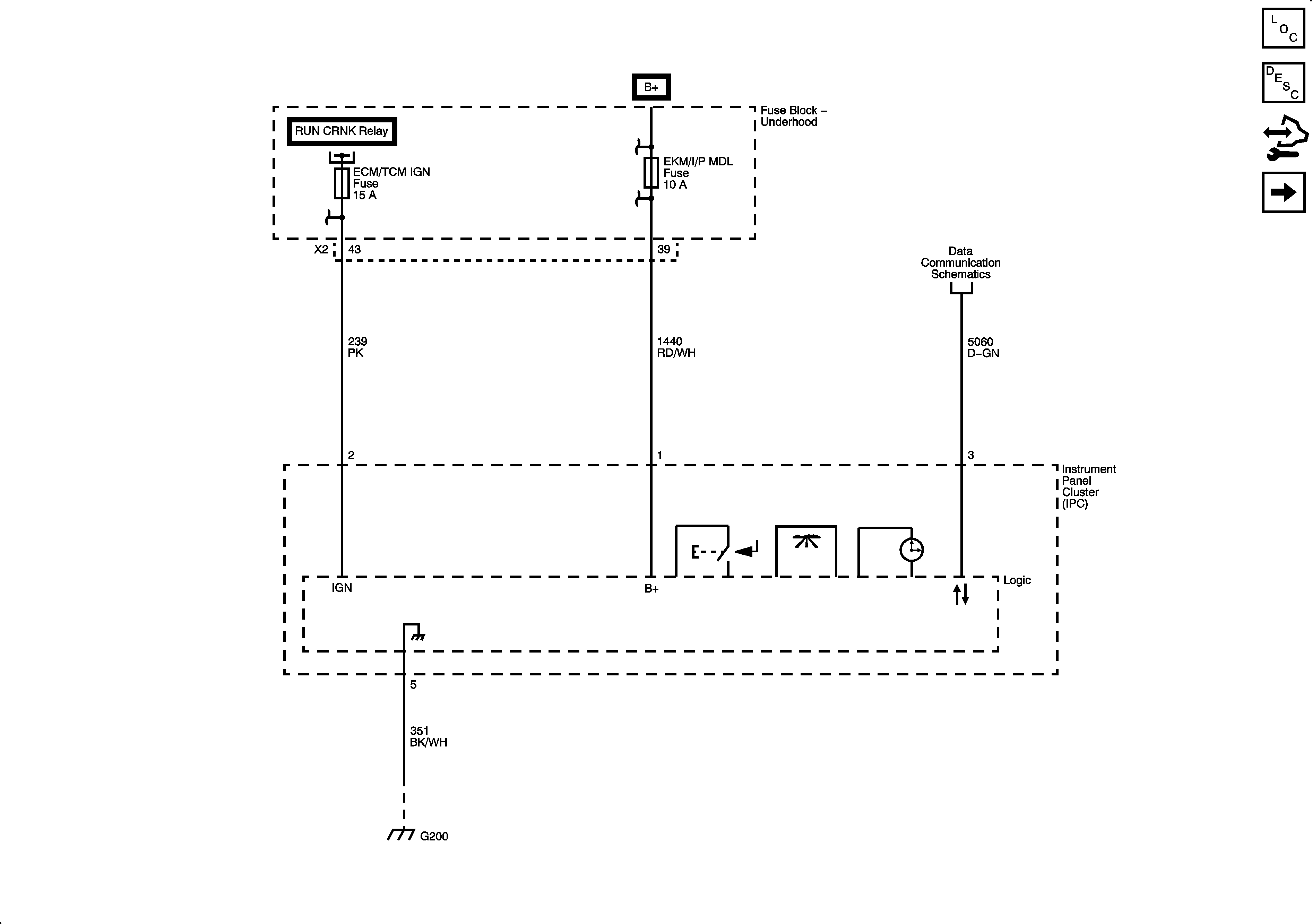
Figure
1:
Power, Ground, DLC, Odometer and Clock
Figure
2:
Indicators
Figure
3:
DIC/Dimmer Switch
Figure
4:
Engine Oil and Fuel Tank Level