GM Service Manual Online
For 1990-2009 cars only

BUMPER FILLER TO TAIL PANEL GAP (ADD FOAM AND REFIT)

SUBJECT: REAR BUMPER FILLER TO TAIL PANEL GAPPED

MODELS AFFECTED: 1992 SEVILLE AND STS ------------------------------------------------------------------------------

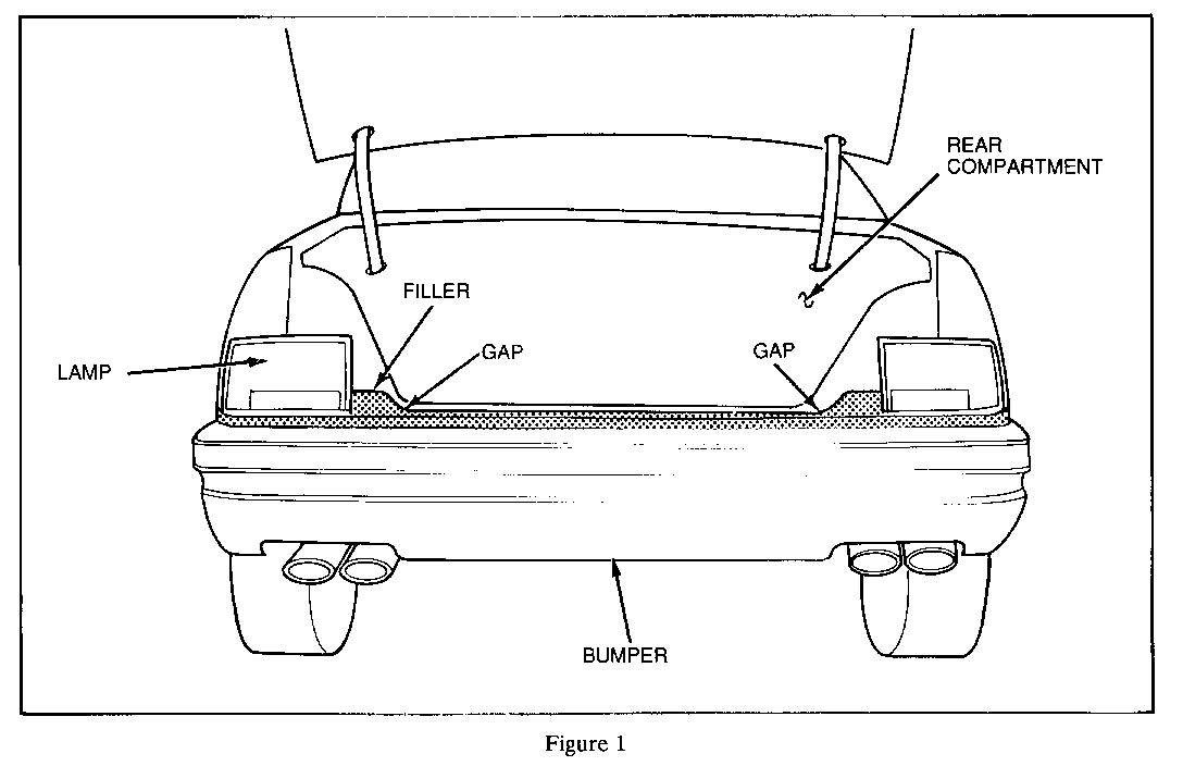
Some 1992 Sevilles built prior to December, 1991 may exhibit an objectionable gap between the rear bumper filler and the rear end panel. The gap exists in two places, to either side of the rear compartment opening, and is apparent only with the deck lid open. See Figure 1 for gap location.

To correct this condition you will need 3/8" half round extruded (closed cell) foam, such as P/N 40335 available from Kent Industries, or equivalent. (For continuity of appearance, the Kent foam is black in color and closely matches the deck lid weatherstrip.) Add foam seal to the back side of the filler panel according to the following procedures.

Evaluate:

--------- 1. Measure widest part of gap to determine method of seal attachment.

NOTE: Be sure filler is properly seated on top of body flange and fully forward prior to measuring gap.

If gap is 5.0 mm (3/16") or less, Loctite 401 or equivalent will be used to bond seal to filler panel. If gap is larger than 5.0 mm, use two-sided black foam tape (1mm thick) such as that available from Kent Industries, P/N 40519, or equivalent.

NOTE: An equivalent foam tape must be black to blend with the seal and weatherstrip.

2. Open deck lid.

Remove:

------- 3. From under vehicle, three push-in fasteners and two screws.

4. Filler panel.

Rework:

------- 5. Cut two seal strips from the half-round foam 160mm (7.25") long.

6. Clean back side of filler and the foam seals.

7. Apply adhesive to back of seal strip. If using foam tape, apply carefully to seal along one edge as shown in Figure 2, View A.

8. Using the outboard fastener tabs as reference, apply seal to back side of filler along top edge. Begin at the center line of the tab and proceed toward the center. Press firmly in place. See Figure 2 for proper seal application. Wipe off any excess sealer.

9. Loose fit filler to body and evaluate. If a small gap is visible between the filler and rear end panel between the seals, add 1/4" thick adhesive-backed foam to the filler between the two seals. Foam should again be applied along the top edge of the filler.

NOTE: Do not use foam larger than 1/4" as it may not allow the filler to seat correctly onto the body flange. This foam should also be black.

Assemble:

--------- 10. Filler to vehicle, centering for proper fit at quarters.

11. Screws securing filler to quarter, then push-in fasteners.

For warranty purposes use Labor Operation T6577 at .6 hour.


Object Number: 83264  Size: FS


Object Number: 84248  Size: FS

General Motors bulletins are intended for use by professional technicians, not a "do-it-yourselfer". They are written to inform those technicians of conditions that may occur on some vehicles, or to provide information that could assist in the proper service of a vehicle. Properly trained technicians have the equipment, tools, safety instructions and know-how to do a job properly and safely. If a condition is described, do not assume that the bulletin applies to your vehicle, or that your vehicle will have that condition. See a General Motors dealer servicing your brand of General Motors vehicle for information on whether your vehicle may benefit from the information.