GM Service Manual Online
For 1990-2009 cars only
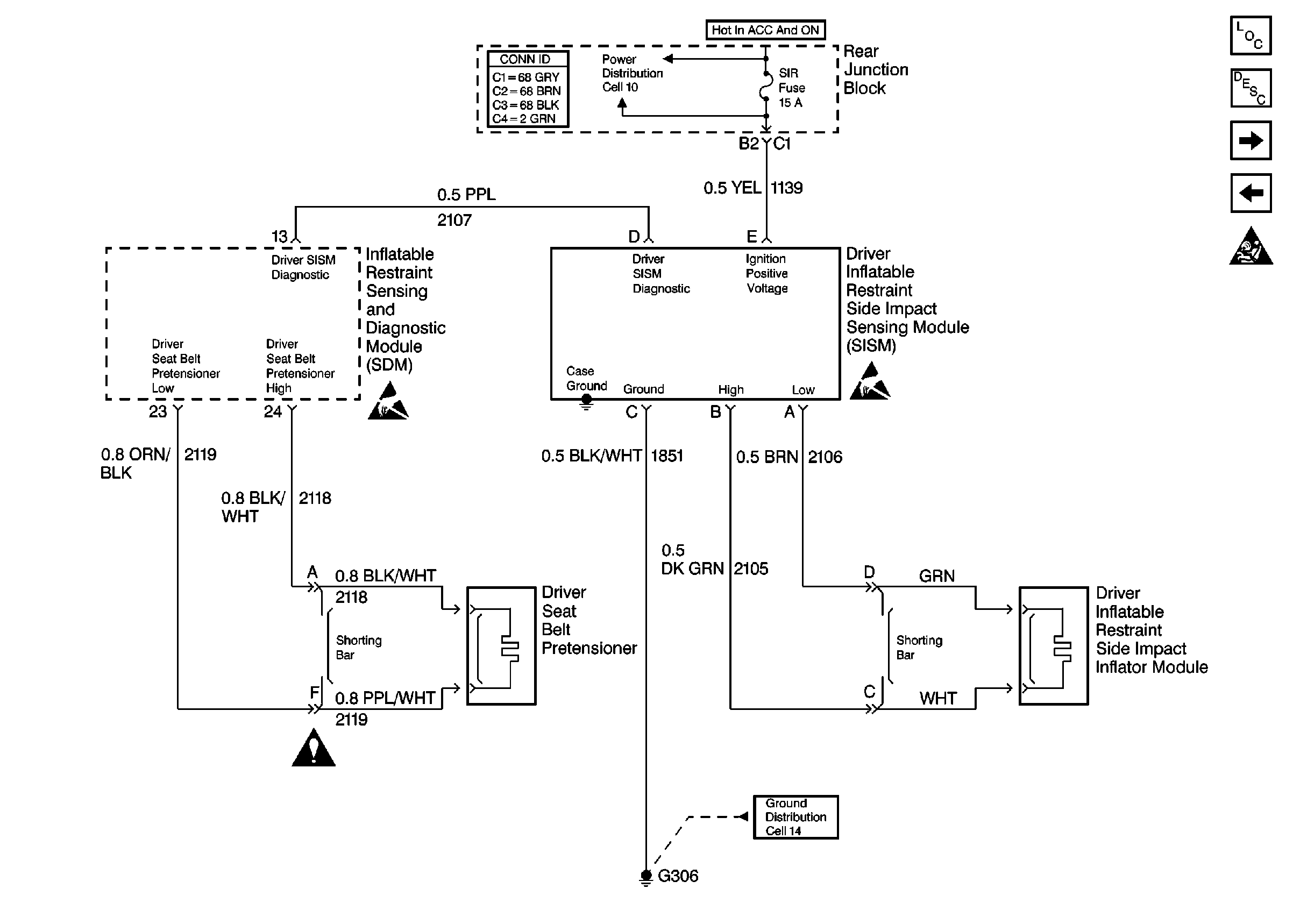
Figure 1:

Cell 47: SDM Power and Ground, Driver/Pass SIR and Class 2


Object Number: 106553  Size: FS
SIR Components
SIR System Operation
Cell 47: Driver SISM, Driver SIR, Driver Pretensioner
SIR Handling Caution
ESD Notice
Cell 10: IGN 1 Relay and SIR, VENT SOL, IGN 1 Fuses
Cell 14: G306
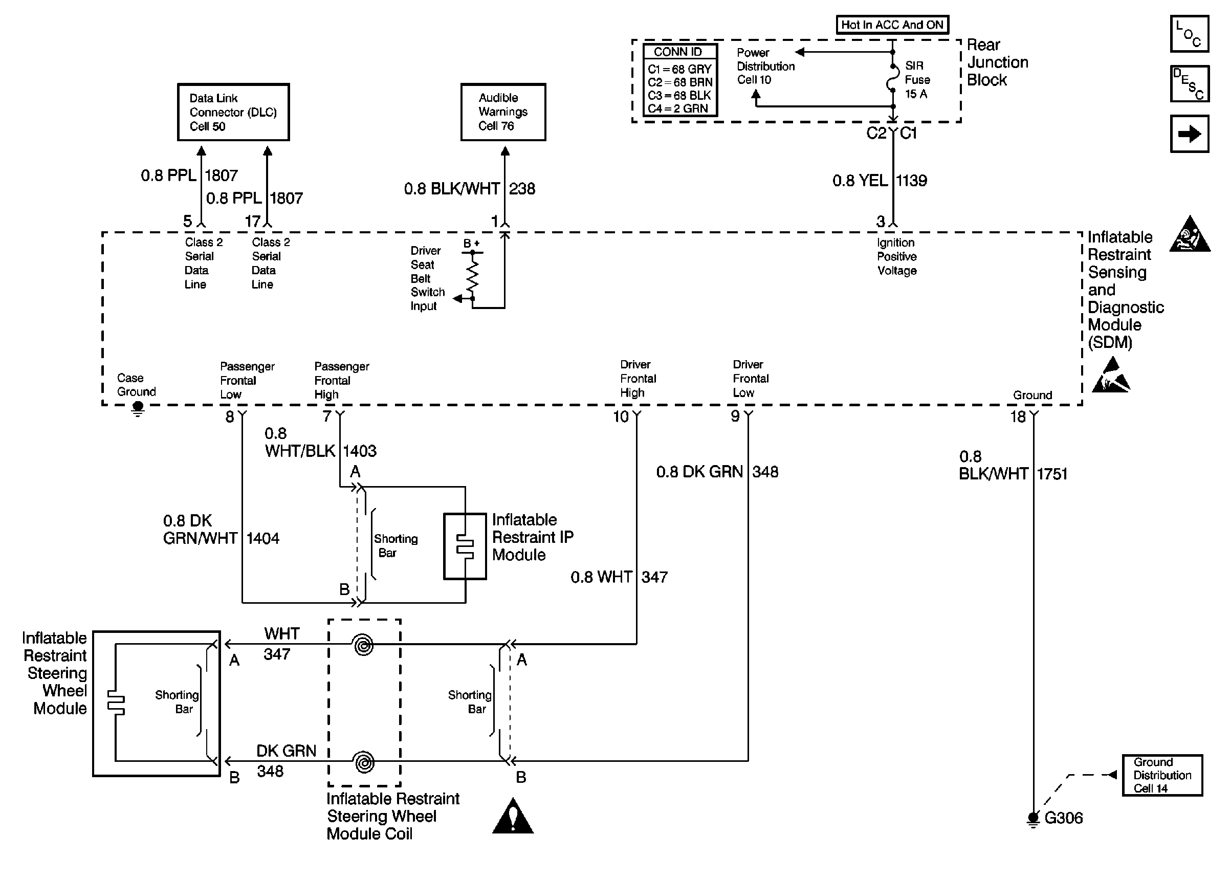
Cell 50: Class Serial Data Line (1 of 2)
Cell 76: Seat Belt and Headlamp Switches
SIR Schematic Icons
Figure 2:

Cell 47: Driver SISM, Driver SIR, Driver Pretensioner


Object Number: 106555  Size: FS
SIR Components
SIR System Operation
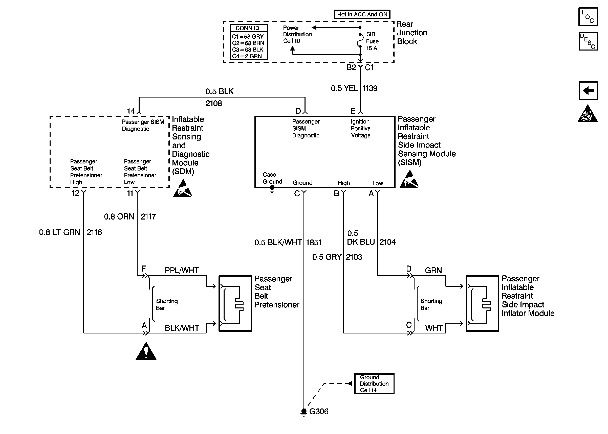
Cell 47: Passenger SISM, Passenger SIR, Passenger Pretensioner
Cell 47: SDM Power and Ground, Driver/Pass SIR and Class 2
SIR Handling Caution
ESD Notice
ESD Notice
Cell 10: IGN 1 Relay and SIR, VENT SOL, IGN 1 Fuses
Cell 14: G306
SIR Schematic Icons
Figure 3:

Cell 47: Passenger SISM, Passenger SIR, Passenger Pretensioner


Object Number: 106556  Size: FS
SIR Components
SIR System Operation
Cell 47: Driver SISM, Driver SIR, Driver Pretensioner
SIR Handling Caution
ESD Notice
ESD Notice
Cell 10: IGN 1 Relay and SIR, VENT SOL, IGN 1 Fuses
Cell 14: G306
SIR Schematic Icons