GM Service Manual Online
For 1990-2009 cars only

Cruise Control Switch Assembly - Pivot and Pulse Pivot/Pulse and Cruise Control

Disassembly Procedure

  1. Remove the upper and lower shrouds. Refer to Trim Covers, Shift Lever Seal Replacement - Off Vehicle .

  2. Object Number: 293259  Size: SH
  3. The column should be fully extended out before the disassembly procedure.
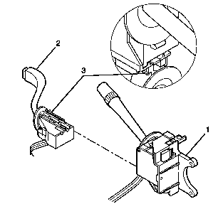
  4. Remove the two wire harness straps (2). Remove one wire harness strap (2) from the steering column tilt head assembly (1).


    Object Number: 293260  Size: SH
  5. Pop the wire harness assembly (1) from the wire harness strap (2).

  6. Object Number: 301912  Size: SH
  7. When working on the power tilt and telescope column remove 3 wire harness straps (2). Remove one wire harness strap (1).

  8. Object Number: 301914  Size: SH
  9. When working on the power tilt and telescope column remove the green (5), brown (4), natural (3) and the black (2) connectors from the Steering Column interface module assembly (1).

  10. Object Number: 301916  Size: SH
  11. When working on the power tilt and telescope column remove the Steering Column interface module assembly (2) from the lower wire shield (1).

  12. Object Number: 301919  Size: SH
  13. When working on the power tilt and telescope column pop open the lower wire shield (1) to remove the wire harness assembly (2).
  14. In the lower wire shield (1), notice which direction (3) and placement the wires are located.


    Object Number: 301882  Size: SH
  15. Remove the blue (1) and gray (2) connectors.

  16. Object Number: 301873  Size: SH
  17. Depress the tab (1) on the cruise control switch assembly (2) and remove.

  18. Object Number: 301878  Size: SH
  19. Depress the tabs (1) on the pivot & pulse switch assembly (3) and remove from the switch mounting bracket (2).

Assembly Procedure


    Object Number: 301885  Size: SH
  1. The column should be fully extended out before the assembly procedure.
  2. Insert the pivot & pulse switch assembly (2) into the switch mounting bracket (1).


    Object Number: 301888  Size: SH
  3. Insert the cruise control switch assembly (2) into the switch mounting bracket (1).

  4. Object Number: 301897  Size: SH
  5. Route the wires from the pivot & pulse switch assembly (3) and the cruise control switch assembly (2) into the wire harness assembly (1).

  6. Object Number: 301882  Size: SH
  7. Install the blue (2) and gray (1) connectors.

  8. Object Number: 293259  Size: SH
  9. Install two wire harness straps (2). Install one wire harness strap (2) into the steering column tilt head assembly (1).

  10. Object Number: 293260  Size: SH
  11. Pop the wire harness assembly (1) into the wire harness strap (2).

  12. Object Number: 301919  Size: SH
  13. When working on the power tilt and telescope column install the wire harness assembly (2) into the lower wire shield (1).
  14. In the lower wire shield (1) place the wires in the direction (3) shown.


    Object Number: 301916  Size: SH
  15. When working on the power tilt and telescope column slide the Steering Column interface module assembly (2) into the lower wire shield (1).

  16. Object Number: 301914  Size: SH
  17. When working on the power tilt and telescope column install the green (5), brown (4), natural (3) and the black (2) connectors into the Steering Column interface module assembly (1).

  18. Object Number: 301912  Size: SH
  19. When working on the power tilt and telescope column install the three wire harness straps (2) onto the wire harness assembly.
  20. Install the wire harness strap (1) into the steering column tilt head assembly.
  21. Install the upper and lower shrouds. Refer to Trim Covers, Shift Lever Seal Replacement - Off Vehicle .

Cruise Control Switch Assembly - Pivot and Pulse Switch Mounting Bracket

Disassembly Procedure

  1. Remove the upper and lower shrouds. Refer to Trim Covers, Shift Lever Seal Replacement - Off Vehicle
  2. Remove the upper tilt head components. Refer to Steering Column Tilt Head - Off Vehicle .

  3. Object Number: 301362  Size: SH
  4. Remove three pan head tapping screws (2) from the switch mounting bracket (1).

  5. Object Number: 301484  Size: SH
  6. Depress the tab (3) on the cruise control switch assembly (2) and remove from the switch mounting bracket (1).
  7. Let the cruise control switch assembly (2) hang freely.


    Object Number: 301491  Size: SH
  8. Depress the tabs (1) on the pivot & pulse switch assembly (3) and remove from the switch mounting bracket (2). Let the pivot & pulse switch assembly (3) hang freely.

Assembly Procedure


    Object Number: 301921  Size: SH
  1. Insert the pivot & pulse switch assembly (2) into the switch mounting bracket (1).

  2. Object Number: 301923  Size: SH
  3. Insert the cruise control switch assembly (2) into the switch mounting bracket (1).

  4. Object Number: 301362  Size: SH
  5. Install the switch mounting bracket (1).
  6. Notice: Use the correct fastener in the correct location. Replacement fasteners must be the correct part number for that application. Fasteners requiring replacement or fasteners requiring the use of thread locking compound or sealant are identified in the service procedure. Do not use paints, lubricants, or corrosion inhibitors on fasteners or fastener joint surfaces unless specified. These coatings affect fastener torque and joint clamping force and may damage the fastener. Use the correct tightening sequence and specifications when installing fasteners in order to avoid damage to parts and systems.

  7. Install the three head tapping screws (2).
  8. Tighten
    Tighten the screws to 7 N·m (62 lb in).

  9. Install the upper tilt head components. Refer to Steering Column Tilt Head - Off Vehicle .
  10. Install the upper and lower shrouds. Refer to Trim Covers, Shift Lever Seal Replacement - Off Vehicle