GM Service Manual Online
For 1990-2009 cars only

Front Seat Back Cushion Rear Side Tower Cover Gap (Rework Proced

Subject:Front Seat Back Cushion Rear Side Tower Cover Gap/Loose (Rework Procedure)

Models:1998 Cadillac Seville - Built Prior to 1/27/98



Condition

Some customers may comment that they can see a gap and/or a loose attachment between the seat back cushion rear upper side cover and the tower cover.

Correction

A design change to the front seat assemblies was made during the 1998 model year. In order to reinforce the top of the tower cover structurally on 1st Design seat assemblies, the following repair procedure is to be used.

The repair procedure consists of:

    • Reworking the front seat back cushion frame upper mounting bracket.
    • Installing a new front seat back trim panel bracket, P/N 16836974.
    • Installing a 2nd Design front seat back cushion rear side tower trim cover assembly.

Repair Procedure

  1. Remove the front seat back cushion trim panel (1). Refer to the Seat Back Trim Replacement -Front in the Seats sub-section in the 1998 Seville Service Manual.
  2. Remove the front seat back cushion rear side tower trim cover assembly (2).
  3. Move the seat to the full rearward position.

  4. Object Number: 587470  Size: SH
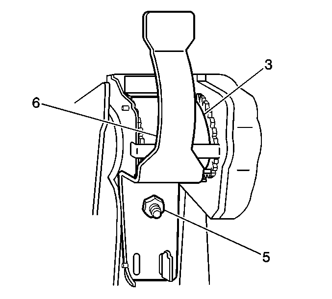
  5. Remove the front seat shoulder belt retractor retainer nut and washer (5) and move the shoulder belt retractor (3) to allow access to the upper mounting bracket (4) on the seat back frame assembly.
  6. Modify the front seat back cushion frame upper mounting bracket:
  7. • Cut the upper mounting bracket (4) as indicated.
    • Remove the sharp edges.

    Object Number: 587471  Size: SH
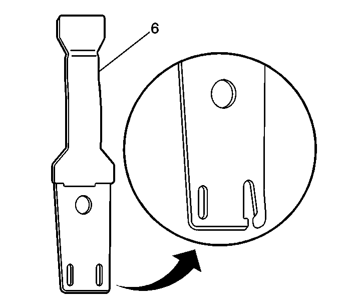
  8. Modify the new front seat back trim panel bracket (6), P/N 16836974 as indicated.

  9. Object Number: 587472  Size: SH
  10. Install on the seat back cushion frame shoulder belt retractor stud:
  11. • The washer.
    • The shoulder belt retractor (3).
    • The modified front seat back trim panel bracket (6) with the open slot over the extended inboard portion of the modified upper mounting bracket.
    • The retractor retainer nut (5).

    Tighten
    Tighten the front seat shoulder belt retractor retainer nut (5) to 35-45 N·m (26 lb ft-33 lb ft).

  12. Install the 2nd Design front seat back cushion rear side tower trim cover assembly by positioning it over the new front seat back trim panel bracket and sliding it downward in order to engage the bracket tab into the tower trim cover assembly slot.

  13. Object Number: 587474  Size: SH
  14. Attach the 2nd Design front seat back cushion rear side tower trim cover assembly to the front seat back cushion frame with two tie straps as indicated.
  15. Install the front seat back cushion trim panel. Refer to Seat Back Trim Replacement -Front in the Seats sub-section in the 1998 Seville Service Manual.

  16. Object Number: 588921  Size: SH

Parts Information

Part Numbers

Description

RPO Code

16836974

LH/RH Front Seat Back Trim Panel Bracket

--

--

2nd Design - Driver Seat Back Side Trim Cover Asm:

--

16820111

Lt Shale

153

16820113

Cappucino Cream

163

16820115

Black

193

16820117

Montana Blue

213

16820119

Med Dk Oak

673

16820121

Medici Red

773

16820123

Med Dk Pewter

923

16836845

Lt Wheat

502

--

2nd Design - Passenger Seat Back Side Trim Cover Asm:

--

16820110

Lt Shale

153

16820112

Cappucino Cream

163

16820114

Black

193

16820116

Montana Blue

213

16820118

Med Dk Oak

673

16820120

Medici Red

773

16820123

Med Dk Pewter

923

16836844

Lt Wheat

502

Parts are currently available from GMSPO.

Warranty Information

For vehicles repaired under warranty, use:

Labor Operation

Description

Labor Time

C7164

RH Cover, Seat Back Cushion Rear Side -- Replace

0.2 hr*

C7165

LH Cover, Seat Back Cushion Rear Side -- Replace

0.2  hr*

ADD

To Modify Front Seat Back Trim Panel Bracket -- P/N 16836974

0.6 hr

*This time is updated from the current Labor Time Guide. The next update of the Labor Time Guide will contain this change.