GM Service Manual Online
For 1990-2009 cars only
Makes
🢒
Cadillac
🢒
1998
🢒
Seville
🢒 Cell 142
Cell 142
Cell 142
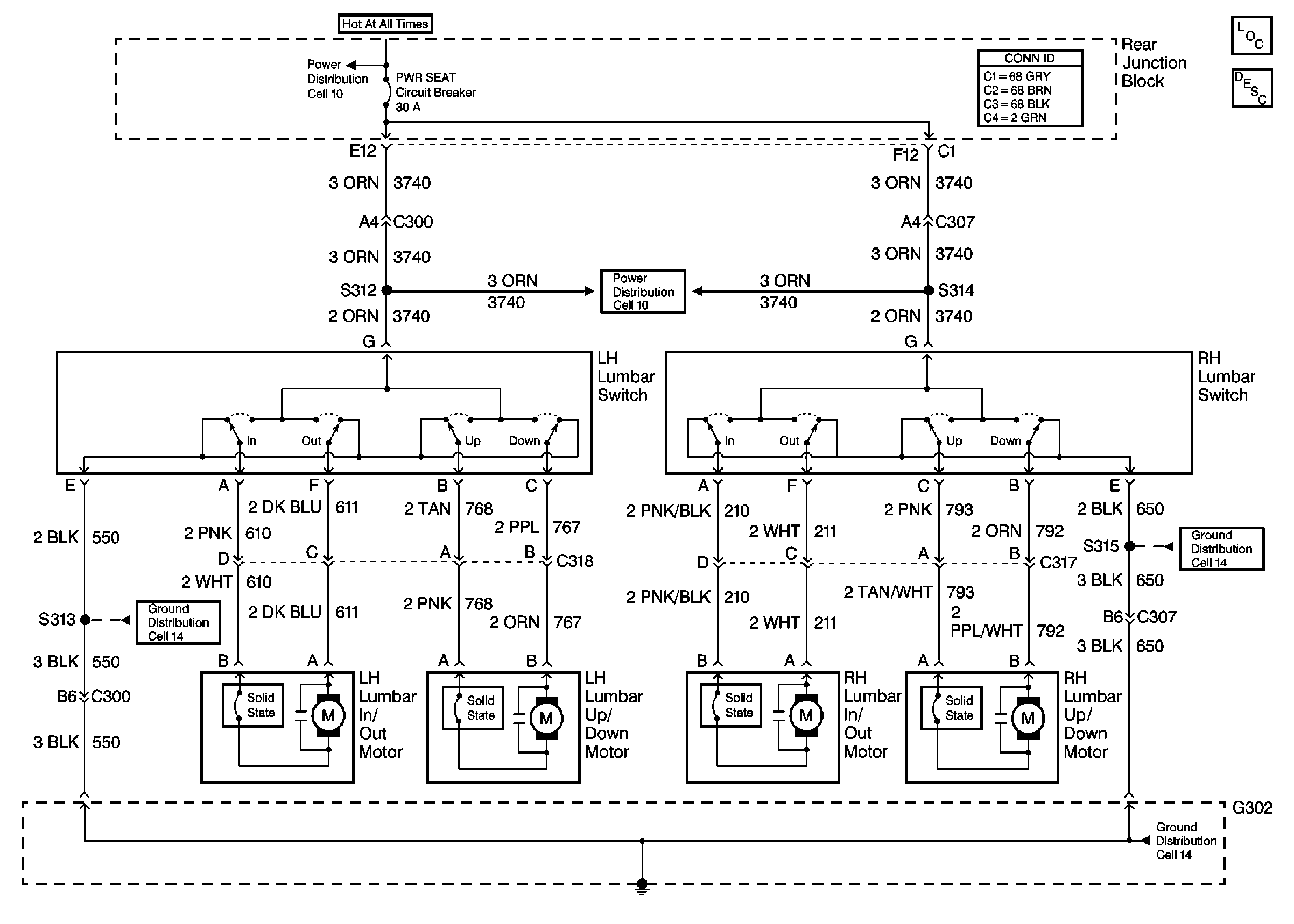
Power Seat Systems Components
Power Lumbar Circuit Description AL2
Cell 10: PWR WDO and PWR SEAT Circuit Breakers
Cell 14: G302
Cell 14: G302
Cell 14: G302
Cell 10: PWR WDO and PWR SEAT Circuit Breakers
Power and Grounding Connector End Views