GM Service Manual Online
For 1990-2009 cars only
Makes
🢒
Cadillac
🢒
1998
🢒
Seville
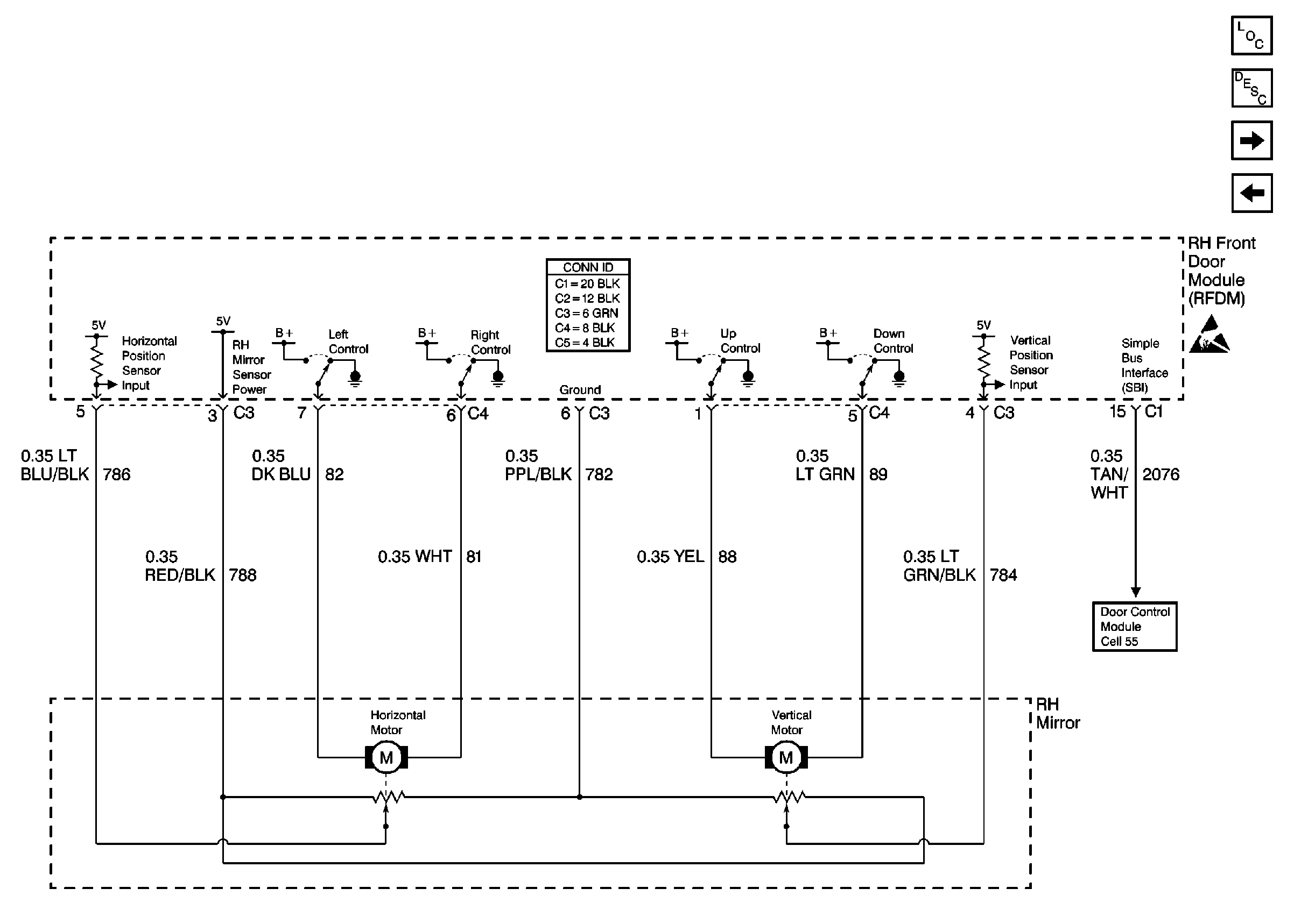
🢒 Cell 147 - RH Power Mirror with Memory (A45)
Cell 147 - RH Power Mirror with Memory (A45)
Cell 147 - RH Power Mirror with Memory (A45)
Power Door Systems Component Views
Outside Mirrors Circuit Description
Outside Mirrors Schematics (Cell 147-Heated Mirrors)
Cell 147 - LH Power Mirror with Memory (A45)
Handling ESD Sensitive Parts Notice
Cell 55: SBI
Power Door Systems Connector End Views