GM Service Manual Online
For 1990-2009 cars only

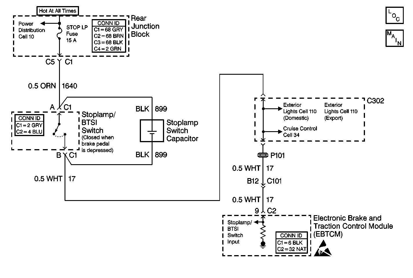
Object Number: 106465  Size: MF
ABS Components
Cell 44: Stoplamp/BTSI Switch and ANTILOCK Indicator
Handling ESD Sensitive Parts Notice
Cell 10: Battery - Rear Fuse(Junction) Block
Cell 34: Cruise Control Module PCM Controls and Vehicle Speed Input
Cell 110: Stop Lamps
Cell 110: Stop Lamps

Circuit Description

This circuit detects an open stoplamp/BTSI switch in the non-ABS mode. The EBTCM looks for a deceleration rate that indicates braking action and requires several repeats of this detection method in order to verify this assumption. In each case, the TCS will not be available since the EBTCM detects no stoplamp/BTSI switch voltage.

Conditions for Setting the DTC

    • The stoplamp/BTSI switch remains open for 3 deceleration cycles.
    • The DTC is set in the current or previous ignition cycle.

Action Taken When the DTC Sets

    • A malfunction DTC is stored.
    • The TCS is disabled.
    • The TRACTION CONTROL indicator is turned ON.
    • The ABS remains functional.

Conditions for Clearing the DTC

    • The condition for DTC is no longer present and you used scan tool Clear DTCs function.
    • The condition for DTC is no longer present and you used the On-Board Clear DTCs function.
    • The EBTCM does not detect the DTC in 50 drive cycles.

Diagnostic Aids

    • If any wheel speed sensor DTCs are present, diagnose them first. Refer to Diagnostic Trouble Code (DTC) List .
    • It is very important that a thorough inspection of the wiring and connectors be performed. Failure to carefully and fully inspect wiring and connectors may result in misdiagnosis, causing part replacement with reappearance of the malfunction.
    • An intermittent malfunction can be caused by a poor connection, broken insulation, or a wire that is broken inside the insulation.
    • If an intermittent malfunction exists, refer to Intermittents and Poor Connections Diagnosis in Wiring Systems.
    • This DTC may be caused by one of the following:
       - An open stoplamp/BTSI switch.
       - An open rear junction block STOP LP Fuse.
       - The stoplamp/BTSI switch is misadjusted.
       - Erratic wheel speeds.
       - Circuit has a wiring problem, terminal corrosion, or poor connections.

Test Description

The numbers below refer to step numbers on the diagnostic table.

  1. Checks if the stoplamp/BTSI switch and power distribution are functional.

  2. Checks for voltage at EBTCM.

  3. Checks the stoplamp/BTSI switch.

Step

Action

Value(s)

Yes

No

1

Did you perform the Diagnostic System Check?

--

Go to Step 2

Go to Diagnostic System Check

2

Are any wheel speed sensor DTCs present?

--

Go to Diagnostic Trouble Code (DTC) List

Go to Step 3

3

Press the brake pedal.

Do the brake lights come on?

--

Go to Step 4

Go to Step 7

4

  1. Turn OFF the ignition.
  2. Disconnect the EBTCM harness connector.
  3. Install the J 39700 universal pinout box using the J 39700-25 adapter cable to the EBTCM harness connector only.
  4. Turn ON the ignition, with the engine OFF.
  5. Press the brake pedal.
  6. Using a J 39200 DMM, measure the voltage at the J 39700 terminal 9.

Is the voltage within the specified range?

10.5-17 V

Go to Step 5

Go to Step 6

5

Replace the EBTCM. Refer to Electronic Brake Control Module Replacement .

Did you complete the repair?

--

Go to Diagnostic System Check

--

6

Repair the open in CKT 17. Refer to Wiring Repairs in Wiring Systems.

Did you complete the repair?

--

Go to Diagnostic System Check

--

7

Check the rear junction block STOP LP Fuse.

Is the fuse good?

--

Go to Step 8

Go to Step 12

8

  1. Disconnect the stoplamp/BTSI switch connector C1.
  2. Using a J 39200 DMM, measure the voltage at the stoplamp/BTSI switch harness connector C1 terminal A.

Is the voltage within the specified range?

Battery Voltage

Go to Step 10

Go to Step 9

9

Repair the open in CKT 1640. Refer to Wiring Repairs in Wiring Systems.

Did you complete the repair?

--

Go to Diagnostic System Check

--

10

Connect a fused jumper wire between the stoplamp/BTSI switch harness connector C1 terminals A and B.

Do the brake lamps come on?

--

Go to Step 11

Go to Step 6

11

Adjust or repair the stoplamp/BTSI switch as necessary. Refer to Stop Lamp Switch Replacement or Stop Lamp Switch Adjustment in Hydraulic Brakes.

Did you complete the repair?

--

Go to Diagnostic System Check

--

12

  1. Replace the STOP LP Fuse in the rear junction block. Do not press the brake pedal.
  2. Check the STOP LP Fuse.

Is the fuse good?

--

Go to Step 14

Go to Step 13

13

Repair short to ground in CKT 1640. Refer to Wiring Repairs in Wiring Systems.

Did you complete the repair?

--

Go to Diagnostic System Check

--

14

  1. Press the brake pedal.
  2. Check the rear junction block STOP LP Fuse.

Is the fuse good?

--

Go to Diagnostic System Check

Go to Step 15

15

  1. Turn OFF the ignition.
  2. Disconnect the EBTCM harness connector.
  3. Replace the fuse.
  4. Press the brake pedal.
  5. Check the rear junction block STOP LP Fuse.

Is the fuse good?

--

Go to Step 5

Go to Step 16

16

Repair short to ground in CKT 17. Refer to Wiring Repairs in Wiring Systems.

Did you complete the repair?

--

Go to Diagnostic System Check

--