GM Service Manual Online
For 1990-2009 cars only

Object Number: 261815  Size: MF
Body Control Module Components
Cell 50: Class Serial Data Line (1 of 2)
Handling ESD Sensitive Parts Notice
Cell 10: DRV MDL, PASS MDL, RRDR MDL, and ALDL Fuses

Circuit Description

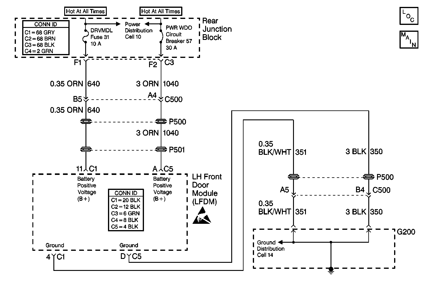
Battery Positive Voltage (B+) is supplied to the LH Front Door Module (LFDM) at the LFDM connector C1, terminal 11, CKT 640 (ORN). The LFDM monitors this voltage to determine if it is within a valid operating range.

Conditions for Setting the DTC

The Battery Positive Voltage (B+) level falls below 9 volts for approximately 1.2 seconds or more.

Action Taken When the DTC Sets

    • Stores a DTC B1983 in the LFDM memory.
    • The LFDM will not respond to any manual or memory inputs when the voltage is less than 9 volts
    • No driver warning message will be displayed for this DTC.
    • The LFDM switch failure and position sensor failure DTCs will not set while DTC B1983 is current.

Conditions for Clearing the DTC

    • The Battery Positive Voltage (B+) level rises above 9.5 volts for approximately 1.2 seconds.
    • Use the On-Boards clearing DTCs feature.
    • Use a scan tool.

Diagnostic Aids

The LFDM will not check for low Battery Positive Voltage (B+) during and for 2 seconds following the engine CRANK mode, this insures that DTC B1983 will not erroneously set.

Test Description

The numbers below refer to the step numbers on the diagnostic table:

  1. Perform the Power Door System Diagnostic System Check before continuing with the diagnosis of this DTC.

  2. Determines whether the malfunction is in the charging system or the LH Front Door Module (LFDM).

  3. Clear all DTCs after the repair procedure is complete.

DTC B1983 -- Source/Battery Voltage Low

Step

Action

Value(s)

Yes

No

1

Was the Power Door System Diagnostic System Check performed?

--

Go to Step 2

Go to Diagnostic System Check - Power Door Systems

2

  1. Connect a scan tool.
  2. Clear the driver door module DTCs.
  3. Start the engine.

Does the DTC reset?

--

Go to Step 3

Go to Charging System Check in Engine Electrical

3

  1. Start the engine.
  2. Select Powertrain Engine Data 1 (Ignition 1).

Does Ignition 1 voltage measure within the specified range?

10-15 V

Go to Step 4

Go to Charging System Check in Engine Electrical

4

Replace the LFDM. Refer to Door Control Module Replacement .

Is the LFDM replacement complete?

--

Go to Step 5

--

5

  1. Turn OFF the ignition switch.
  2. Reconnect or install any connectors or components that were disconnected or removed.
  3. Turn ON the ignition switch.
  4. Clear any DTCs. Refer to Diagnostic Trouble Code (DTC) Clearing .

Are all DTCs cleared?

--

Go to Diagnostic System Check - Power Door Systems

--