GM Service Manual Online
For 1990-2009 cars only

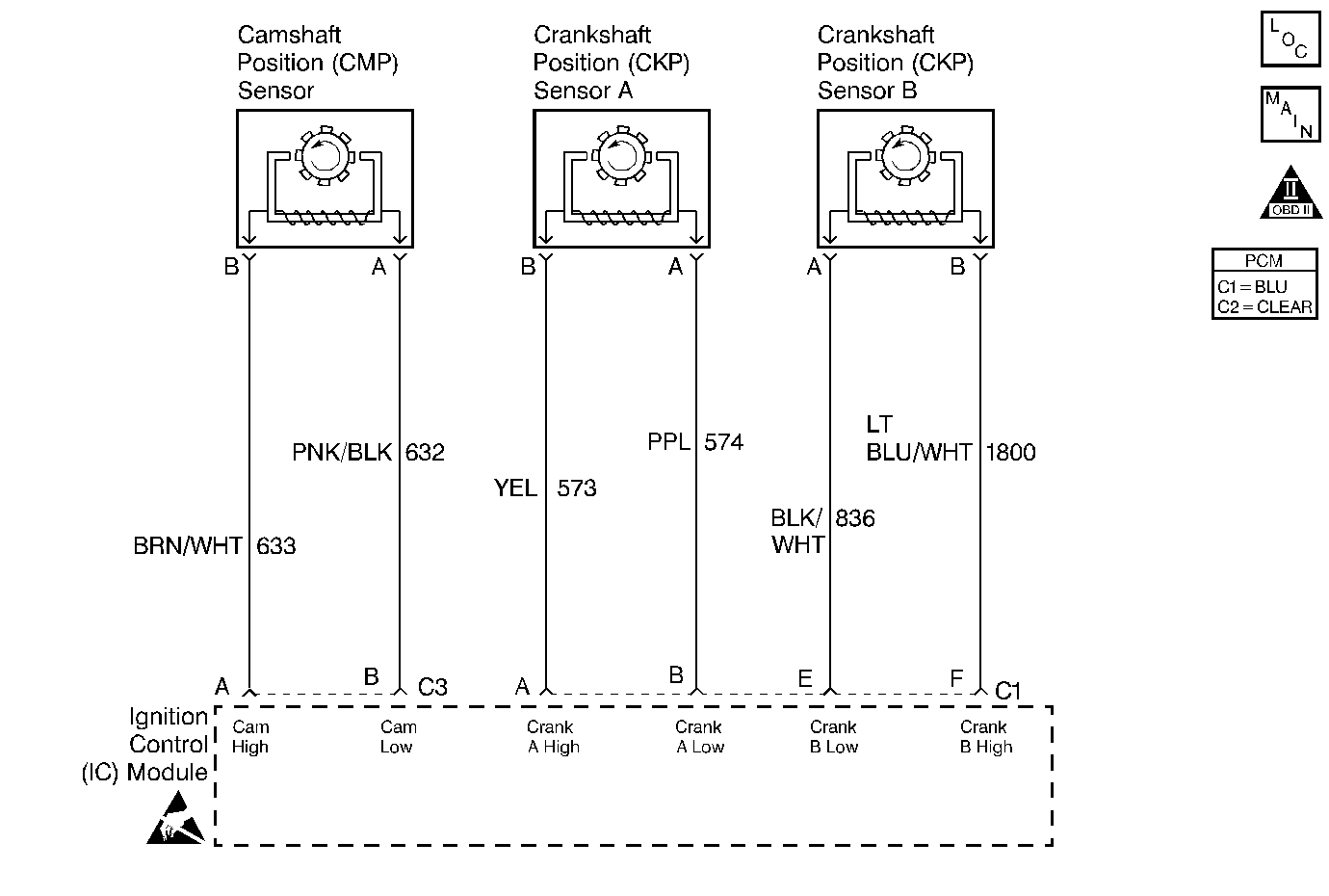
Object Number: 155164  Size: MF
Engine Controls Components
Cell 20: Ignition Control (IC) Module
OBD II Symbol Description Notice
ESD Notice

Circuit Description

The diagnostic test checks for CAM reference pulses not received when 4X reference pulses are being received. This indicates a CAM sensor circuit failure and DTC P0340 is set.

Conditions for Running the DTC

    •  DTC P0322 not set.
    •  4X reference pulses being received.
    •  Engine speed 1600 RPM or less.

Conditions for Setting the DTC

A CAM reference pulse was not received for 5.3 seconds.

Action Taken When the DTC Sets

    •  The PCM will illuminate the malfunction indicator lamp (MIL) when the diagnostic runs and fails.
    •  The PCM will record operating conditions at the time the diagnostic fails. This information will be stored in the Freeze Frame and Failure Records.

Conditions for Clearing the MIL/DTC

    •  The PCM will turn the MIL OFF after three consecutive drive trips that the diagnostic runs and does not fail.
    •  A Last Test Failed (current) DTC will clear when the diagnostic runs and does not fail.
    •  A History DTC will clear after forty consecutive warm-up cycles with no failures of any emission related diagnostic test.
    • Use a scan tool to clear DTCs.
    • Interrupting PCM battery voltage may or may not clear DTCs. This practice is not recommended. Refer to Clearing Diagnostic Trouble Codes in PCM Description and Operation.

Test Description

Number(s) below refer to the step number(s) on the Diagnostic Table.

  1. Check to see if DTC P1376 is set because a REF LO problem can cause other ignition problems.

  2. Checking if the PCM is receiving CAM pulses, The scan tool will not display 4X ref counts if CAM pulses are not received

  3. Checking for actual CAM pulses to the PCM.

Step

Action

Value(s)

Yes

No

1

Did you perform the Powertrain On-Board Diagnostic (OBD) System Check?

--

Go to Step 2

Go to Powertrain On Board Diagnostic (OBD) System Check

2

Connect a scan tool.

Is DTC P1376 also set?

--

Go to DTC P1376 Ignition Ground Circuit

Go to Step 3

3

  1. Start Engine and Idle.
  2. With Scan Tool still connected, view 4X Ref Counter.

Does the disply show any counts?

--

Fault not present.

Go to Step 4

4

  1. Turn the Key to OFF.
  2. Disconnect IC Module connector C3.
  3. Start engine and Idle
  4. Using DMM J 39200, select AC volts and measure the voltage across terminals A and B.

Is the voltage in the range specified?

1 - 4 volts

Go to Step 5

Go to Step 6

5

  1. Disconnect PCM connector C2.
  2. Remove terminal 4 and reconnect PCM connector C2
  3. Connect DMM to terminal 4 to ground set DMM to AC volts and push the Hertz button.
  4. Start and idle engine.

Is the frequency in the range specified?

5 - 9 Hz

Go to Step 10

Go to Step 8

6

Repair circuit(s) 632 and 633 for open/short or short to voltage.

Was a problem found and repaired?

--

Go to Powertrain Control Module Diagnosis for Verify Repair

Go to Step 7

7

Replace the cam sensor. Refer to Camshaft Position Sensor Replacement .

Is the replacement complete?

--

Go to Powertrain Control Module Diagnosis for Verify Repair

--

8

Repair circuit 630 for a open/short or short to voltage.

Was a problem found and repaired?

--

Go to Powertrain Control Module Diagnosis for Verify Repair

Go to Step 9

9

Replace the Ignition Control module. Refer to Ignition Control Module Replacement .

Is the replacement complete?

--

Go to Powertrain Control Module Diagnosis for Verify Repair

--

10

  1. Check terminal contact at the PCM connector C2 terminal 4.
  2. Repair terminal contact if needed.

Was terminal contact repaired?

--

Go to Powertrain Control Module Diagnosis for Verify Repair

Go to Step 11

11

Replace the PCM. Refer to Powertrain Control Module Replacement .

Is the replacement complete?

--

Go to Powertrain Control Module Diagnosis for Verify Repair

--