GM Service Manual Online
For 1990-2009 cars only

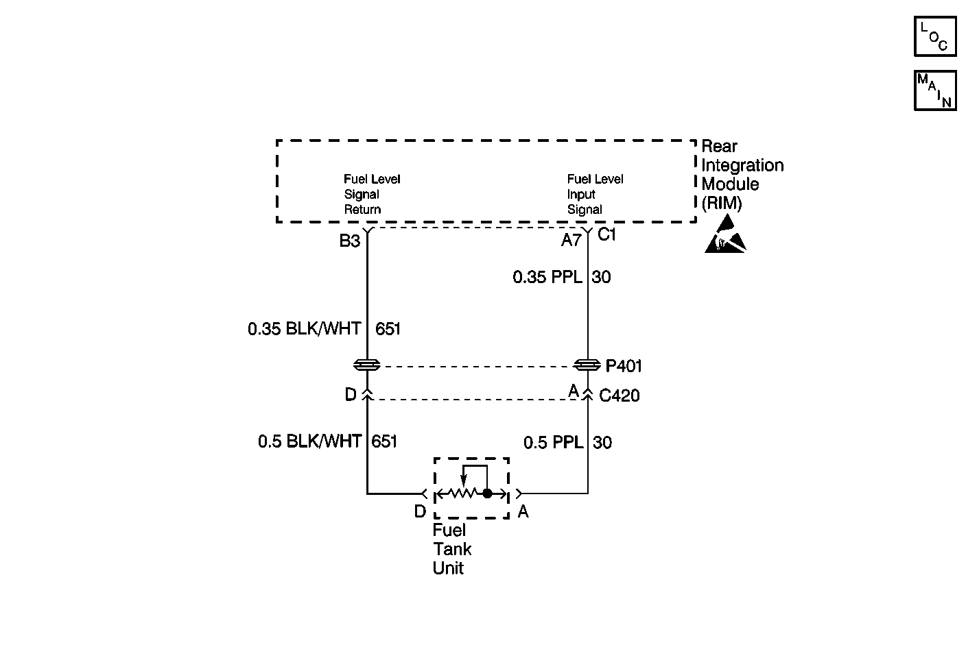
Object Number: 260503  Size: MF
Body Control Module Components
Body Control System Schematics

Circuit Description

When the ignition switch is in RUN, the Rear Integration Module (RIM) reads fuel level directly across terminals A7 and B3 on RIM connector C1. These terminals are wired to the fuel level sensor on CKT 30 (PPL) and CKT 651 (BLK). The fuel level sensor has a resistance range from 40 ohms (below E) to 250 ohms (above F). The RIM filters the raw fuel level data and transmits the fuel data in its filtered state to the Instrument Panel Cluster (IPC) via Class 2 serial data line. The RIM sends the IPC this filtered fuel at each change of 0.5 liters. The IPC uses the fuel data received from the RIM to determine the proper fuel gauge pointer position.

Conditions for Setting the DTC

    • DTC B0532 only sets if B1328 or B1327 is not current in RIM memory.
    • DTC B0532 sets if the fuel sensor feedback (across RIM connector C1 terminals A7 and B3) is shorted to ground or open. The RIM sets the DTC if the resistance across these terminals is greater than 276 ohms for 60 seconds.

Action Taken When the DTC Sets

    • DTC B0532 is stored in RIM memory.
    • The RIM sends a Class 2 message to the PCM that this condition exists. The message includes the fuel level equivalent of this resistance value.
    • The IPC drives the fuel gage pointer to E.
    • The Driver Information Center (DIC) displays the SERVICE FUEL SYSTEM message.

Conditions for Clearing the DTC

    • DTC B0532 clears (status changes from current to history) when the RIM no longer detects the conditions which caused the DTC to set.
    • A history DTC clears after 50 consecutive ignition cycles if the condition for the malfunction is no longer present.
    • Current and history DTCs may be cleared using a scan tool or using the IPC on-board clearing DTCs feature.

Diagnostic Aids

Refer to Fuel Gauge Inaccurate for additional diagnosis of the fuel gauge.

Test Description

The numbers below refer to the step numbers on the diagnostic table:

  1. Perform the Body Control Module Diagnostic System Check before continuing with the diagnosis of this DTC.

  2. Clear all DTCs and cycle ignition to check that the DTC did not erroneously set.

  3. Clear all DTCs after the repair procedure is complete.

DTC B0532 -- Fuel Level Sensor Shorted to Ground or Open

Step

Action

Value(s)

Yes

No

1

Was the Body Control Module Diagnostic System Check performed?

--

Go to Step 2

Go to Diagnostic System Check - Body Control System

2

  1. Turn ON the ignition switch.
  2. Clear any DTCs. Refer to Clearing DTCs.
  3. Turn OFF the ignition switch.
  4. Turn ON the ignition switch.
  5. Wait 60 seconds

Is the DTC still present?

--

Go to Step 3

System OK

3

  1. Disconnect the Rear Integration Module (RIM) connector C1.
  2. Using a DMM, measure resistance across connector C1 terminals A7 and B3.

Is resistance between 40 ohms and 250 ohms?

40 ohms-250 ohms

Go to Step 4

Go to Step 5

4

Check RIM connector C1 for damage. If OK, replace the RIM. Refer to Rear Integration Module Replacement.

Is replacement complete?

--

Go to Step 8

--

5

  1. Disconnect the fuel level sensor connector C420.
  2. Connect a fused jumper across the fuel level sensor connector terminals A and D.
  3. Using a DMM, measure the resistance across RIM connector C1 terminals A7 and B3.

Is the resistance 5 ohms or less?

5 ohms

Go to Step 7

Go to Step 6

6

Repair open CKT 30 (PPL) or CKT 651 (BLK).

Is circuit repair complete?

--

Go to Step 8

--

7

  1. Remove the jumper installed in step 5.
  2. Replace fuel level sensor. Refer to Fuel Level Sensor Replacement.

Is replacement complete?

--

Go to Step 8

--

8

  1. Turn OFF the ignition switch.
  2. Reconnect or install any connectors or components that were disconnected or removed.
  3. Turn ON the ignition switch.
  4. Clear any DTCs. Refer to Clearing DTCs.

Are all DTCs cleared?

--

Go to Diagnostic System Check - Body Control System

--