GM Service Manual Online
For 1990-2009 cars only

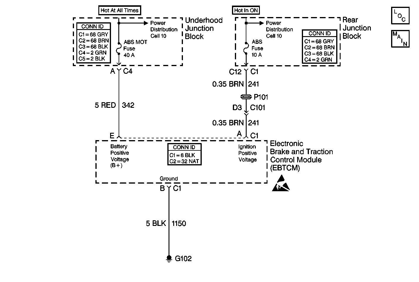
Object Number: 106505  Size: MF
ABS Components
Cell 44: PWR, GND, BPMV Pump Motor and Solenoids
Handling ESD Sensitive Parts Notice
Cell 10: Battery - Underhood Fuse(Junction) Block
Cell 10: IGN 3 Relay and HVAC, ABS Fuses

Circuit Description

The solenoid valve relay supplies power to the solenoid valves. The solenoid valve relay activates when the ignition is ON and when no DTCs are present. Power is supplied to the valve solenoids through the solenoid valve relay via CKT 442. Power is supplied to the pump motor via CKT 342. The ignition input is supplied via CKT 241.

Conditions for Setting the DTC

    • The ignition voltage is greater than 10.5 volts.
    • The solenoid relay is commanded ON.
    • The solenoid relay voltage is less than 8.0 volts.

Action Taken When the DTC Sets

    • A malfunction DTC is stored.
    • The ABS/TCS/Stabilitrak® is disabled.
    • The ABS indicator is turned ON.
    • The TRACTION CONTROL indicator is turned ON.
    • The DIC displays the SERVICE STABILITY SYS message.

Conditions for Clearing the DTC

    • The condition for DTC is no longer present and you used scan tool Clear DTCs function.
    • The condition for DTC is no longer present and you used the On-Board Clear DTCs function.
    • The EBTCM does not detect the DTC in 50 drive cycles.

Diagnostic Aids

    • It is very important that a thorough inspection of the wiring and connectors be performed. Failure to carefully and fully inspect wiring and connectors may result in misdiagnosis, causing part replacement with reappearance of the malfunction.
    • An intermittent malfunction can be caused by poor connections, broken insulation, or a wire that is broken inside the insulation.
    • If an intermittent malfunction exists, refer to Intermittents and Poor Connections Diagnosis in Wiring Systems.
    • The relays are integral to the EBTCM and are not serviceable.

Test Description

The numbers below refer to step numbers on the diagnostic table.

  1. Checks for a short to ground in CKT 342.

  2. Checks for an internal short in the BPMV.

  3. Checks for an open in CKT 342 (RED).

Step

Action

Value(s)

Yes

No

1

Did you perform the Diagnostic System Check?

--

Go to Step 2

Go to Diagnostic System Check

2

Check the underhood junction block ABS MOTOR Fuse.

Is the fuse OK?

--

Go to Step 7

Go to Step 3

3

  1. Install a new ABS MOTOR Fuse.
  2. Turn OFF the ignition.
  3. Turn ON the ignition, with the engine OFF.
  4. Recheck the ABS MOTOR Fuse.

Is the fuse OK?

--

Go to Diagnostic System Check

Go to Step 4

4

  1. Turn OFF the ignition.
  2. Remove the ABS MOTOR Fuse.
  3. Disconnect the EBTCM.
  4. Disconnect the pump motor ground.
  5. Install the J 39700 universal pinout box using the J 39700-25 cable adapter to the EBTCM harness connector only.
  6. Using a J 39200 DMM, measure the resistance between the J 39700 terminals E and B.

Is the resistance within the specified range?

OL (infinite)

Go to Step 5

Go to Step 10

5

  1. Remove the EBTCM from the BPMV.
  2. Connect the J 41247 pinout box to the BPMV.
  3. Measure the resistance between J 41247 terminal 8 and the BPMV case.

Is the resistance within the specified range?

OL (infinite)

Go to Step 9

Go to Step 6

6

Replace the BPMV. Refer to Brake Pressure Modulator Valve Replacement .

Did you complete the repair?

--

Go to Diagnostic System Check

--

7

  1. Install the ABS MOTOR Fuse, if removed.
  2. Using a J 39200 DMM, measure the voltage at the ABS MOTOR Fuse by probing between the fuse test terminals and a good ground.

Is the voltage within the specified range?

Battery Voltage

Go to Step 8

Go to Wiring Repairs in Wiring Systems

8

  1. Turn OFF the ignition.
  2. Disconnect the EBTCM.
  3. Install the J 39700 universal pinout box using the J 39700-25 cable adapter to the EBTCM harness connector only.
  4. Using a J 39200 DMM, measure the voltage at the J 39700 terminal E.

Is the voltage within the specified range?

Battery Voltage

Go to Step 9

Go to Step 11

9

Replace the EBTCM. Refer to Electronic Brake Control Module Replacement .

Did you complete the repair?

--

Go to Diagnostic System Check

--

10

Repair short to ground in CKT 342. Refer to Wiring Repairs in Wiring Systems.

Did you complete the repair?

--

Go to Diagnostic System Check

--

11

Repair open in CKT 342. Refer to Wiring Repairs in Wiring Systems.

Did you complete the repair?

--

Go to Diagnostic System Check

--