GM Service Manual Online
For 1990-2009 cars only

Crankshaft Rear Oil Seal Installation Lip Type Seal

Tools Required

J 38817-A Crankshaft Rear Oil Seal Installer


    Object Number: 204257  Size: SH
  1. Place a small amount of GM Gasket Maker, GM P/N 1052942 or equivalent, at the crankcase split line across the end of the upper/lower crankcase seal.
  2. Lubricate the rear main seal sealing lips with clean engine oil.
  3. Lubricate the outer diameter of the cylinder block seal area with clean engine oil.

  4. Object Number: 71394  Size: SH
  5. Slide the seal over the arbor of the J 38817-A . The garter spring should face the engine.
  6. Thread the J 38817-A into the crankshaft flange.
  7. Install the seal by turning the handle until the tool bottoms against the crankcase.

  8. Object Number: 204259  Size: SH
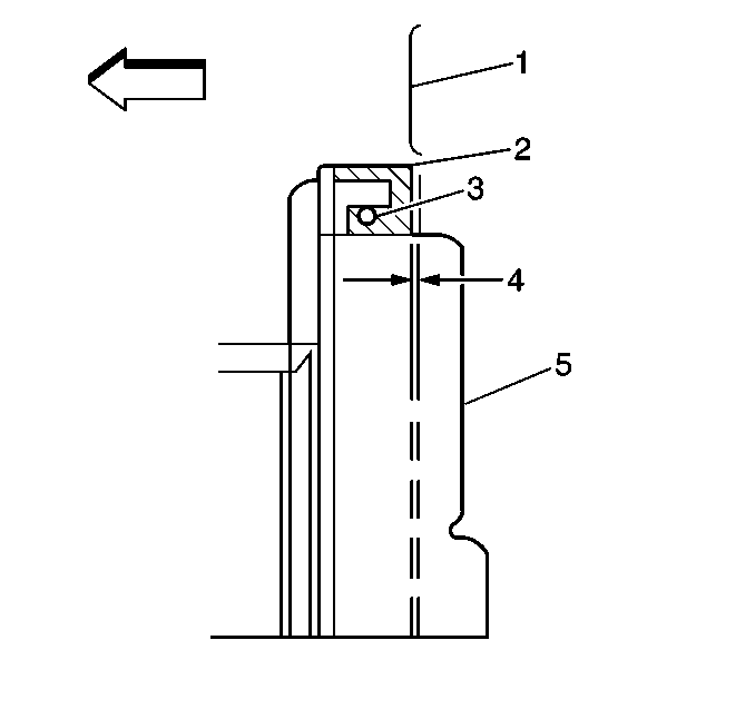
  9. Make sure the rear crankshaft seal is installed to the correct depth. When properly installed, the outer surface of the seal (2) should be 0.5 mm below (4) the surface of the engine block (1).

Crankshaft Rear Oil Seal Installation Cartridge Type Seal

Tools Required

J 42842 Crankshaft Rear Oil Seal Installer


    Object Number: 548463  Size: SH

    Important: Crankshaft rear oil seal and engine flywheel installation requires adequate space for installation. If the engine stand does not allow suitable space to use the J 42842 install the crankshaft rear oil seal and engine flywheel with the engine properly supported on the floor or on a bench.

  1. Clean any debris from the crankshaft rear oil seal drain (1) using wire or an unbound plastic tie-wrap (2).
  2. Important: Make sure the drain is clear before installing the new crankshaft rear oil seal. Failure to clear the drain could cause the crankshaft rear oil seal to leak.

  3. Place a small amount of Gasket Maker, GM P/N 1052942 or equivalent, at the crankcase split line across the end of the upper/lower crankcase seal.
  4. Coat the outer diameter of the cylinder block crankshaft rear oil seal area with clean engine oil GM P/N 12345501 or equivalent.
  5. Important: DO NOT allow any engine oil on the area where the crankshaft rear oil seal is to be pressed onto the crankshaft. The green coating pre-applied to the inner diameter of the crankshaft rear oil seal must not be contaminated.

  6. Wipe the outer diameter of the flywheel flange clean with a lint-free cloth.

  7. Object Number: 548466  Size: SH

    Important: DO NOT put any engine oil on the green coating pre-applied to the inner diameter of the crankshaft rear oil seal. This coating is a sealant that must not be contaminated.

  8. Lubricate the outer rubber surface (1) of the crankshaft rear oil seal with clean engine oil GM P/N 12345501 or equivalent.
  9. Important: It is not necessary to completely unthread the center bolt and separate the two pieces of the J 42842 .

  10. Loosen the center bolt of the J 42842 until the center hub protrudes approximately one-half inch beyond the outer plate.

  11. Object Number: 548469  Size: SH
  12. Install the J 42842 to the rear of the crankshaft.

  13. Object Number: 548470  Size: SH
  14. Thread the three mounting bolts into the crankshaft flange.
  15. Tighten the three mounting bolts until the J 42842 is firmly mounted on the crankshaft.

  16. Object Number: 548473  Size: SH
  17. Install the crankshaft rear oil seal by tightening the center bolt until the J 42842 bottoms against the crankcase.
  18. Loosen the center bolt to release pressure on the crankcase.

  19. Object Number: 548470  Size: SH
  20. Loosen the three mounting bolts.
  21. Remove the J 42842 from the crankshaft flange.
  22. Inspect to ensure the installation depth is equal around the crankshaft rear oil seal's circumference. If the depth is not equal reinstall the J 42842 and repeat the installation procedures.