GM Service Manual Online
For 1990-2009 cars only

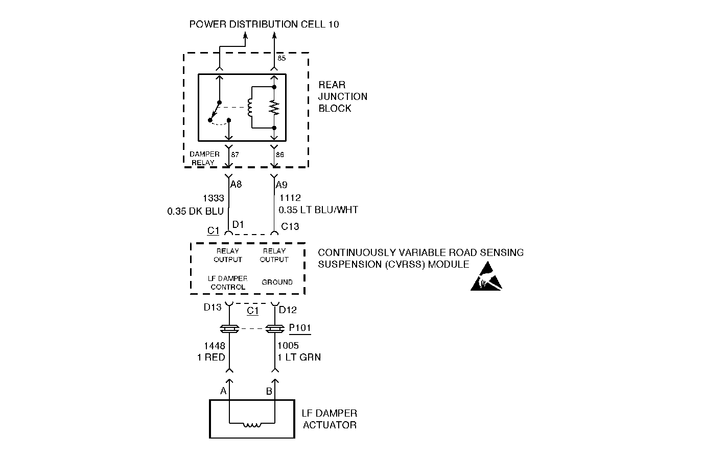
Circuit Description


Object Number: 305116  Size: MF

The LF damper actuator is driven by the CVRSS module via a method known as Pulse-Width Modulation (PWM). Battery voltage is modulated (switched on and off) at high frequency (2.0 kHz), thus controlling the amount of current delivered to the actuator. By controlling the amount of current to the actuator, the CVRSS module can then control the damping force in the damper. A higher level of damping force is achieved by providing correspondingly higher current levels, relating to higher percentages of PWM duty cycle.

The default damper state (with no battery voltage, and thus no current provided to the attached actuator) is one that provides a minimum damping force.

Conditions for Setting the DTC

The DTC is set when the CVRSS module measures an ON-state feedback voltage greater than a preset fault threshold during a damper diagnostic test procedure.

The DTC is set when the CVRSS module performs a test procedure on each damper actuator approximately every 16 seconds. During this test procedure the damper actuator is briefly energized (ON-state test) and de-energized (OFF-state test). If, twice consecutively, the feedback voltage during the ON-state test is above the fault threshold, the corresponding DTC is set.

The DTC turns HISTORY when the CVRSS module no longer senses a short to battery voltage on the damper low-side drive.

Action Taken When the DTC Sets

    • The LF damper actuator will be disabled by commanding 0 percent PWM duty cycle. The LF corner of the vehicle will be soft.
    • The SERVICE RIDE CONTROL message will be displayed.

Conditions for Clearing the MIL/DTC

    • Use the scan tool.
    • Use the On-Board diagnostic CLEAR RSS CODES feature.

Test Description

Important: 

   • Do not backprobe the sensors, actuators, or any sealed connectors.
   • When all the diagnostics and repairs are complete, clear the DTCs and verify the operation.

The number(s) below refer to the step number(s) on the diagnostic table.

  1. This step checks for an internal short circuit condition in the actuator.

  2. This step checks the CVRSS actuator harness for a short to voltage condition with the actuator disconnected. If voltage is indicated, there is a short to voltage on circuit 1005.

  3. This step checks the CVRSS actuator harness for a short circuit condition between CKT 1448 and CKT 1005.

Step

Action

Value(s)

Yes

No

1

Was the Road Sensing Suspension Diagnostic System Check performed?

--

Go to Step 2

Go to Road Sensing Suspension Diagnostic System Check

2

  1. Turn the ignition OFF.
  2. Disconnect the connector from the LF damper actuator.
  3. Measure the resistance between pin A and pin B of the LF damper actuator (actuator side) with a J 39200 DMM.

Is the resistance value displayed within the specified range?

9.5-15.5 ohms

Go to Step 3

Go to Step 7

3

  1. Turn the ignition OFF.
  2. Disconnect CVRSS control module connector C1.
  3. Turn the ignition ON with the engine off.
  4. Measure the voltage at pin D12 of connector C1 (harness side).

Is the voltage above the specified value?

10 V

Go to Step 8

Go to Step 4

4

Check for a short circuit condition (continuity) between CKTs 1448 and 1005 (harness side).

Was a short circuit condition found?

--

Go to Step 5

Go to Step 6

5

Repair the short circuit condition between CKTs 1448 and 1005.

Is the repair complete?

--

Go to Road Sensing Suspension Diagnostic System Check

--

6

  1. Check for intermittents in the actuator circuit. Refer to Intermittents and Poor Connections .
  2. Turn the ignition OFF.
  3. Install all of the connectors that were removed.
  4. Turn the ignition ON with the engine off.
  5. Clear the DTCs and then wait 90 seconds. Refer to Clearing DTCs .
  6. Check the DTCs. Refer to Displaying Diagnostic Trouble Codes (DTC) .

Is DTC C1710 set?

--

Go to Step 9

Go to Road Sensing Suspension Diagnostic System Check

7

Replace the LF damper. Refer to Strut Assembly Replacement .

Is the replacement complete?

--

Go to Road Sensing Suspension Diagnostic System Check

--

8

Repair the short to voltage condition in CKT 1005.

Is the repair complete?

--

Go to Road Sensing Suspension Diagnostic System Check

--

9

  1. Turn the ignition OFF.
  2. Replace the CVRSS control module. Refer to Electronic Suspension Control Module Replacement .
  3. Install all of the connectors and components that were removed.
  4. Install the scan tool.
  5. Turn the ignition ON with the engine off.
  6. Important: The controller must be calibrated.

  7. Calibrate the CVRSS service controller using the scan tool. Refer to Electronic Suspension Control Module Calibration .

Is the CVRSS control module calibrated?

--

Go to Road Sensing Suspension Diagnostic System Check

--