GM Service Manual Online
For 1990-2009 cars only

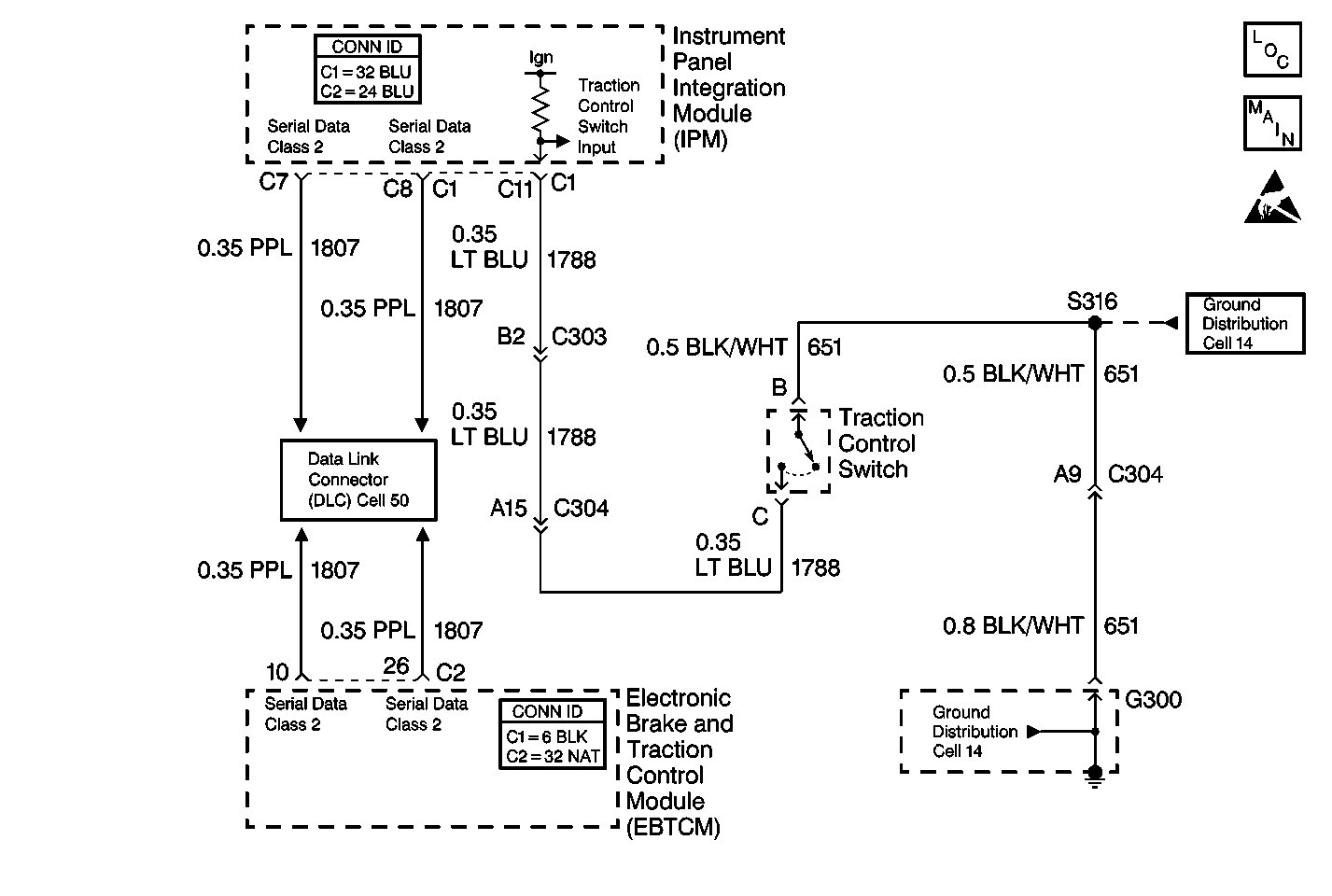
Object Number: 388770  Size: MF
ABS Components
Cell 44: CVRSS, IPM, PCM, MSVA, Class 2 and Traction Control Switch
Handling ESD Sensitive Parts Notice
Cell 14: G300
Cell 14: G300
Cell 50: Class 2 Serial Data Line (LH Drive)

Circuit Description

The TRACTION OFF message is controlled by the EBTCM. When the IPM sees the Traction Control Disable Input grounded through the momentary traction control disable switch, it sends a Class 2 message to the EBTCM that tells the EBTCM that the traction control disable switch has been pressed. The EBTCM then disables Traction Control and sends a message to the instrument cluster (IPC) to turn the TRACTION OFF message on. Each time the ignition switch is cycled OFF to ON, Traction Control is enabled.

Diagnostic Aids

    • It is very important that a thorough inspection of the wiring and connectors be performed. Failure to carefully and fully inspect wiring and connectors may result in misdiagnosis, causing part replacement with reappearance of the malfunction.
    • An intermittent malfunction can be caused by poor connections, broken insulation, or a wire that is broken inside the insulation.
    • If an intermittent malfunction exists, refer to Intermittents and Poor Connections Diagnosis in Wiring Systems.

Test Description

The numbers below refer to step numbers on the diagnostic table.

  1. Checks if the traction control disable switch is open or inoperative.

  2. Checks for an open in CKT 651.

  3. Checks for an open in CKT 1788.

Step

Action

Value(s)

Yes

No

1

Did you perform the ABS Diagnostic System Check?

--

Go to Step 2

Go to Diagnostic System Check - ABS

2

  1. Turn ON the ignition.
  2. Remove the traction control switch connector.
  3. Press and hold the traction control switch.
  4. Use a J 39200 DMM in order to measure the resistance between the traction control switch terminal C and terminal B.

Is the resistance less than the specified value?

5 ohms

Go to Step 4

Go to Step 3

3

Replace the traction control switch. Refer to Electronic Traction Control Switch Replacement .

Did you complete the repair?

--

Go to Diagnostic System Check - ABS

--

4

  1. Connect a scan tool to the data link connector (DLC).
  2. Connect a fused jumper from the traction control switch harness connector terminal C to a good ground.
  3. Use the scan tool in order to select Instrument Panel Integration Module (IPM) Data Display, Non-HVAC Data.
  4. Monitor the TCS Input.

Does the scan tool indicate that the traction control switch is On?

--

Go to Step 5

Go to Step 6

5

Repair the open in CKT 651. Refer to Wiring Repairs in Wiring Systems.

Did you complete the repair?

--

Go to Diagnostic System Check - ABS

--

6

  1. Disconnect the instrument panel integration module (IPM) connector C1.
  2. Use a J 39200 DMM in order to measure the resistance between the traction control switch harness connector terminal C and the IPM harness connector C1 terminal C11.

Is the resistance less than the specified value?

5 ohms

Go to Step 8

Go to Step 7

7

Repair the open in CKT 1788. Refer to Wiring Repairs in Wiring Systems.

Did you complete the repair?

--

Go to Diagnostic System Check - ABS

--

8

Replace the IPM. Refer to Body Control Module Replacement in Body Control System.

Did you complete the repair?

--

Go to Diagnostic System Check - ABS

--