GM Service Manual Online
For 1990-2009 cars only

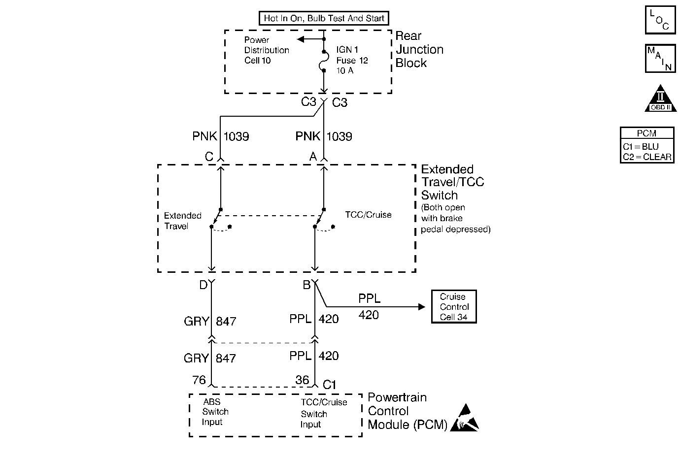
Object Number: 155145  Size: MF
Engine Controls Components
Cell 20: ABS/TCC Switch and Transaxle Solenoids
OBD II Symbol Description Notice
ESD Notice

Circuit Description

This diagnostic test functions on the assumption that a sudden decrease in non-drive (rear) wheel speed must be caused by a brake application. Non-drive wheel speed and stop lamp switch status are supplied to the PCM through serial data from the Electronic Brake and Traction Control Module (EBTCM). If there is a 6 MPH or greater decrease of non-drive wheel speed in 0.4 second and a transition of the TCC contacts at the TCC brake switch or stop lamp switch without a transition of the extended travel contacts of the TCC brake, DTC P1575 is set.

Conditions for Running the DTC

    •  DTCs P0703, P1574 and P1604 not set.
    •  Traction control and antilock brake systems have not failed
    •  Traction control and antilock brake systems are not active.
    •  Non-drive wheel speed goes above 20 MPH and then does not go below 4 MPH.

Conditions for Setting the DTC

A 6 MPH or greater decrease in non-drive wheel speed in 0.4 second and TCC brake switch or Stop/BTSI/Cruise brake switch indicating brakes applied and no transition is noticed in the extended travel contacts of the TCC brake switch indicating brakes applied.

Action Taken When the DTC Sets

    •  PCM disables cruise control.
    •  PCM will set the extended travel brake switch status to not applied.
    •  The Malfunction Indicator Lamp (MIL) will not illuminate.
    •  The PCM will command a message to be displayed.
    •  The PCM may record operating conditions at the time the diagnostic fails. This information will be stored in the Failure Records.

Conditions for Clearing the Message/DTC

    •  The PCM will turn the message OFF after one run and pass of the diagnostic test.
    •  A History DTC will clear after forty consecutive warm-up cycles with no failures of any non-emission related diagnostic test.
    •  A Last Test Failed (current) DTC will clear when the diagnostic runs and does not fail.
    • Use a scan tool to clear DTCs.
    • Interrupting PCM battery voltage may or may not clear DTCs. This practice is not recommended. Refer to Clearing Diagnostic Trouble Codes in Powertrain Control Module Description .

Diagnostic Aids

Use the Failure Rec. information on the scan tool to help diagnose an intermittent problem. The operating conditions as well as the state of the extended travel brake switch circuit will be stored when the DTC was set.

Step

Action

Value(s)

Yes

No

1

Did you perform the Powertrain On-Board Diagnostic (OBD) System Check?

--

Go to Step 2

Go to Powertrain On Board Diagnostic (OBD) System Check

2

  1. Turn the key ON.
  2. Using a scan tool view the EXT Travel Brake display.

Does the display indicate Released?

--

Go to Step 3

Go to Step 7

3

Depress the brake pedal approximately half-way.

Does the display indicate Applied?

--

Fault not present. Go to Diagnostic Aids.

Go to Step 4

4

Disconnect the extended travel brake switch.

Does the display indicate Applied?

--

Go to Step 21

Go to Step 5

5

  1. Record the fluid life indexes, turn the key to LOCK and wait 30 seconds.
  2. Disconnect PCM connector C1.
  3. Turn the key ON.
  4. Using DMM measure the voltage to ground at PCM connector C1 terminal 76.

Is the voltage more than the value specified?

0.5 volts

Go to Step 6

Go to Step 19

6

Repair the short to voltage on the Extended Travel Brake Switch Input circuit.

Is the repair complete?

--

Go to Powertrain Control Module Diagnosis

--

7

With a scan tool view the TCC Brake Switch display.

Does the display indicate Released?

--

Go to Step 8

Go to Step 11

8

  1. Disconnect the extended travel brake switch.
  2. Using DMM measure the voltage to ground at the extended travel brake switch connector terminal C.

Is the voltage the same or more than the value specified?

10.0 volts

Go to Step 9

Go to Step 17

9

Jumper terminal C to terminal D.

Does the display indicate Released?

--

Go to Step 21

Go to Step 10

10

  1. Record the fluid life indexes, turn the key to LOCK and wait 30 seconds.
  2. Disconnect PCM connector C1.
  3. Turn the key ON.
  4. Using DMM measure the voltage to ground at PCM connector C1 terminal 76.

Is the voltage the same or more than the value specified?

10.0 volts

Go to Step 19

Go to Step 18

11

Check IGN 1 fuse.

Is the fuse blown?

--

Go to Step 13

Go to Step 12

12

  1. Disconnect the extended travel brake switch.
  2. Using DMM measure the voltage to ground at the extended travel brake switch connector terminal C.

Is the voltage the same or more than the value specified?

10.0 volts

Go to Step 21

Go to Step 16

13

  1. Record the fluid life indexes, turn the key to LOCK and wait 30 seconds.
  2. Disconnect the extended travel brake switch connector.
  3. Disconnect PCM connector C1.
  4. Using DMM individually measure the resistance to ground at all the extended travel switch connector terminals.

Is the resistance less than the value specified on any of the terminals?

100 ohms

Go to Step 14

Go to Step 15

14

  1. Repair the short in the circuits with low resistance.
  2. Replace the fuse.

Is the repair complete?

--

Go to Powertrain Control Module Diagnosis

--

15

  1. Check for an intermittent short to ground on both the extended travel and the TCC brake switch circuits.
  2. Repair short if found.
  3. Replace fuse.

Is the repair/replacement complete?

--

Go to Powertrain Control Module Diagnosis

--

16

Repair the open in both 1039 circuits.

Is the repair complete?

--

Go to Powertrain Control Module Diagnosis

--

17

Repair the open in CKT 1039 between the extended travel brake switch connector terminal C and the fuse A12 (labeled IGN 1).

Is the repair complete?

--

Go to Powertrain Control Module Diagnosis

--

18

Repair the open in CKT 847.

Is the repair complete?

--

Go to Powertrain Control Module Diagnosis

--

19

  1. Check terminal contact at the PCM connector C1 terminal 76.
  2. Repair terminal contact if necessary.

Was terminal contact repaired?

--

Go to Powertrain Control Module Diagnosis

Go to Step 20

20

Replace the PCM. Refer to Powertrain Control Module Replacement .

Is the repair complete?

--

Go to Powertrain Control Module Diagnosis

--

21

  1. Check for proper adjustment of the extended travel brake switch.
  2. Adjust if needed.

Was an adjustment?

--

Go to Powertrain Control Module Diagnosis

Go to Step 22

22

Replace the Torque Management brake switch assembly.

Is the repair complete?

--

Go to Powertrain Control Module Diagnosis

--