GM Service Manual Online
For 1990-2009 cars only

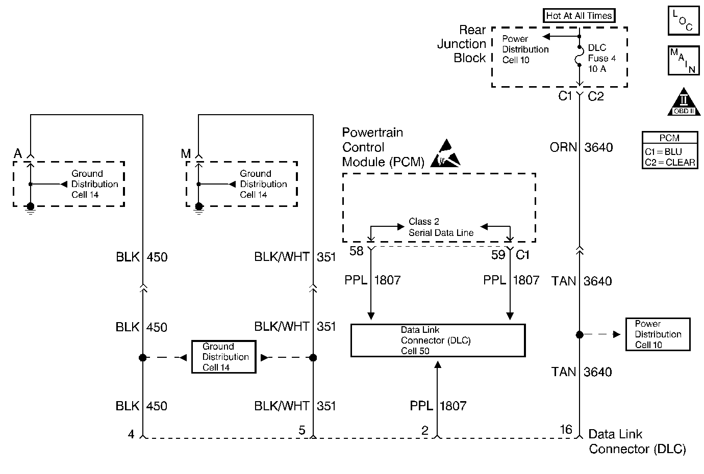
Object Number: 155149  Size: MF
Engine Controls Components
Cell 20: MIL Control and DLC
OBD II Symbol Description Notice
ESD Notice

Circuit Description

The Data Link Connector check is used to identify the cause of an inoperative scan tool. Possible faults include scan tool non-power up and lack of communication between the scan tool and the PCM. The DLC supplies power to the scan tool through CKT 1740 to terminal 16. The ground to the scan tool is supplied through CKT 51 to terminal 5. The serial data (communication) is supplied to the scan tool through CKT 1807 to terminal 2.

Diagnostic Aids

Perform the Powertrain On Board Diagnostic (OBD) System Check before performing this chart to help prevent miss-diagnosis.

Test Description

The number(s) below refer to the step number(s) on the Diagnostic Table:

  1. If the ground circuit on the DLC pin 4 opens after the scan tool is up and running, the screen will go blank but the scan tool may remain on. If there is no ground at pin 4 initially, the scan tool will not power up.

  2. Some of the older scan tools are powered through a separate power cord from the cigar lighter. If this type of scan tool is being used, and the tool will not power up, check for a poor connection, or a malfunctioning lighter socket. Refer to Wiring Systems for circuit details.

  3. If there is no communication between the PCM and the scan tool, no data will be displayed. The serial data is disrupted when the system voltage is below 9.0 Volts or above 16.0 Volts. A scan tool will not display data if the system voltage is outside of this range. If data is displayed with the ignition on and the engine off, but data is lost when the engine is running, high system voltage (overcharging) may be at fault. If this is the case, the scan tool should display DTC P0563 System Voltage with the ignition on and the engine off.

  4. Try the scan tool on another vehicle if one is available. An alternate approach is to try a different scan tool on the same vehicle, if one is available. Before trying a different scan tool, check for poor connections between the DLC and the scan tool cable. Refer to Wiring Systems for the proper procedure.

  5. Before trying a different scan tool, check for poor connections between the DLC and the scan tool cable. Refer to Wiring Systems for the proper procedure.

Step

Action

Value(s)

Yes

No

1

Did you perform the Powertrain On-Board Diagnostic (OBD) System Check?

--

Go to Step 2

Go to Powertrain On Board Diagnostic (OBD) System Check

2

Is the scan tool powered up?

--

Go to Step 3

Go to Step 8

3

Does the engine start and run?

--

Go to Step 11

Go to Step 4

4

  1. Turn the key to Off.
  2. Disconnect the PCM.
  3. Turn the key to On.
  4. Measure the battery and ignition feed circuits in the PCM harness connectors with DMM connected to battery ground.

Is the voltage in the range specified on all circuits?

10.5-15 volts

Go to Step 5

Go to Step 6

5

Measure resistance on the PCM ground circuits in the PCM harness connector C1 with DMM connected to battery ground.

Does the DMM indicate the value shown or lower?

5 Ohms

Go to Step 15

Go to Step 7

6

Repair the affected power feed circuit.

Is the action complete?

--

Go to Powertrain On Board Diagnostic (OBD) System Check

--

7

Repair the open/high resistance in the affected ground circuit.

Is the action complete?

--

Go to Powertrain On Board Diagnostic (OBD) System Check

--

8

  1. Disconnect the scan tool from the DLC.
  2. Using DMM, measure the voltage to ground on DLC terminal 16.

Is the voltage in the range specified?

10.5-15 volts

Go to Step 9

Go to Step 10

9

Measure resistance on DLC terminal 4 and terminal 5 with DMM connected to battery ground.

Does the DMM indicate the value shown or lower on both circuits?

5 Ohms

Go to Step 17

Go to Step 13

10

Repair the B+ circuit to DLC terminal 16.

Is the action complete?

--

Go to Powertrain On Board Diagnostic (OBD) System Check

--

11

  1. Disconnect the scan tool from the DLC.
  2. Measure the voltage at DLC terminal 4 and terminal 5 with the DMM connected to B+.

Is the voltage within the specified range on both circuits?

10.5-15 volts

Go to Step 12

Go to Step 13

12

Check the Serial Data circuit to DLC Pin 2 for being open, shorted to power or ground. Refer to Data Link Connector Diagnosis .

Was a problem found and corrected?

--

Go to Powertrain On Board Diagnostic (OBD) System Check

Go to Step 14

13

Repair the open/high resistance ground circuit to DLC connector.

Is the action complete?

--

Go to Powertrain On Board Diagnostic (OBD) System Check

--

14

Verify the scan tool operation on another vehicle. Refer to Test Description .

Does the scan tool display data?

--

Go to Step 15

Go to Step 17

15

Check for poor connections/terminal tension at the PCM harness connector. Refer to Powertrain Control Module Wiring Harness and Connectors in Automatic Transaxle-4T80-E.

Was a problem found and corrected?

--

Go to Powertrain On Board Diagnostic (OBD) System Check

Go to Step 16

16

Replace the PCM. Refer to Powertrain Control Module Replacement .

Is the action complete?

--

Go to Powertrain On Board Diagnostic (OBD) System Check

--

17

The scan tool may be malfunctioning.

Use a different scan tool if one is available.

Refer to Test Description .

Is the action complete?

--

Go to Powertrain On Board Diagnostic (OBD) System Check

--