GM Service Manual Online
For 1990-2009 cars only

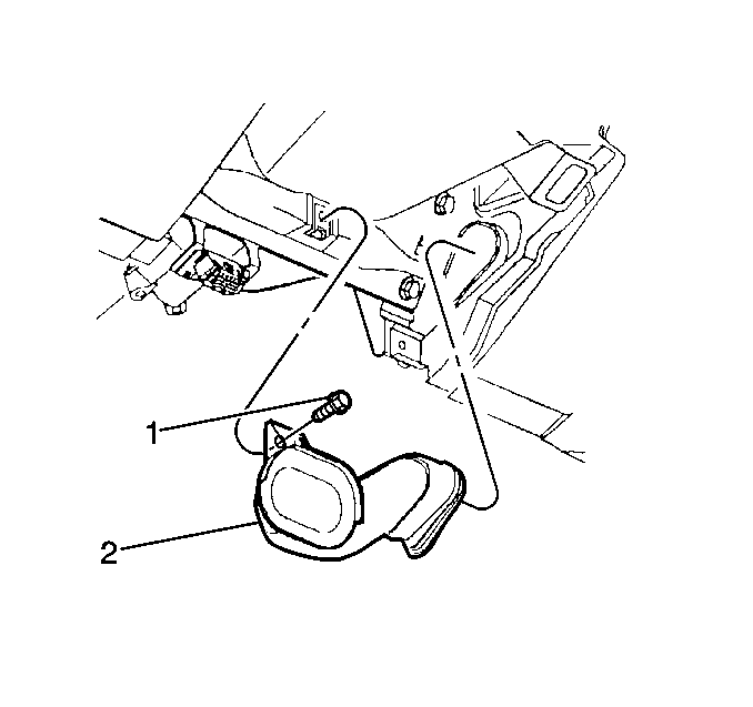
Air Distributor Duct Replacement Lap Cooler LHD

Removal Procedure


    Object Number: 105511  Size: SH
  1. Remove left sound insulator. Refer to Instrument Panel Insulator Panel Replacement - Left Side .
  2. Remove knee bolster. Refer to Knee Bolster Replacement .
  3. Remove one fastener (1) from lap cooler duct to IP carrier.
  4. Remove lap cooler duct (2).

Installation Procedure


    Object Number: 105511  Size: SH
  1. Align lap cooler duct (2) with IP duct.
  2. Install fastener (1).
  3. Install knee bolster. Refer to Knee Bolster Replacement .
  4. Install left sound insulator. Refer to Instrument Panel Insulator Panel Replacement - Left Side .

Air Distributor Duct Replacement Lap Cooler RHD

Removal Procedure


    Object Number: 298100  Size: SH
  1. Remove right sound insulator. Refer to Instrument Panel Insulator Panel Replacement - Right Side in Instrument Panel, Gauges and Console.
  2. Remove the knee bolster trim panel. Refer to Knee Bolster Replacement in Instrument Panel, Gauges and Console.
  3. Remove one fastener (1) from lap cooler duct to IP carrier.
  4. Remove lap cooler duct (2).

Installation Procedure


    Object Number: 298100  Size: SH
  1. Align lap cooler duct (2) with IP duct.
  2. Install fastener (1).
  3. Install the knee bolster trim panel. Refer to Knee Bolster Replacement in Instrument Panel, Gauges and Console.
  4. Install right sound insulator. Refer to Instrument Panel Insulator Panel Replacement - Right Side in Instrument Panel, Gauges and Console.