GM Service Manual Online
For 1990-2009 cars only
Makes
🢒
Cadillac
🢒
1999
🢒
Seville
🢒
Body and Accessories
🢒
Retained Accessory Power
🢒 Retained Accessory Power (RAP) Schematics
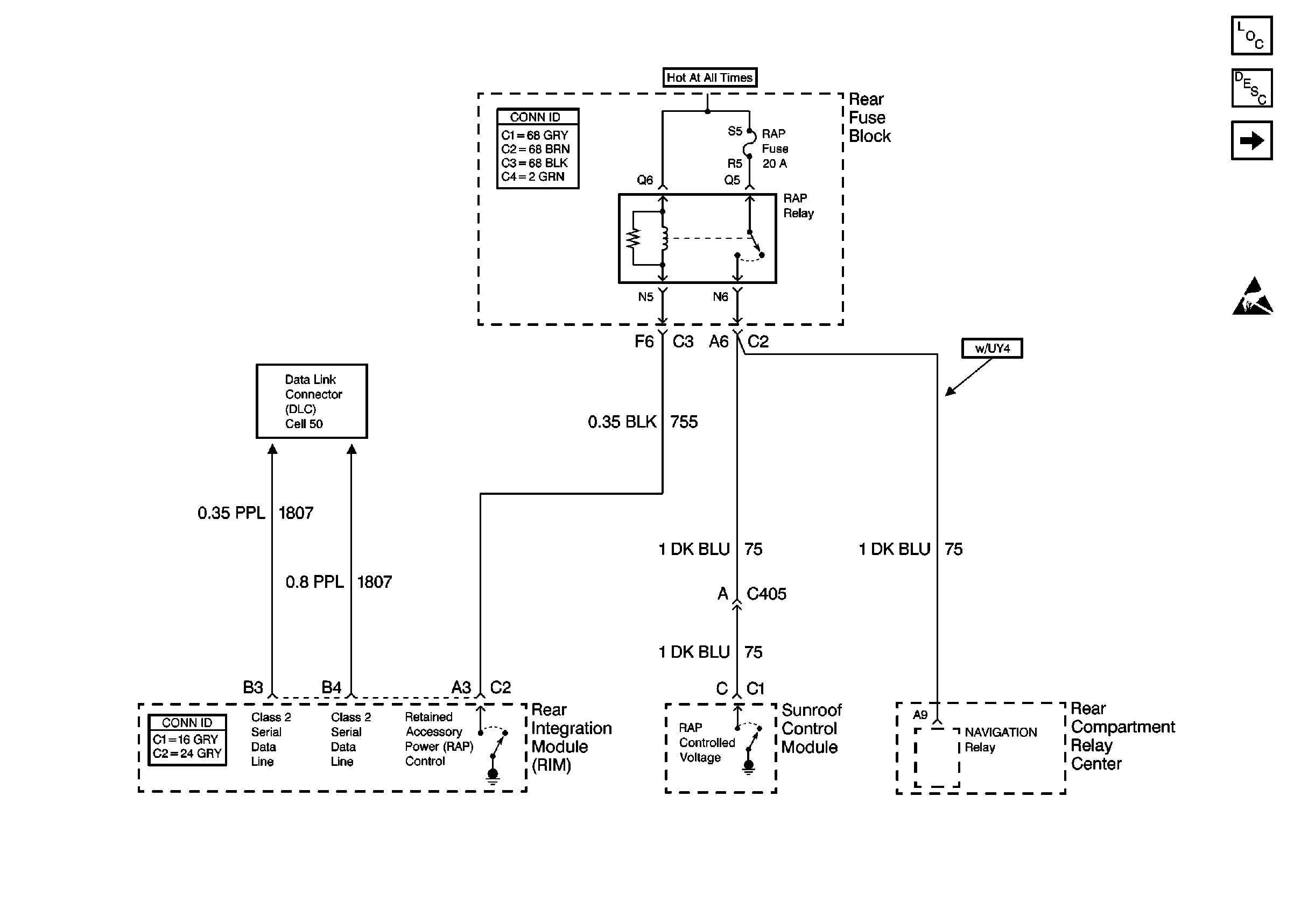
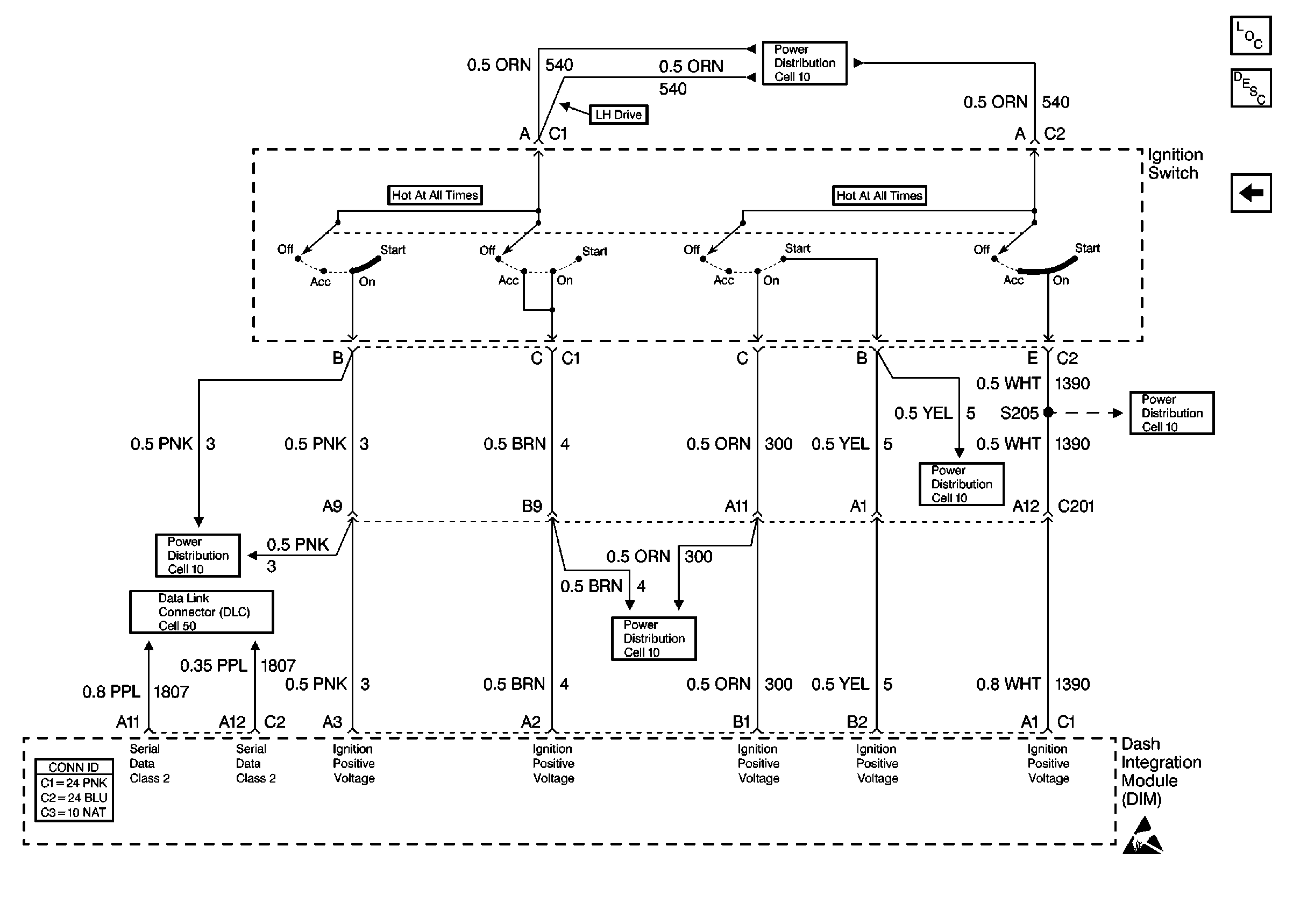
Figure
1:
Cell 15: DIM Inputs
Figure
2:
Cell 15: Power and Components
Handling ESD Sensitive Parts Notice