GM Service Manual Online
For 1990-2009 cars only
Figure 1:

Cell 141: Memory Function Switch


Object Number: 389932  Size: FS
Power Seat Systems Components
Memory Seat Circuit Description
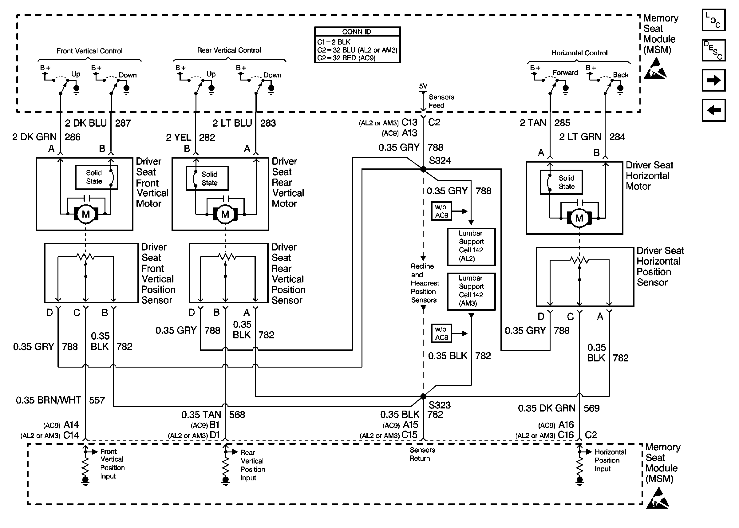
Cell 141: PWR, GND, LH Seat Switch, and MSM
Handling ESD Sensitive Parts Notice
Cell 50: Class 2 Serial Data Line (LH Drive)
Power Door Systems Connector End Views
Figure 2:

Cell 141: PWR, GND, LH Seat Switch, and MSM


Object Number: 389935  Size: FS
Power Seat Systems Components
Memory Seat Circuit Description
Cell 141: Front Height, Rear Height, Forward/Back Motors and PositiOn Sensors
Cell 141: Memory Function Switch
Handling ESD Sensitive Parts Notice
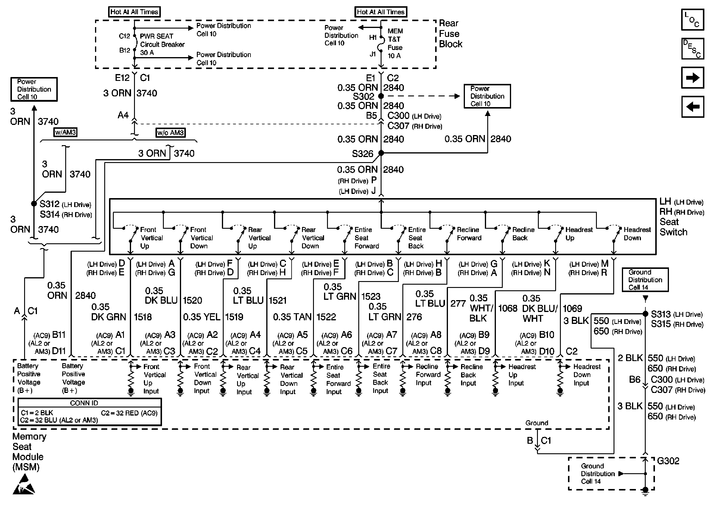
Cell 10: PWR SEAT Fuse
Cell 10: MEM T/T PWWR T/T and TSIG/HAZ Fuses
Cell 10: MEM T/T PWWR T/T and TSIG/HAZ Fuses
Cell 14: G302
Cell 14: G302
Cell 10: PWR SEAT Fuse
Power Seat Connector End Views
Figure 3:

Cell 141: Front Height, Rear Height, Forward/Back Motors and Position Sensors


Object Number: 389939  Size: FS
Power Seat Systems Components
Memory Seat Circuit Description
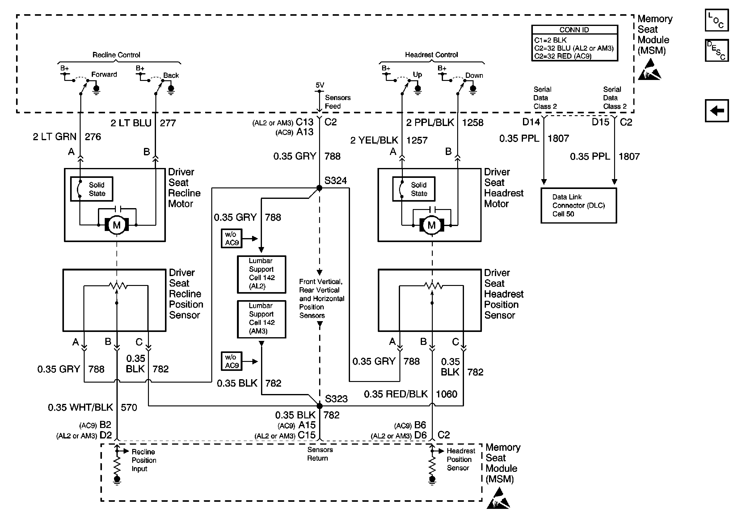
Cell 141: Recline, Headrest Motors and Position Sensors; Class 2
Cell 141: PWR, GND, LH Seat Switch, and MSM
Handling ESD Sensitive Parts Notice
Handling ESD Sensitive Parts Notice
Cell 142
Cell 142: Driver Lumbar Motors and Position Sensors
Cell 141: Recline, Headrest Motors and Position Sensors; Class 2
Power Seat Connector End Views
Figure 4:

Cell 141: Recline, Headrest Motors and Position Sensors; Class 2


Object Number: 389943  Size: FS
Power Seat Systems Components
Memory Seat Circuit Description
Cell 141: Front Height, Rear Height, Forward/Back Motors and PositiOn Sensors
Handling ESD Sensitive Parts Notice
Handling ESD Sensitive Parts Notice
Cell 50: Class 2 Serial Data Line (LH Drive)
Cell 142
Cell 142: Driver Lumbar Motors and Position Sensors
Cell 141: Front Height, Rear Height, Forward/Back Motors and PositiOn Sensors
Power Seat Connector End Views