GM Service Manual Online
For 1990-2009 cars only

DTC B1860 Driver Lumbar Vert Sensor CKT Malf A45 with AL2


Object Number: 392846  Size: MF
Power Seat Systems Components
Cell 142
Handling ESD Sensitive Parts Notice
Power Seat Connector End Views
Cell 141: Front Height, Rear Height, Forward/Back Motors and PositiOn Sensors
Cell 141: Front Height, Rear Height, Forward/Back Motors and PositiOn Sensors
Cell 142

Circuit Description

The memory seat module (MSM) receives inputs from the lumbar up/down position sensor during memory recall and memory set functions. The potentiometer in the position sensor varies in resistance as the motor moves the lumbar support up and down within the seat back. The MSM receives a variable voltage input depending on the resistance of the potentiometer. During memory set, the MSM records the voltage across the lumbar up/down potentiometer. During memory recall, the MSM moves the lumbar up/down motor until the voltage across the potentiometer matches the voltages stored in memory. The lumbar support is not moved during the easy exit function. During normal operation, the lumbar up/down position sensor is checked against out-of-range voltage limits.

Conditions for Setting the DTC

    • The MSM will set the DTC B1860 any time it detects that the lumbar in/out sensor input voltage is out of range (less than 0.25 volts or greater than 4.75 volts).
    • DTC B1860 will set only if DTC B1327 MSM or DTC B1328 MSM is not current.

Action Taken When the DTC Sets

When DTC B1860 is set as current, the Memory Seat Module (MSM) will disable the lumbar up/down motor during memory recall operation. The lumbar up/down motor will remain enabled for manual positioning.

Conditions for Clearing the DTC

    • The MSM detects that the lumbar up/down position sensor input is within the valid voltage range.
    • Use the On-Boards clearing DTCs feature.
    • Use a scan tool.

Test Description

The numbers below refer to the step numbers on the diagnostic table:

  1. Perform the Power Seat Systems Diagnostic System Check before continuing with the diagnosis of this DTC.

  2. Multiple position sensor DTCs set indicates a concern with the reference wiring or memory seat module (MSM). Only one position sensor DTC set indicates a concern with the position sensor and wiring.

  3. Clear all DTCs after the repair procedure is complete.

Step

Action

Value(s)

Yes

No

1

Was the entire Power Seat Systems Diagnostic System Check performed?

--

Go to Step 2

Go to Diagnostic System Check - Power Seat Systems

2

Were there any other position sensor DTCs set?

--

Go to Step 3

Go to Step 9

3

  1. Disconnect the lumbar vertical position sensor connector.
  2. Important:: When reconnecting the position sensor connector, be sure that the connector is connected in the proper direction. It is possible to reverse the connector and cause improper memory operation.

  3. Connect a DMM from the lumbar vertical position sensor cavity B (LT BLU) to cavity C (LT BLU).

Is the resistance within the specified range?

9000 ohms - 11,000 ohms

Go to Step 4

Go to Step 12

4

Connect a DMM from the lumbar vertical position sensor cavity A (BLK) to cavity C (LT BLU).

Is the resistance within the specified range?

500 ohms - 9500 ohms

Go to Step 5

Go to Step 12

5

  1. Disconnect the memory seat module (MSM) connector C2.
  2. Connect a DMM from the lumbar vertical position sensor connector cavity B (LT BLU) to the MSM connector C2 cavity C13 (GRY).

Is the resistance less than the specified value?

5 ohms

Go to Step 6

Go to Step 13

6

Connect a DMM from the lumbar vertical position sensor connector cavity C (LT BLU) to the MSM connector C2 cavity C15 (BLK).

Is the resistance less than the specified value?

5 ohms

Go to Step 7

Go to Step 14

7

Connect a DMM from the lumbar vertical position sensor connector cavity A (BLK) to ground.

Is the resistance less than the specified value?

5 ohms

Go to Step 15

Go to Step 8

8

Connect a DMM from the lumbar vertical position sensor connector cavity A (BLK) to the MSM connector C2 cavity D4 (BLK).

Is the resistance less than the specified value?

5 ohms

Go to Step 20

Go to Step 16

9

  1. Disconnect the lumbar vertical position sensor connector.
  2. Disconnect the memory seat module (MSM) connector C2.
  3. Connect a DMM from the MSM connector C2 cavity C13 (GRY) to ground.

Is the resistance less than the specified value?

5 ohms

Go to Step 17

Go to Step 10

10

Connect a DMM from the lumbar vertical position sensor connector cavity B (LT BLU) to the MSM connector C2 cavity C13 (GRY).

Is the resistance less than the specified value?

5 ohms

Go to Step 11

Go to Step 18

11

Connect a DMM from the lumbar vertical position sensor connector cavity A (BLK) to the MSM connector C2 cavity C15 (BLK).

Is the resistance less than the specified value?

5 ohms

Go to Step 20

Go to Step 19

12

Replace the lumbar vertical position sensor. Refer to Lumbar Component Replacement - Power .

Is the lumbar vertical position sensor replacement complete?

--

Go to Step 21

--

13

Repair the open in CKT 788 (GRY) between the S329 and the lumbar vertical position sensor. Refer to Wiring Repairs in Wiring Systems.

Is the circuit repair complete?

--

Go to Step 21

--

14

Repair the open in CKT 782 (BLK) between S328 and the lumbar vertical position sensor. Refer to Wiring Repairs in Wiring Systems.

Is the circuit repair complete?

--

Go to Step 21

--

15

Repair the short in CKT 1062 (BLK). Refer to Wiring Repairs in Wiring Systems.

Is the circuit repair complete?

--

Go to Step 21

--

16

Repair the open in CKT 1062 (BLK) between the MSM and the lumbar vertical position sensor. Refer to Wiring Repairs in Wiring Systems.

Is the circuit repair complete?

--

Go to Step 21

--

17

Repair the short in CKT 788 (GRY). Refer to Wiring Repairs in Wiring Systems.

Is the circuit repair complete?

--

Go to Step 21

--

18

Repair the open in CKT 788 (GRY) between the MSM and S324. Refer to Wiring Repairs in Wiring Systems.

Is the circuit repair complete?

--

Go to Step 21

--

19

Repair the open in CKT 782 (BLK) between the MSM and the S323. Refer to Wiring Repairs in Wiring Systems.

Is the circuit repair complete?

--

Go to Step 21

--

20

Replace the memory seat module (MSM). Refer to Memory Seat Control Module Replacement .

Is the MSM replacement complete?

--

Go to Step 21

--

21

  1. Turn the ignition switch to the OFF position.
  2. Reconnect or install any connectors or components that were disconnected or removed.
  3. Turn the ignition switch to the ON position.
  4. Clear any DTCs. Refer to Diagnostic Trouble Code (DTC) Clearing .

Are all DTCs cleared?

--

Go to Diagnostic System Check - Power Seat Systems

--

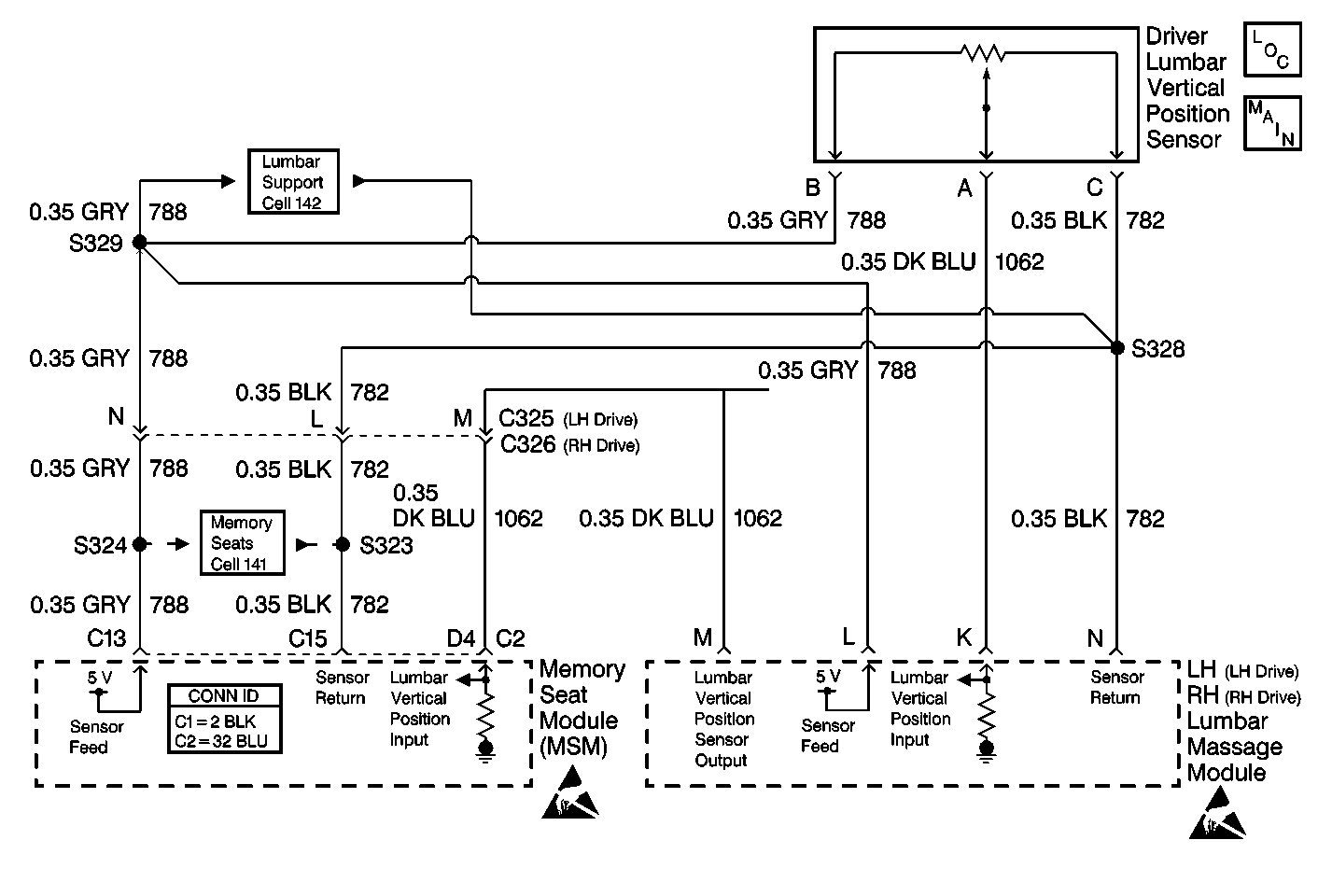
DTC B1860 Driver Lumbar Vert Sensor CKT Malf A45 with AM3


Object Number: 392849  Size: MF
Power Seat Systems Components
Cell 142: Driver Lumbar Motors and Position Sensors
Handling ESD Sensitive Parts Notice
Handling ESD Sensitive Parts Notice
Power Seat Connector End Views
Cell 142: Driver Lumbar Motors and Position Sensors
Cell 142: Driver Lumbar Motors and Position Sensors

Circuit Description

The memory seat module (MSM) receives inputs from the lumbar vertical position sensor via the lumbar massage module during memory recall and memory set functions. The potentiometer in the position sensor varies in resistance as the motor moves the lumbar support up and down within the seat back. The MSM receives a variable voltage input depending on the resistance of the potentiometer. During memory set, the MSM records the voltage across the lumbar vertical potentiometer. During memory recall, the MSM moves the lumbar vertical motor until the voltage across the potentiometer matches the voltages stored in memory. The lumbar support is not moved during the easy exit function. During normal operation, the lumbar vertical position sensor is checked against out-of-range voltage limits.

Conditions for Setting the DTC

    • The MSM will set the DTC B1860 any time it detects that the lumbar vertical sensor input voltage is out of range (less than 0.25 volts or greater than 4.75 volts).
    • DTC B1860 will set only if DTC B1327 MSM or DTC B1328 MSM is not current.

Action Taken When the DTC Sets

When DTC B1860 is set as current, the Memory Seat Module (MSM) will disable the lumbar vertical motor during memory recall operation. The lumbar vertical motor will remain enabled for manual positioning.

Conditions for Clearing the DTC

    • The MSM detects that the lumbar vertical position sensor input is within the valid voltage range.
    • Use the On-Boards clearing DTCs feature.
    • Use a scan tool.

Test Description

The numbers below refer to the step numbers on the diagnostic table:

  1. Perform the Power Seat Systems Diagnostic System Check before continuing with the diagnosis of this DTC.

  2. Multiple position sensor DTCs set indicates a concern with the reference wiring or memory seat module (MSM). Only one position sensor DTC set indicates a concern with the position sensor and wiring.

  3. Clear all DTCs after the repair procedure is complete.

Step

Action

Value(s)

Yes

No

1

Was the entire Power Seat Systems Diagnostic System Check performed?

--

Go to Step 2

Go to Diagnostic System Check - Power Seat Systems

2

Were there any other position sensor DTCs set?

--

Go to Step 3

Go to Step 10

3

  1. Disconnect the driver lumbar vertical position sensor connector.
  2. Important:: When reconnecting the position sensor connector, be sure that the connector is connected in the proper direction. It is possible to reverse the connector and cause improper memory operation.

  3. Connect a DMM from the lumbar vertical position sensor cavity C (BLK) to cavity B (GRY).

Is the resistance within the specified range?

9000 ohms - 11,000 ohms

Go to Step 4

Go to Step 13

4

Connect a DMM from the driver lumbar vertical position sensor cavity C (BLK) to cavity A (DK BLU).

Is the resistance within the specified range?

500 ohms - 9500 ohms

Go to Step 5

Go to Step 13

5

  1. Disconnect the memory seat module (MSM) connector C2.
  2. Connect a DMM from the driver lumbar vertical position sensor connector cavity B (GRY) to the MSM connector C2 cavity C13 (GRY).

Is the resistance less than the specified value?

5 ohms

Go to Step 6

Go to Step 14

6

Connect a DMM from the driver lumbar vertical position sensor connector cavity C (BLK) to the MSM connector C2 cavity C15 (BLK).

Is the resistance less than the specified value?

5 ohms

Go to Step 7

Go to Step 15

7

Connect a DMM from the driver lumbar vertical position sensor connector cavity A (DK BLU) to ground.

Is the resistance less than the specified value?

5 ohms

Go to Step 16

Go to Step 8

8

Connect a DMM from the driver lumbar vertical position sensor connector cavity A (DK BLU) to the lumbar massage module connector cavity K (DK BLU).

Is the resistance less than the specified value?

5 ohms

Go to Step 9

Go to Step 17

9

Connect a DMM from the MSM connector C2 cavity D4 (DK BLU) to the lumbar massage module cavity M (DK BLU).

Is the resistance less than the specified value?

5 ohms

Go to Step 22

Go to Step 18

10

  1. Disconnect the driver lumbar vertical position sensor connector.
  2. Disconnect the memory seat module (MSM) connector C2.
  3. Connect a DMM from the MSM connector C2 cavity C13 (GRY) to ground.

Is the resistance less than the specified value?

5 ohms

Go to Step 19

Go to Step 11

11

Connect a DMM from the driver lumbar vertical position sensor connector cavity B (GRY) to the MSM connector C2 cavity C13 (GRY).

Is the resistance less than the specified value?

5 ohms

Go to Step 12

Go to Step 20

12

Connect a DMM from the driver lumbar vertical position sensor connector cavity C (BLK) to the MSM connector C2 cavity C15 (BLK).

Is the resistance less than the specified value?

5 ohms

Go to Step 22

Go to Step 21

13

Replace the driver lumbar vertical position sensor. Refer to Front Seat Lumbar Support Replacement .

Is the lumbar vertical position sensor replacement complete?

--

Go to Step 23

--

14

Repair the open in CKT 788 (GRY) between S329 and the driver lumbar vertical position sensor. Refer to Wiring Repairs in Wiring Systems.

Is the circuit repair complete?

--

Go to Step 23

--

15

Repair the open in CKT 782 (BLK) between S328 and the driver lumbar vertical position sensor. Refer to Wiring Repairs in Wiring Systems.

Is the circuit repair complete?

--

Go to Step 23

--

16

Repair the short in CKT 1062 (BLK) between the lumbar vertical position sensor and the lumbar massage module. Refer to Wiring Repairs in Wiring Systems.

Is the circuit repair complete?

--

Go to Step 23

--

17

Repair the open in CKT 1062 (BLK) between the lumbar vertical position sensor and the lumbar massage module. Refer to Wiring Repairs in Wiring Systems.

Is the circuit repair complete?

--

Go to Step 23

--

18

Repair the open in CKT 1062 (DK  BLU) between the MSM and the lumbar massage module. Refer to Wiring Repairs in Wiring Systems.

Is the circuit repair complete?

--

Go to Step 23

--

19

Repair the short in CKT 788 (GRY). Refer to Wiring Repairs in Wiring Systems.

Is the circuit repair complete?

--

Go to Step 23

--

20

Repair the open in CKT 788 (GRY) between the MSM and S329. Refer to Wiring Repairs in Wiring Systems.

Is the circuit repair complete?

--

Go to Step 23

--

21

Repair the open in CKT 782 (BLK) between the MSM and the S328. Refer to Wiring Repairs in Wiring Systems.

Is the circuit repair complete?

--

Go to Step 23

--

22

Replace the memory seat module (MSM). Refer to Memory Seat Control Module Replacement .

Is the MSM replacement complete?

--

Go to Step 23

--

23

  1. Turn the ignition switch to the OFF position.
  2. Reconnect or install any connectors or components that were disconnected or removed.
  3. Turn the ignition switch to the ON position.
  4. Clear any DTCs. Refer to Diagnostic Trouble Code (DTC) Clearing .

Are all DTCs cleared?

--

Go to Diagnostic System Check - Power Seat Systems

--