GM Service Manual Online
For 1990-2009 cars only

SMU - Addition of Fog Lamp Aiming Procedure

Subject:Addition of Fog Lamp Aiming Procedure

Models:1998--2000 Cadillac Seville
2000 Cadillac DeVille



This bulletin is being issued to add the Fog Lamp Aiming Procedure to the Lighting Systems sub-section of Body & Accessories in the Service Manual.

This information has been added to SI2000. If you are using a paper version of this Service Manual, please mark a reference to this bulletin in the Service Manual.

Adjustment Procedure

Proper road illumination and safety require the fog lamps to be aimed. The front fog lamp aim should be checked when a new front fog lamp assembly is installed, or if any service repairs have been performed to the vehicle which disturb the front fog lamp mounting or the vehicle ride height. There are no horizontal adjustments for aiming the front fog lamp assemblies on this vehicle.

  1. To ensure accurate vertical front fog lamp aiming, first perform the following steps to prepare the vehicle.
  2. 1.1. Make sure all of the components are in place on the vehicle, the tires are properly inflated, and there is no mud or snow clinging to the vehicle.
    1.2. Stop all other operations of work on the vehicle.
    1.3. Make sure the fuel level is 1/2 full or more.
    1.4. Jounce the vehicle to settle the suspension.
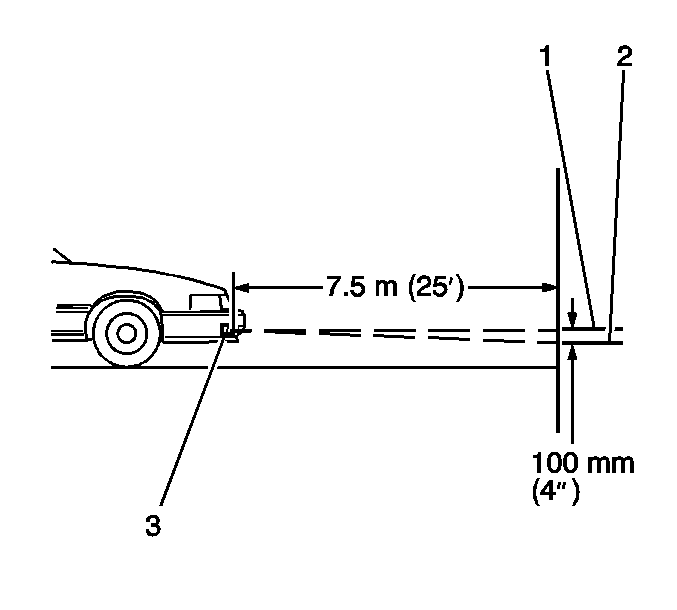
    1.5. Place the vehicle on a level surface 7.6 m (25 ft) from the target screen.
    1.6. Start the vehicle in order to level the suspension.

    Object Number: 756515  Size: SH
    1.7. Measure the distance from the floor to the center of the fog lamp (3).
    1.8. Using this measurement, mark the horizontal centerline of the fog lamp (1) on the target screen directly in front of the vehicle.
    1.9. FOR SEVILLE ONLY -- Remove the front air deflector. Refer to Air Deflector Replacement -- Front in the Body Front End sub-section of the Service Manual.
  3. Turn the front fog lamps ON.
  4. FOR DEVILLE ONLY -- Through the opening in the front air deflector below the fog lamp, use a 11 mm (7/16 in) socket on the fog lamp vertical adjuster (plastic wing nut), to adjust the fog lamp up or down.
  5. Adjust the fog lamp until the top edge of the high intensity zone on the screen is 100 mm (4 in) below the horizontal center line (2).
  6. Turn OFF the front fog lamps.
  7. FOR SEVILLE ONLY -- Install the front air deflector. Refer to Air Deflector Replacement -- Front in the Body Front End sub-section of the Service Manual.