GM Service Manual Online
For 1990-2009 cars only
Makes
🢒
Cadillac
🢒
1999
🢒
Seville
🢒 Cell 20: Park/Neutral Position Switch and VSS
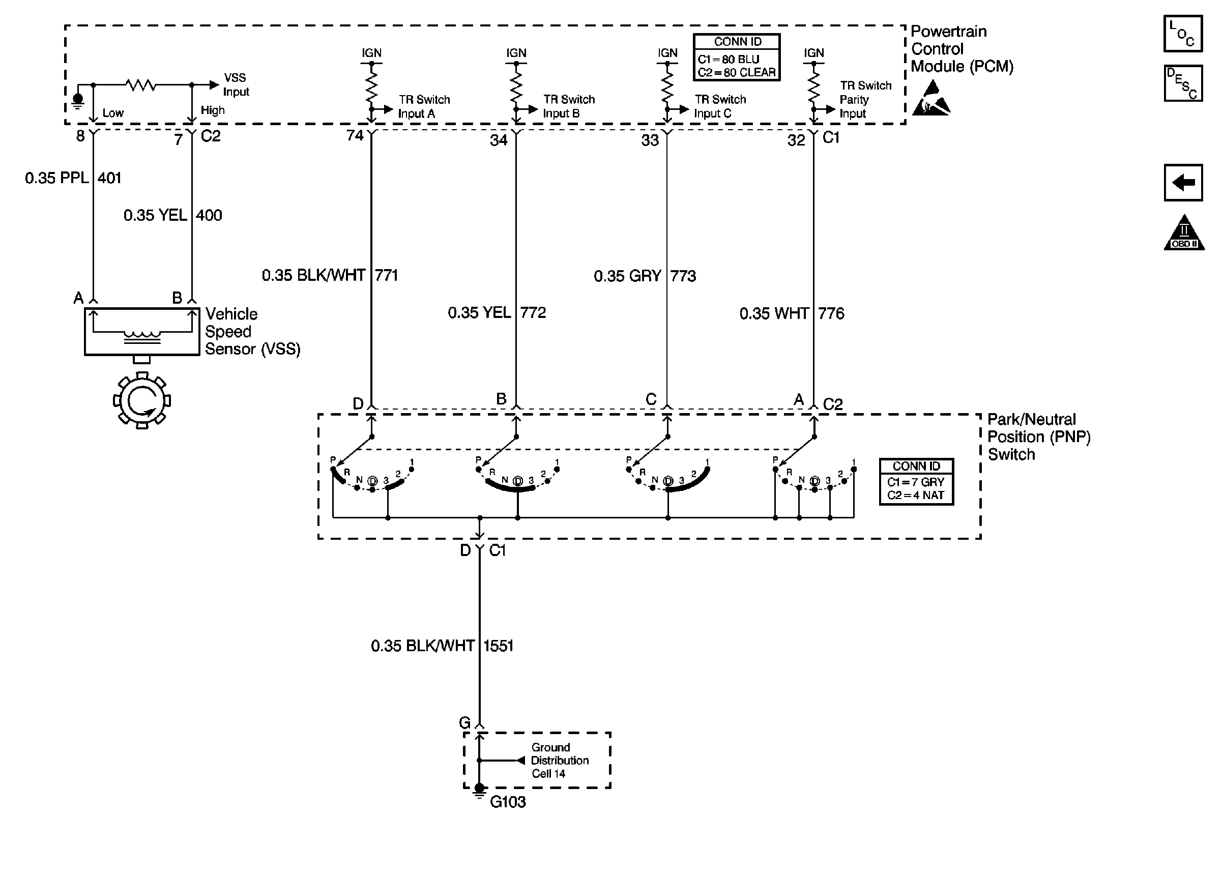
Cell 20: Park/Neutral Position Switch and VSS
Cell 20: Park/Neutral Position Switch and VSS
Engine Controls Components
Information Sensors/Switches Description
Cell 20: Transaxle Sensors and TR Switch
OBD II Symbol Description Notice
Powertrain Control Module Connector End Views
Handling ESD Sensitive Parts Notice
Engine Controls Schematic References