GM Service Manual Online
For 1990-2009 cars only
Makes
🢒
Cadillac
🢒
1999
🢒
Seville
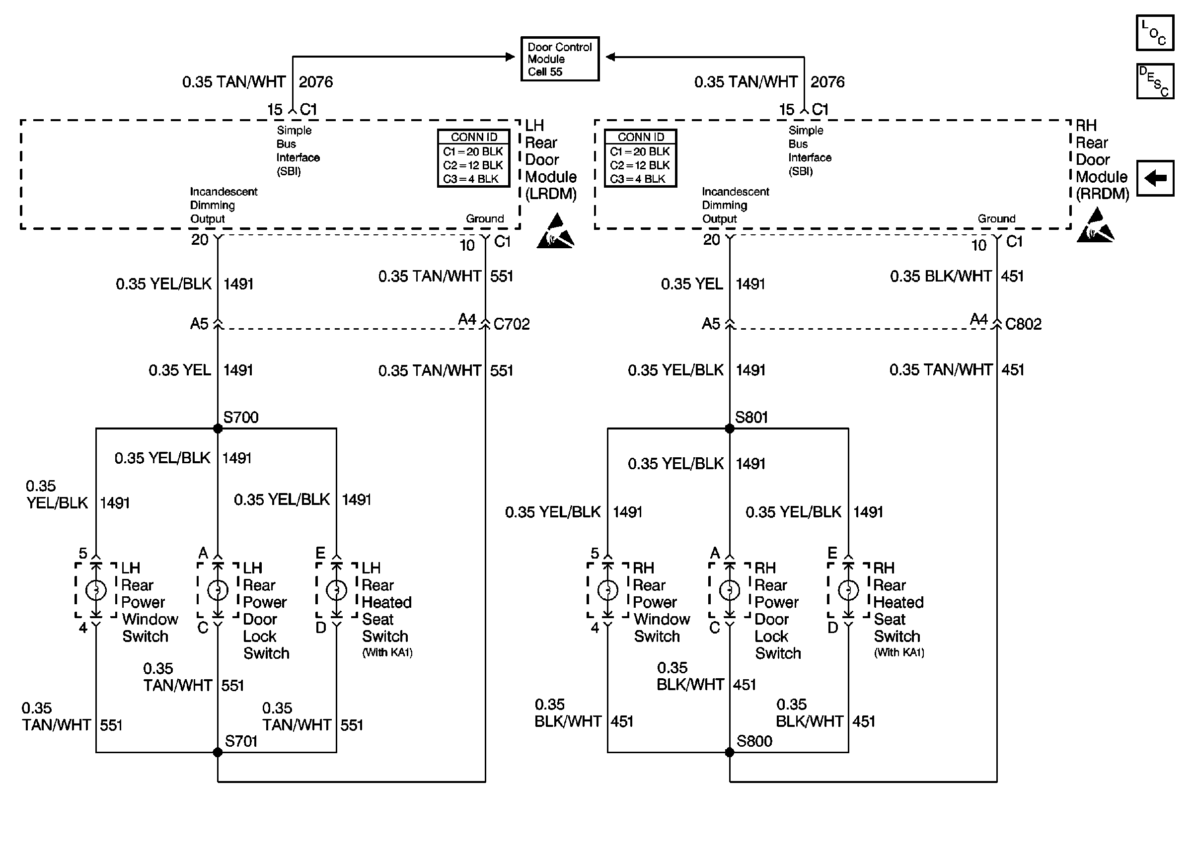
🢒 Cell 117: Rear Door Dimming
Cell 117: Rear Door Dimming
Cell 117: Rear Door Dimming
Lighting Systems Components
Interior Lights Dimming Circuit Description
Cell 117: Front Door Dimming
Handling ESD Sensitive Parts Notice
Handling ESD Sensitive Parts Notice
Door Control Module Schematics
Power Door Systems Connector End Views
Power Door Systems Connector End Views