GM Service Manual Online
For 1990-2009 cars only
Makes
🢒
Cadillac
🢒
1999
🢒
Seville
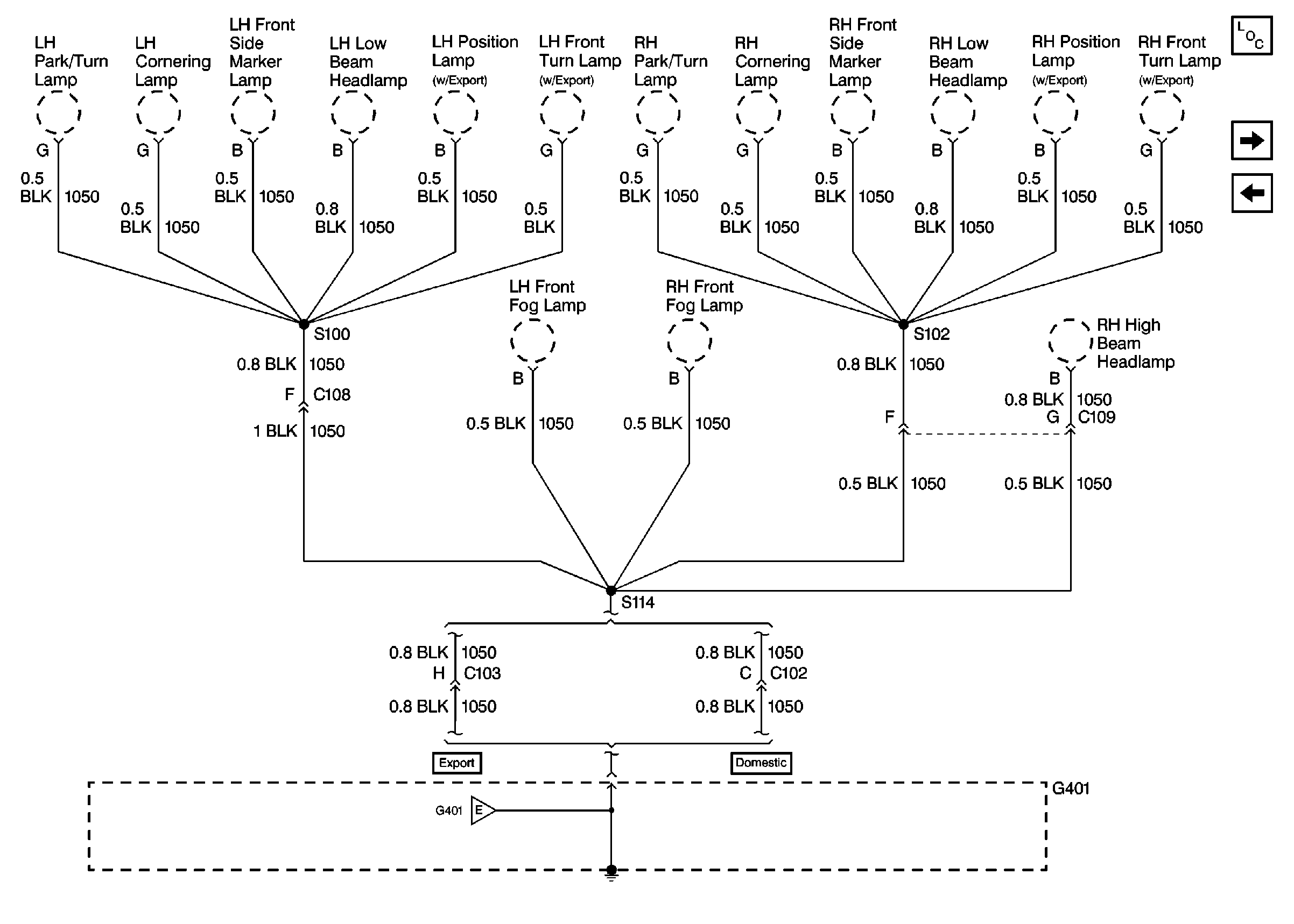
🢒 Cell 14: G401 (3 of 3)
Cell 14: G401 (3 of 3)
Cell 14: G401 (3 of 3)
Power and Grounding Components
Cell 14: G402 (1 of 2)
Cell 14: G401 (2 of 3)