GM Service Manual Online
For 1990-2009 cars only

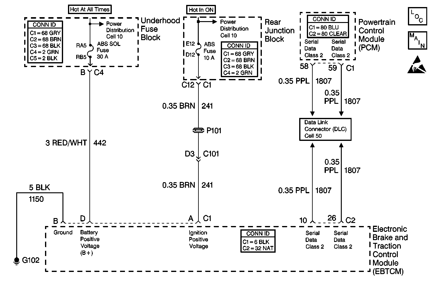
Object Number: 388764  Size: MF
ABS Components
Cell 44: PWR, GND, BPMV Pump Motor and Solenoids
Handling ESD Sensitive Parts Notice
Cell 10: Power to Underhood Fuse Block
Cell 10: IGN 3 Relay and HVAC, ABS Fuses
Cell 50: Class 2 Serial Data Line (LH Drive)

Circuit Description

The PCM monitors various parameters and will not allow traction control operation if any parameter falls outside a specified range.

Conditions for Setting the DTC

The PCM detects a malfunction and causes TCS shut down until the malfunction has been corrected.

Action Taken When the DTC Sets

    • A malfunction DTC is stored (This is a temporary malfunction).
    • TCS is disabled.
    • The TRACTION CONTROL indicator is turned ON.
    • If TCS is no longer inhibited, the TRACTION CONTROL indicator will be turned OFF, but the DTC will be stored as history.

Conditions for Clearing the DTC

    • The condition for DTC is no longer present and you used scan tool Clear DTCs function.
    • The condition for DTC is no longer present and you used the On-Board Clear DTCs function.
    • The EBTCM does not detect the DTC in 50 drive cycles.

Diagnostic Aids

This DTC is for information only. As an aid to the technician, this DTC indicates that there are no problems in the ABS/TCS system.

Step

Action

Value(s)

Yes

No

1

Did you perform the ABS Diagnostic System Check?

--

Go to Step 2

Go to Diagnostic System Check - ABS

2

  1. Turn OFF the ignition.
  2. Connect a scan tool to the data link connector (DLC).
  3. Turn ON the ignition, with the engine OFF.
  4. Use the scan tool in order to read ABS/TCS/ICCS DTCs.

Are any other DTCs set?

--

Go to Diagnostic Trouble Code (DTC) List

Go to Step 3

3

Is DTC C1278 set as a current code?

--

Go to Step 5

Go to Step 4

4

  1. Start the engine and carefully test drive the vehicle, achieving at least 16 km/h (10 mph) while monitoring the scan tool for ABS/TCS/ICCS DTCs.
  2. Repeat above drive cycle sequence 2 more times.

Did DTC C1278 set in the last three tests?

--

Go to Step 5

Go to Diagnostic System Check - ABS

5

Perform the Powertrain OBD System Check. Refer to Powertrain On Board Diagnostic (OBD) System Check in Engine Controls - 4.6L.

Did vehicle pass the OBD System Check?

--

Go to Diagnostic Aids

Go to Powertrain On Board Diagnostic (OBD) System Check in Engine Controls - 4.6L