GM Service Manual Online
For 1990-2009 cars only

Object Number: 155122  Size: MF
Engine Controls Components
Cell 20: Sensors
OBD II Symbol Description Notice
ESD Notice

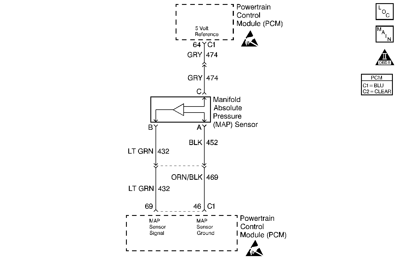
Circuit Description

The Manifold Absolute Pressure sensor is a sensor that changes resistance based upon manifold vacuum. The PCM provides a 5 volt reference and ground. The MAP sensor signal varies between ground and 5 volts as manifold vacuum varies. As MAP decreases, voltage decreases (low engine load, high vacuum). As MAP increases, voltage increases (high engine load, low vacuum). The PCM uses the MAP sensor values as an indicator of engine load. A short to ground or open condition would cause the MAP sensor signal to go low, setting DTC P0107.

Conditions for Running the DTC

    • DTCs P0122 and P0123 not set.
    • Engine speed 700 RPM or less.
    • TP sensor 18 degrees or less.

OR

    • DTCs P0122 and P0123 not set.
    • Engine speed 1800 RPM or less.
    • TP sensor 13 degrees or greater.
    • Transaxle not in PARK or NEUTRAL.

Conditions for Setting the DTC

The MAP sensor reading has been 0.08 volts or less.

Action Taken When the DTC Sets

    • PCM turns ON the SERVICE EMISSION SYSTEM message.
    • PCM disables long term fuel trim.
    • PCM uses a substitute MAP value based on engine RPM and throttle angle.
    • PCM uses 92.2 kPa for barometric pressure.
    • PCM disables Evaporative Emission (EVAP) control solenoid.
    • PCM disables torque management.
    • Transaxle shift adapts are maintained at current levels.
    •  The PCM will illuminate the Malfunction Indicator Lamp (MIL) when the diagnostic runs and fails.
    •  The PCM will record operating conditions at the time the diagnostic fails. This information will be stored in the Freeze Frame and Failure Records.

Conditions for Clearing the MIL/DTC

    •  The PCM will turn the MIL OFF after three consecutive drive trips that the diagnostic runs and does not fail.
    •  A Last Test Failed (current) DTC will clear when the diagnostic runs and does not fail.
    •  A History DTC will clear after forty consecutive warm-up cycles with no failures of any emission related diagnostic test.
    • Use a scan tool to clear DTCs.
    • Interrupting PCM battery voltage may or may not clear DTCs. This practice is not recommended. Refer to Clearing Diagnostic Trouble Codes in PCM Description and Operation.

Test Description

Number(s) below refer to the step number(s) on the Diagnostic Table.

  1. If MAP sensor or circuitry are open, the MAP sensor parameter will read 10-16 kPa.

  2. Checking if circuitry from sensor to PCM is able to respond to a 5 volt signal on MAP input. A reading of 103-105 means wiring and PCM are OK.

Step

Action

Value(s)

Yes

No

1

Did you perform the Powertrain On-Board Diagnostic (OBD) System Check?

--

Go to Step 2

Go to Powertrain On Board Diagnostic (OBD) System Check

2

  1. Turn the key ON.
  2. Using a scan tool view the MAP display.

Is the value displayed the same or less than the value specified?

17 kPa

Go to Step 3

Fault not present. Go to DTC P0106 Manifold Absolute Pressure (MAP) System Performance

3

  1. Turn the key to LOCK.
  2. Disconnect the MAP sensor.
  3. Jumper terminals C to B (harness side).
  4. Turn the key ON.

Is the value displayed higher than the value specified?

102 kPa

Go to Step 14

Go to Step 4

4

  1. Remove the jumper.
  2. Using DMM measure the voltage to ground at terminal C (harness side).

Is the voltage the same or higher than the voltage specified?

4.5 volts

Go to Step 5

Go to Step 7

5

  1. Record the fluid life indexes, turn the key to LOCK and wait 30 seconds.
  2. Disconnect PCM connector C1.
  3. Measure the resistance between PCM connector C1 terminal 69 and ground.

Is the resistance less than the value specified?

OL

Go to Step 10

Go to Step 6

6

Measure the resistance between PCM connector C1 terminal 69 and MAP sensor connector terminal B (harness side).

Is the resistance more than the value specified?

5 ohms

Go to Step 11

Go to Step 16

7

  1. View the TP Sensor display.
  2. Depress the accelerator pedal slightly.

Is the voltage higher than the value specified?

0.1 volts

Go to Step 8

Go to Step 9

8

  1. Record the fluid life indexes, turn the key to LOCK and wait 30 seconds.
  2. Disconnect PCM connector C1.
  3. Using DMM measure the resistance between PCM connector C1 terminal 64 and MAP sensor terminal C.

Is the resistance more than the value specified?

5 ohms

Go to Step 12

Go to Step 16

9

  1. Record the fluid life indexes, turn the key to LOCK and wait 30 seconds.
  2. Disconnect PCM connector C1.
  3. Disconnect the TP sensor.
  4. Measure the resistance to ground at PCM connector C1 terminals 63 and 64.

Is the resistance less than the value specified?

10K ohms

Go to Step 13

Go to Step 16

10

Repair the short to ground in the MAP Sensor Signal circuit.

Is the repair complete?

--

Go to Powertrain Control Module Diagnosis

--

11

Repair the open in the MAP Sensor Signal circuit.

Is the repair complete?

--

Go to Powertrain Control Module Diagnosis

--

12

Repair the open in the 5 volt reference circuit.

Is the repair complete?

--

Go to Powertrain Control Module Diagnosis

--

13

Repair short to ground in CKTs with low resistance.

Is the repair complete?

--

Go to Powertrain Control Module Diagnosis

--

14

  1. Check terminal contact at the MAP sensor.
  2. Repair terminal contact if needed.

Was terminal contact repaired?

--

Go to Powertrain Control Module Diagnosis

Go to Step 15

15

Replace the MAP sensor. Refer to Manifold Absolute Pressure Sensor Replacement .

Is the replacement complete?

--

Go to Powertrain Control Module Diagnosis

--

16

  1. Check terminal contact at the PCM Connector C1 terminals 46, 64 and 69.
  2. Repair terminal contact if needed.

Was terminal contact repaired?

--

Go to Powertrain Control Module Diagnosis

Go to Step 17

17

Replace the PCM. Refer to Powertrain Control Module Replacement .

Is the replacement complete?

--

Go to Powertrain Control Module Diagnosis

--