GM Service Manual Online
For 1990-2009 cars only

Object Number: 259750  Size: MF
Radio/Audio System Circuit Description
Cell 150: Power and Ground (w/UX8)
Cell 150: Power and Ground (w/UX9)
Handling ESD Sensitive Parts Notice
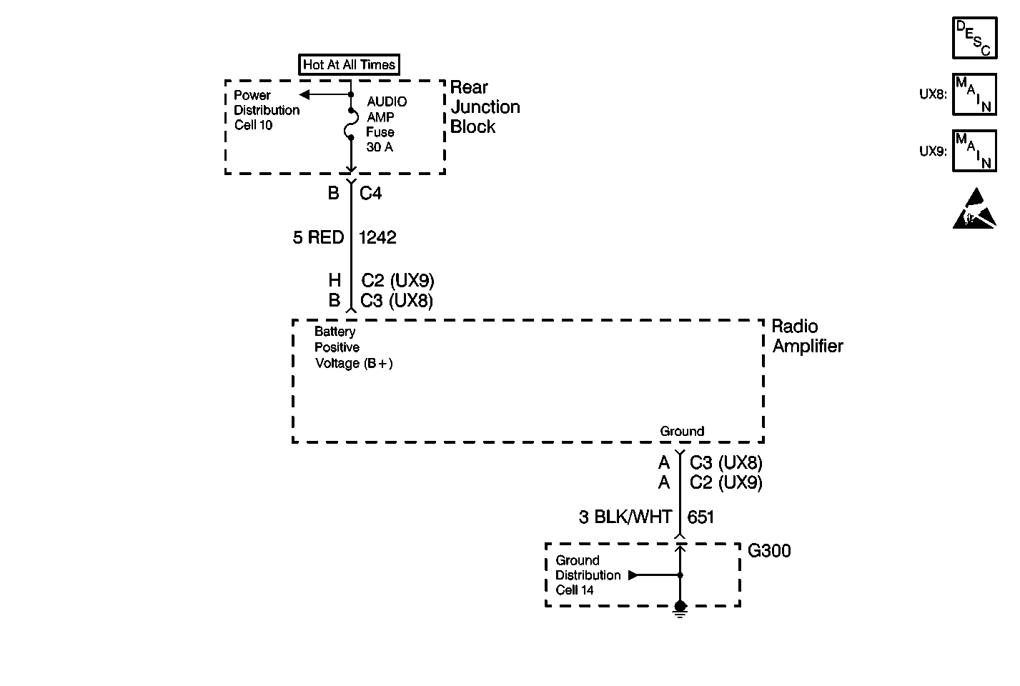
Cell 10: AUDIO, AUDIO AMP and DIM Fuses
Cell 14: G300

Circuit Description

Battery positive voltage (B+) is supplied to the radio amplifier on CKT 1242 (RED). The radio amplifier monitors this voltage to determine if it is within a valid operating range.

Conditions for Setting the DTC

The battery positive voltage (B+) level rises above 15.5 volts for more than approximately 1.2 seconds.

Action Taken When the DTC Sets

    • The radio amplifier stores DTC B1328 in memory.
    • The radio amplifier does not respond to inputs when the voltage is greater than 16 volts
    • No driver warning message are displayed for this DTC.
    • Other radio amplifier DTCs do not set while DTC B1328 is current.

Conditions for Clearing the DTC

The battery positive voltage (B+) level falls below 15 volts for approximately 1.2 seconds.

Diagnostic Aids

This DTC may set when the vehicle is placed on a battery charger, on fast or boost charge, for a long period of time.

Test Description

The numbers below refer to the step numbers on the diagnostic table:

  1. Perform the Radio/Audio System Diagnostic System Check before continuing with the diagnosis of this DTC.

  2. Checks that DTC was not set erroneously.

  3. Determines whether the malfunction is in the charging system or the radio amplifier.

  4. Clear all DTCs after the repair procedure is complete.

DTC B1328 -- Source/Battery Voltage High

Step

Action

Value(s)

Yes

No

1

Was the Radio/Audio System Diagnostic System Check performed?

--

Go to Step 2

Go to Diagnostic System Check - Radio/Audio System

2

  1. Turn the ignition switch to ON, engine running.
  2. Connect a scan tool to the data link connector (DLC).
  3. Select data from the radio amplifier (AMP) data list.

Is the battery positive voltage (B+) less than the specified value?

15.5 V

Go to Step 4

Go to Step 3

3

  1. Turn the ignition switch to OFF.
  2. Disconnect the radio amplifier connectors.
  3. (UX8) Measure the voltage between radio amplifier connector C3 terminal B and ground.
  4. (UX9) Measure the voltage between radio amplifier connector C2 terminal H and ground.

Is the voltage greater than the specified value?

15.5 V

Go to Charging System Check in Engine Electrical

Go to Step 4

4

Replace radio amplifier. Refer to Radio Speaker Amplifier Replacement .

Is the repair complete?

--

Go to Step 5

--

5

  1. Turn the ignition switch to OFF.
  2. Reconnect or install any connectors or components that were disconnected or removed.
  3. Turn the ignition switch to ON.
  4. Clear any DTCs.

Are all DTCs cleared?

--

Go to Diagnostic System Check - Radio/Audio System

--