GM Service Manual Online
For 1990-2009 cars only

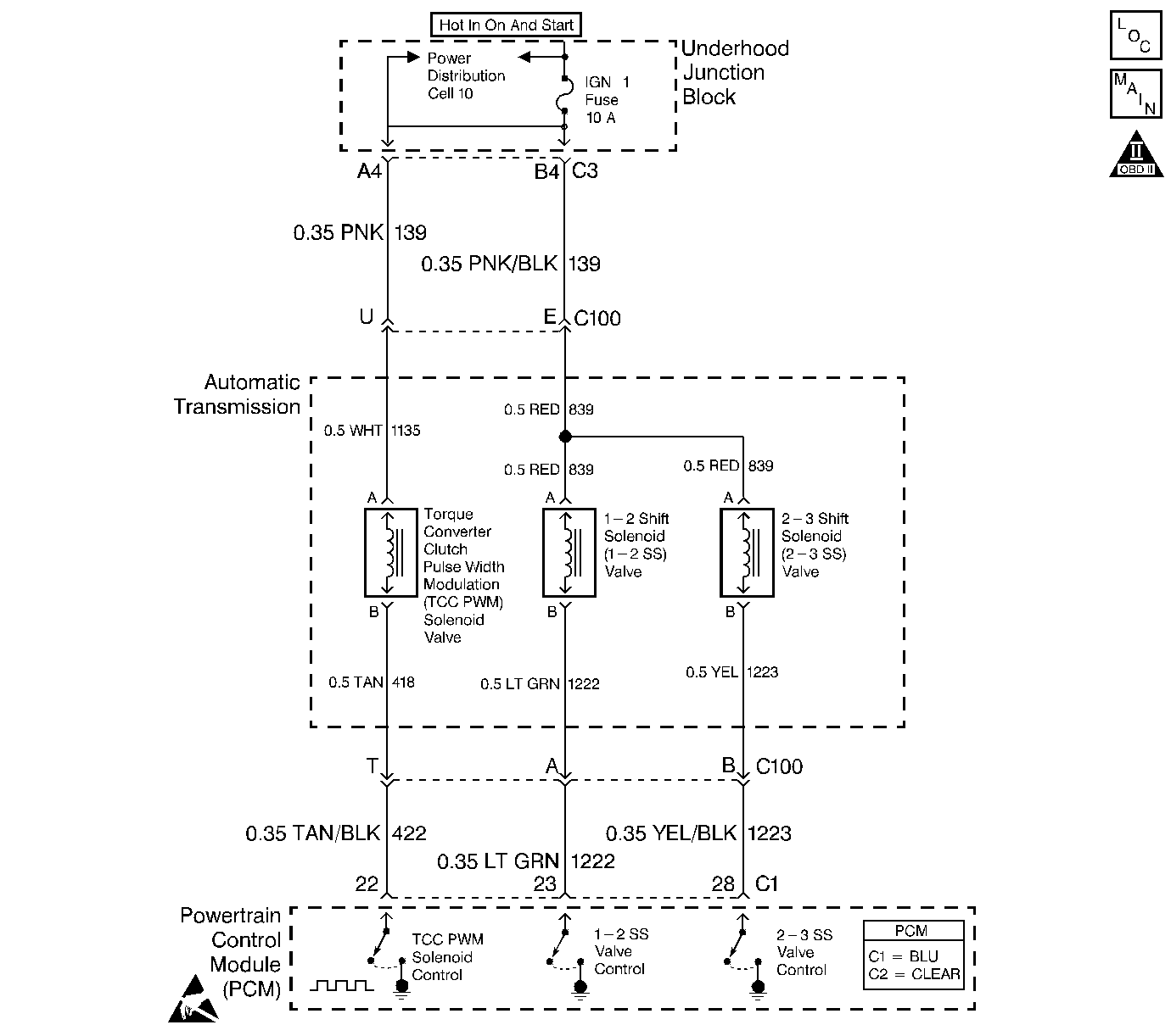
Object Number: 367490  Size: LF
Automatic Transmission Components
Automatic Transmission Controls Schematics
Handling ESD Sensitive Parts Notice
OBD II Symbol Description Notice

Circuit Description

Ignition voltage is provided to the torque converter clutch pulse width modulation (TCC PWM) solenoid valve . The PCM controls the ON and OFF time of the solenoid by providing a ground through the output driver module (ODM) B. The PCM uses a PWM duty cycle, in order to control application and release of the TCC. When the solenoid is commanded OFF, the PCM senses high volts. When the solenoid is commanded ON, the PCM senses low volts.

If the PCM detects voltage limits that do not meet the calibration, then DTC P1860 sets. DTC P1860 is a Type A DTC.

Conditions for Running the DTC

    • No ODM DTC P1650.
    • The engine run time is greater than 5 seconds.
    • The TCC PWM solenoid valve duty cycle is less than 10% or greater than 85%.

Conditions for Setting the DTC

The PCM detects an open, a short to ground, or a short to power on the TCC PWM solenoid valve circuit within 5 seconds.

Action Taken When the DTC Sets

    • The PCM illuminates the malfunction indicator lamp (MIL).
    • SERVICE ENGINE SOON, SERVICE TRANSMISSION displays on the driver information center (DIC).
    • The PCM inhibits TCC engagement.
    • The PCM inhibits 4th gear when the transmission is in hot mode.
    • The PCM stores DTC P1860 in PCM history.

Conditions for Clearing the MIL/DTC

    • The PCM turns OFF the MIL during the third consecutive trip in which the diagnostic test runs and passes.
    • A scan tool clears the DTC from PCM history.
    • The PCM clears the DTC from PCM history if the vehicle completes 40 warm-up cycles without an emission-related diagnostic fault occurring.
    • The PCM cancels the DTC default actions when the fault no longer exists and the ignition switch is OFF long enough in order to power down the PCM.

Diagnostic Aids

    • Inspect the wiring at the PCM, the transmission 20-way connector, the TCC PWM solenoid valve 2-way connector, and all other circuit connecting points for the following conditions:
       - A backed out terminal
       - A damaged terminal
       - Reduced terminal tension
       - A chafed wire
       - A broken wire inside the insulation
       - Moisture intrusion
    • Ensure that the transmission fluid is at the proper level.
    • When diagnosing for an intermittent short or open, massage the wiring harness while watching the test equipment for a change.

Test Description

The numbers below refer to the step numbers on the diagnostic table.

  1. This step verifies power to terminal U of the engine wiring harness. If the test lamp lights, inspect circuit 422 for a short to ground.

  2. This step uses the scan tool in order to cycle the TCC PWM solenoid valve ON and OFF.

  3. This step verifies that the TCC PWM solenoid valve is within resistance specifications.

DTC P1860 TCC PWM Solenoid Circuit Electrical

Step

Action

Value(s)

Yes

No

1

Was the Powertrain On-Board Diagnostic (OBD) System Check performed?

--

Go to Step 2

Go to Powertrain On Board Diagnostic (OBD) System Check

2

  1. Install the Scan Tool .
  2. Turn the ignition switch to the RUN position.
  3. Important: Before clearing the DTCs, use the scan tool in order to record the Freeze Frame and Failure Records. Using the Clear Info function erases the Freeze Frame and Failure Records from the PCM.

  4. Record the Freeze Frame and Failure Records.
  5. Clear the DTCs.

Is DTC P0753 or P0758 set?

--

Go to Step 3

Go to Step 7

3

  1. Remove the IGN 1 fuse.
  2. Inspect the fuse for an open.

Refer to Wiring Repairs in Wiring Systems.

Was the condition found?

--

Go to Step 4

Go to Step 6

4

Important: The condition that affects this circuit may exist in other connecting branches of the circuit. Refer to Power Distribution Schematics in Wiring Systems, for complete circuit distribution.

Inspect circuit 139 of the engine wiring harness for a short to ground. Refer to General Electrical Diagnosis in Wiring Systems.

Was the condition found?

--

Go to Step 18

Go to Step 5

5

  1. Inspect circuit 839 of the automatic transmission wiring harness for a short to ground.
  2. Inspect circuit 1135 of the automatic transmission wiring harness for a short to ground.

Refer to General Electrical Diagnosis in Wiring Systems.

Was a condition found?

--

Go to Step 19

--

6

Important: The condition that affects this circuit may exist in other connecting branches of the circuit. Refer to Power Distribution Schematics in Wiring Systems, for complete circuit distribution.

Inspect circuit 139 of the engine wiring harness for an open. Refer to General Electrical Diagnosis in Wiring Systems.

Was the condition found?

--

Go to Step 18

--

7

  1. Turn the ignition switch OFF.
  2. Disconnect the transmission 20-way connector.
  3. Install the J 39775 jumper harness to the engine side of the 20-way connector.
  4. Using the J 35616-A connector test adapter kit, connect a test lamp from terminal U to terminal T.
  5. Turn the ignition switch to the RUN position.

Is the test lamp ON?

--

Go to Step 8

Go to Step 9

8

Inspect circuit 422 of the engine wiring harness for a short to ground. Refer to General Electrical Diagnosis in Wiring Systems.

Was the condition found?

--

Go to Step 18

Go to Step 21

9

Using the scan tool, cycle the TCC PWM solenoid valve ON and OFF three times (the test lamp should pulse).

Does the test lamp cycle ON and OFF as commanded?

--

Go to Step 13

Go to Step 10

10

Is the test lamp always OFF?

--

Go to Step 11

Go to Step 12

11

Inspect circuit 422 and circuit 839 of the engine wiring harness for an open. Refer to General Electrical Diagnosis in Wiring Systems.

Was the condition found?

--

Go to Step 18

Go to Step 21

12

Inspect circuit 422 of the engine wiring harness for a short to power. Refer to General Electrical Diagnosis in Wiring Systems.

Was the condition found?

--

Go to Step 18

Go to Step 21

13

  1. Turn the ignition switch OFF.
  2. Disconnect the J 39775 from the engine side of the 20-way connector.
  3. Install the J 39775 to the transmission side of the 20-way connector.
  4. Using the J 35616-A , connect the J 39200 digital multimeter (DMM) from terminal U to terminal T and measure the resistance.

Is the resistance value within the specified range?

10-15 ohms

Go to Step 16

Go to Step 14

14

Is the resistance greater than the specified value?

15 ohms

Go to Step 15

Go to Step 16

15

  1. Inspect circuit 1135 of the automatic transmission wiring harness for an open.
  2. Inspect circuit 418 of the automatic transmission wiring harness for an open.

Refer to General Electrical Diagnosis in Wiring Systems.

Was a condition found?

--

Go to Step 19

Go to Step 20

16

Measure the resistance from terminal T to the transmission case.

Is the resistance less than the specified value?

100 ohms

Go to Step 17

Go to Diagnostic Aids

17

Inspect circuit 418 of the automatic transmission wiring harness for a short to ground.

Refer to General Electrical Diagnosis in Wiring Systems.

Was the condition found?

--

Go to Step 19

Go to Step 20

18

Repair the wiring as necessary.

Refer to Wiring Repairs in Wiring Systems.

Is the repair complete?

--

Go to Step 22

--

19

Replace the automatic transmission wiring harness.

Refer to Unit Repair.

Is the replacement complete?

--

Go to Step 22

--

20

Replace the TCC PWM solenoid valve.

Refer to Unit Repair.

Is the replacement complete?

--

Go to Step 22

--

21

Replace the PCM.

Refer to Powertrain Control Module Replacement in Engine Controls.

Is the replacement complete?

--

Go to Step 22

--

22

Perform the following procedure in order to verify the repair:

  1. Select DTC.
  2. Select Clear Info.
  3. Operate the vehicle under the following conditions:
  4. 3.1. Road test the vehicle with the gear select lever in D4.
    3.2. Increase the vehicle speed until TCC turns ON.
    3.3. Ensure that the TCC duty cycle is 10-85% for more than 5 seconds.
  5. Select Specific DTC. Enter DTC P1860.

Has the test run and passed?

--

System OK

Go to Step 1