GM Service Manual Online
For 1990-2009 cars only

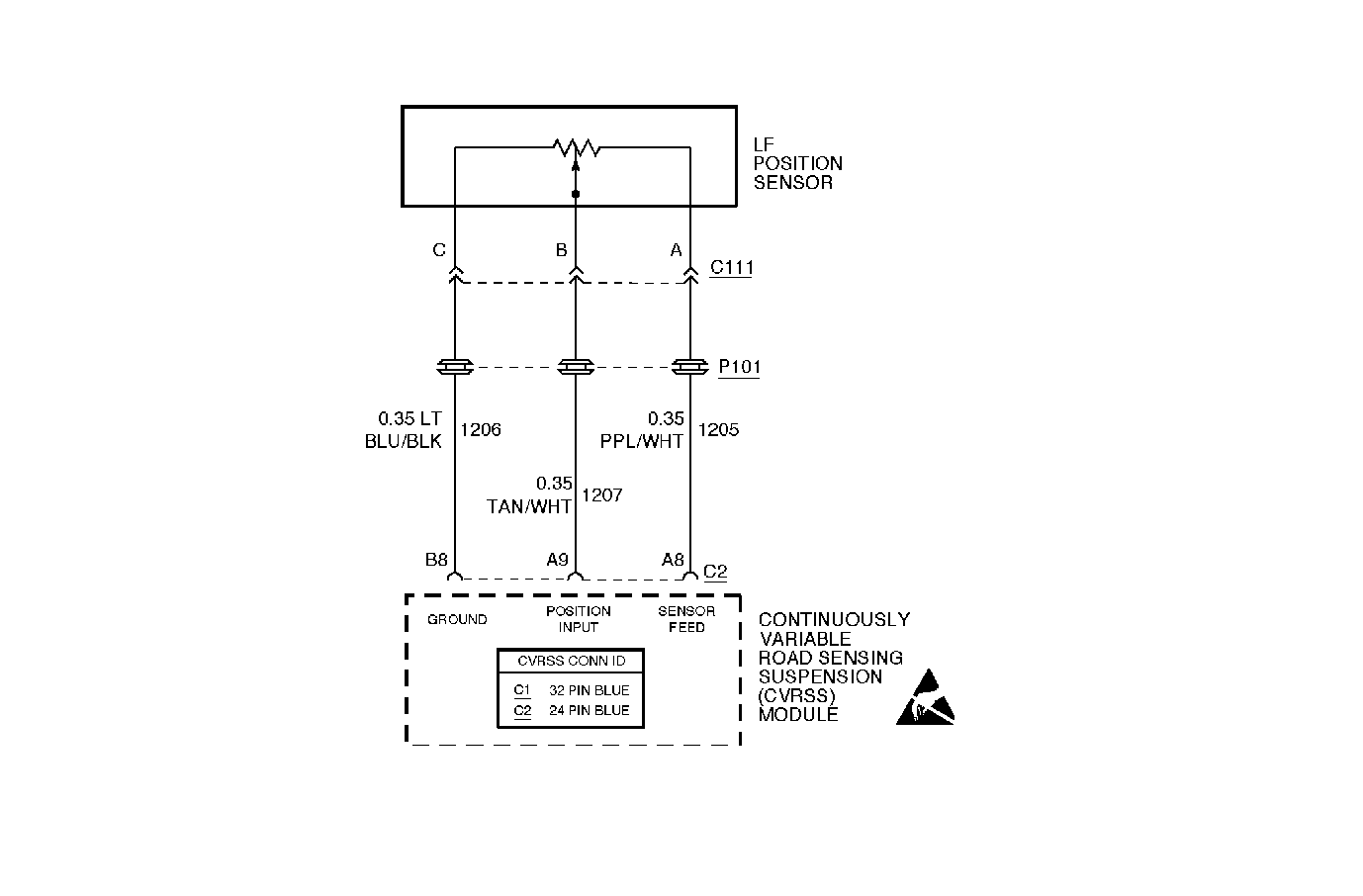
Circuit Description


Object Number: 305480  Size: MF

The CVRSS position sensor provides an analog voltage (0-5 volts) to the CVRSS module which represents the position between the body and the wheel. The CVRSS module provides the sensor with a 5.0 volt supply. The sensor is also grounded through the CVRSS module.

Conditions for Setting the DTC

The DTC is set when the CVRSS module measures the position sensor signal voltage below 0.35 volts or above 4.75 volts for more than 1.0 second.

The DTC turns HISTORY when the CVRSS module senses voltage in the normal range (0.35-4.75 volts) for more than 1.0 second.

Action Taken When the DTC Sets

    • The CVRSS will enter the Speed Dependent damping mode.
    • Both ICCS2 Datalink Outputs will be set to the default output states.
    • The SERVICE RIDE CONTROL message will be displayed.

Conditions for Clearing the MIL/DTC

    • Use the scan tool.
    • Use the On-Board diagnostic CLEAR RSS CODES feature.

Diagnostic Aids

This fault condition may be set due to the CVRSS position sensor supply over-current fault. If this is the case, the position sensor supply over-current fault (C1768) must be diagnosed first.

Test Description

Important: 

   • Do not backprobe the sensors, actuators, or any sealed connectors.
   • When all the diagnostics and repairs are complete, clear the DTCs and verify the operation.

The number(s) below refer to the step number(s) on the diagnostic table.

  1. This step checks to see if the sensor supply line is faulted.

  2. This step checks for mechanical problems.

  3. This step checks for a low voltage fault condition.

  4. This step checks for an open circuit condition in the supply line or signal line.

  5. This step checks for a short circuit condition between the sensor ground and the signal line.

  6. This step checks for a short circuit condition between the sensor signal and chassis ground.

  7. This step checks for a high voltage fault condition.

  8. This step checks for a short to battery voltage condition on the sensor signal line.

  9. This step checks for a short circuit condition between the sensor signal line and the supply line.

  10. This step checks for an open circuit condition in the controller to ground path.

  11. This step checks for an open circuit condition in the controller to ground path.

  12. This step checks for a short circuit condition in the sensor feed circuit.

  13. This step checks for a short to battery voltage condition in the sensor feed circuit.

Step

Action

Value(s)

Yes

No

1

Was the Road Sensing Suspension Diagnostic System Check performed?

--

Go to Step 2

Go to Road Sensing Suspension Diagnostic System Check

2

Is DTC 1768 set?

--

Go to DTC C1768 Position Sensor Supply Fault

Go to Step 3

3

Check for mechanical abnormalities at the sensor (i.e. disconnected sensor link, etc).

Was a mechanical problem found?

--

Go to Step 27

Go to Step 4

4

Backprobe pin A9 and pin B8 of CVRSS control module connector C2 and measure the voltage between them.

Is the voltage greater than the specified value?

0.5 V

Go to Step 5

Go to Step 17

5

  1. Turn the ignition OFF.
  2. Disconnect CVRSS control module connector C2. Check for proper seating of corresponding terminals, and for debris and/or corrosion.

Is the connection good?

--

Go to Step 7

Go to Step 6

6

Repair the poor connection condition?

Is the repair complete?

--

Go to Road Sensing Suspension Diagnostic System Check

--

7

  1. Disconnect LF CVRSS Position sensor connector C111.
  2. Check for proper seating of corresponding terminals and for debris and/or corrosion.

Is the connection good?

--

Go to Step 9

Go to Step 8

8

Repair the poor connection condition.

Is the repair complete?

--

Go to Road Sensing Suspension Diagnostic System Check

--

9

  1. Disconnect CVRSS module connector C2.
  2. Measure the resistance from CVRSS module connector C2, terminal A8, to connector C111, terminal A (harness side), with a J 39200 DMM.

Is the resistance equal to or less than the specified value?

5 ohms

Go to Step 11

Go to Step 10

10

Repair the open circuit condition in CKT 1205.

Is the repair complete?

--

Go to Road Sensing Suspension Diagnostic System Check

--

11

Measure the resistance from CVRSS module connector C2, terminal A9, to connector C111, terminal B (harness side), with a DMM.

Is the resistance equal to or less than the specified value?

5 ohms

Go to Step 13

Go to Step 12

12

Repair the open circuit condition in CKT 1207.

Is the repair complete?

--

Go to Road Sensing Suspension Diagnostic System Check

--

13

Measue the resistance between CVRSS connector C2, terminal B8 and A9 (harness side) with a DMM.

Is the resistance the specified value?

OL

Go to Step 15

Go to Step 14

14

Repair the short circuit condition between CKTs 1207 and 1206.

Is the repair complete?

--

Go to Road Sensing Suspension Diagnostic System Check

--

15

Measue the resistance from CVRSS connector C2, terminal A9 (harness side), to ground with a DMM.

Is the resistance the specified value?

OL

Go to Step 29

Go to Step 16

16

Repair the short circuit to ground condition in CKT 1207.

Is the repair complete?

--

Go to Road Sensing Suspension Diagnostic System Check

--

17

Is the voltage greater than the specified value?

4.5 V

Go to Step 18

Go to Step 26

18

Is the voltage greater than the specified value?

10 V

Go to Step 25

Go to Step 19

19

  1. Turn the ignition OFF.
  2. Disconnect CVRSS control module connector C2.
  3. Disconnect LF CVRSS Position sensor connector C111.
  4. Measue the resistance between CVRSS connector C2, terminal B8 and A9 (harness side) with a DMM.

Is the resistance the specified value?

OL

Go to Step 21

Go to Step 20

20

Repair the short circuit condition between CKTs 1205 and 1207.

Is the repair complete?

--

Go to Road Sensing Suspension Diagnostic System Check

--

21

Measure the resistance from CVRSS module connector C2, terminal B8, and to connector C111, terminal C (harness side), with a DMM.

Is the resistance equal to or less than the specified value?

5 ohms

Go to Step 22

Go to Step 31

22

Repair the open circuit condition in CKT 1206.

Is the repair complete?

--

Go to Road Sensing Suspension Diagnostic System Check

--

23

  1. Connect the CVRSS control module connector.
  2. Backprobe pin B8 of CVRSS control module connector C2, and check for continuity to ground.

Is there continuity?

--

Go to Step 24

Go to Step 26

24

Replace the LF CVRSS position sensor. Refer to Electronic Suspension Front Position Sensor Replacement .

Is the replacement complete?

--

Go to Road Sensing Suspension Diagnostic System Check

--

25

Repair the short to voltage circuit condition in CKT 1207.

Is the repair complete?

--

Go to Road Sensing Suspension Diagnostic System Check

--

26

  1. Turn the ignition OFF.
  2. Replace the CVRSS control module. Refer to Electronic Suspension Control Module Replacement .
  3. Install all of the connectors and components that were removed.
  4. Turn the ignition ON with the engine off.
  5. Important: The controller must be calibrated.

  6. Calibrate the CVRSS service controller using the scan tool. Refer to Electronic Suspension Control Module Calibration

Is the CVRSS control module calibrated?

--

Go to Road Sensing Suspension Diagnostic System Check

--

27

Inspect the sensor link for a damaged or disconnected condition.

Is the sensor link damaged or disconnected?

--

Go to Step 28

Go to Step 24

28

Replace or reconnect the sensor link. Refer to Electronic Suspension Front Position Sensor Replacement .

Is the replacement or reconnection complete?

--

Go to Road Sensing Suspension Diagnostic System Check

--

29

Measue the resistance from CVRSS connector C2, terminal A8 (harness side), to ground with a DMM.

Is the resistance the specified value?

OL

Go to Step 24

Go to Step 30

30

Repair the short circuit to ground condition in CKT 1205.

Is the repair complete?

--

Go to Road Sensing Suspension Diagnostic System Check

--

31

  1. Turn the ignition ON.
  2. Measure the voltage from CVRS module connector C2, terminal A8, to ground with a DMM.

Is the voltage greater than the specified value?

10 V

Go to Step 32

Go to Step 23

32

Repair the short circuit to voltage condition in CKT 1205.

Is the repair complete?

--

Go to Road Sensing Suspension Diagnostic System Check

--