GM Service Manual Online
For 1990-2009 cars only

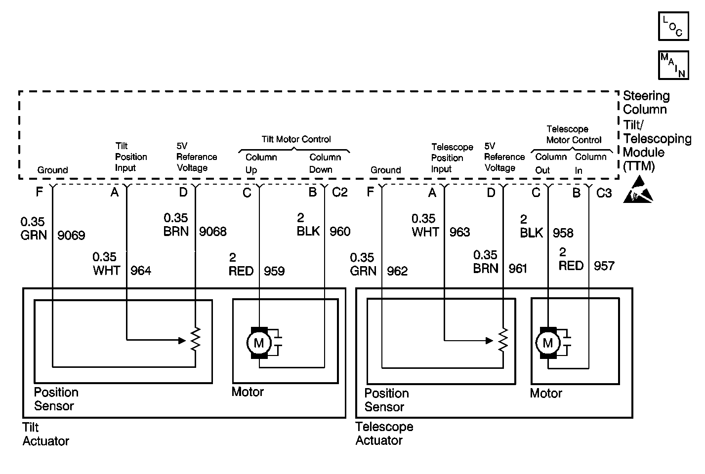
Object Number: 106565  Size: MF
Tilt Wheel/Column Components
Cell 46
Handling ESD Sensitive Parts Notice

Circuit Description

The steering column tilt/telescoping module (TTM) monitors the tilt and telescope motors for excessive current.

Conditions for Setting the DTC

The TTM sets DTC B2891 any time it detects the motor current is out-of-range.

Action Taken When the DTC Sets

When DTC B2891 is set as current, the steering column tilt/telescoping module (TTM) enables the affected motor for manual and memory recall positioning. A reoccurrence of the over current condition causes the affected motor to stop.

Conditions for Clearing the DTC

    • The TTM detects that motor current is no longer present.
    • Use the On-Boards clearing DTCs feature.
    • Use a scan tool.

Test Description

The numbers below refer to the step numbers on the diagnostic table:

  1. Perform the Tilt/Telescoping Steering Column Diagnostic System Check before continuing with the diagnosis of this DTC.

  2. Determines if the tilt motor runs.

  3. Determines if the telescope motor runs.

DTC B2891 -- Tilt & Telescope Motor Failure

Step

Action

Value(s)

Yes

No

1

Was the Tilt/Telescoping Steering Column Diagnostic System Check performed?

--

Go to Step 2

Go to Tilt/Telescoping Steering Column Diagnostic System Check

2

  1. Turn the ignition switch OFF.
  2. Disconnect the steering column tilt/telescoping module connector C2.
  3. Connect a fused jumper between TTM connector C2, terminal C (RED) and battery positive (B+).
  4. Connect a fused jumper between TTM connector C2, terminal B (BLK) and ground.

Refer to Using Fused Jumper Wires in Wiring Systems.

Does the motor run?

--

Go to Step 4

Go to Step 3

3

Replace the tilt actuator. Refer to Tilt Actuator Assembly Replacement - On Vehicle .

Is the replacement complete?

--

Go to Step 7

--

4

  1. Disconnect the TTM connector C3.
  2. Connect a fused jumper between TTM connector C3, terminal C (RED) and battery positive (B+).
  3. Connect a fused jumper between TTM connector C3, terminal B (BLK) and ground

Refer to Using Fused Jumper Wires in Wiring Systems.

Does the telescope motor run?

--

Go to Step 6

Go to Step 5

5

Replace the telescope actuator. Refer to Telescope Actuator Assembly Replacement - On Vehicle .

Is the replacement complete?

--

Go to Step 7

--

6

  1. Check the steering column tilt/telescoping module connector C2 for poor terminal contact. Refer to Intermittents and Poor Connections Diagnosis in Wiring Systems.
  2. If OK, replace the steering wheel control switch assembly. Refer to Steering Wheel Control Switch Assembly Replacement .

Is the replacement complete?

--

Go to Step 7

--

7

  1. Turn OFF the ignition switch.
  2. Reconnect or install any connectors or components that were disconnected or removed.
  3. Turn ON the ignition switch.
  4. Clear any DTCs.
  5. Repeat the Diagnostic System Check. Refer to Tilt/Telescoping Steering Column Diagnostic System Check .

Is the Diagnostic System Check complete?

--

System OK

--